Запчасти Case IH 2670 (424) - COCKPIT (09) - CHASSIS/ATTACHMENTS

Схема запчастей Case IH 2670 - (424) - COCKPIT (09) - CHASSIS/ATTACHMENTS
2
5
17
10
7
19
14
18
13
15
6
3
8
19
4
2
12
9
5
6
11
4
16
FIT
1:1
100%

Артикул

Название

Примечание

Количество

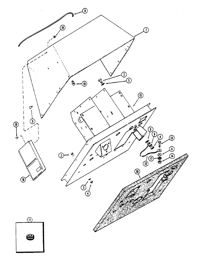
2

13-616

BOLT,Hex, 3/8" - 16 x 1", Gr 5, Full Thd

Cockpit to cab Hex, 3/8"-16 x 1", G5, Full Thd

10шт.

3

92-6

LOCK WASHER,3/8"

9шт.

4

25-106

NUT,3/8"-16, G5

- 3/8" N.C. hex

8шт.

5

193-72

LOCK WASHER

- 3/8" int./ext. teeth (Used with ground strap, center bolt, L.H. side)

2шт.

6

195-104

WASHER,3/8"

- 7/16 x 1 x 1/16"

2шт.

7

A141969

GUARD

COWLING - cockpit (Includes pads) (Replaces A75389)

1шт.

8

A76234

ROPE

CORD - cockpit cowling

1шт.

9

A75390

STUD

- cowling

10шт.

10

A36042

CLIP

RECEPTACLE - clip-on

10шт.

11

A75993

GROMMET,1/2" ID x 1 3/4" Groove Dia, Str Cut

- shift cable and throttle cable

2шт.

12

A64704

STRAP

- grounding (L.H. center bolt on firewall to front bolt on L.H. hood support)

1шт.

13

113-2400

BOLT,Hex, 1/2" - 13 x 1-3/8", Gr 5, Full Thd

1шт.

14

129-105

NUT,Hex, 1/2" - 13, Gr 5

1шт.

15

A77206

SUPPORT ASSY. - cockpit, Includes: Ref. 16

1шт.

16

A77207

PAD

- cockpit support

1шт.

17

193-87

LOCK WASHER,Ext-Int Tooth, 1/2"

WASHER, LOCK, Ext-Int Tooth, 1/2"

1шт.

18

A141933

BOX

- operator's manual

1шт.

19

A143300

FASTENER

- speed clinch

3шт.

Выбрано товаров: 18