Запчасти Case IH 2670 (480) - CAB, FLOOR MATS, USED BEFORE CAB SERIAL NUMBER 7864002 (09) - CHASSIS/ATTACHMENTS

Схема запчастей Case IH 2670 - (480) - CAB, FLOOR MATS, USED BEFORE CAB SERIAL NUMBER 7864002 (09) - CHASSIS/ATTACHMENTS
5
2
8
8
9
5
6
9
1
3
4
7
7
FIT
1:1
100%

Артикул

Название

Примечание

Количество

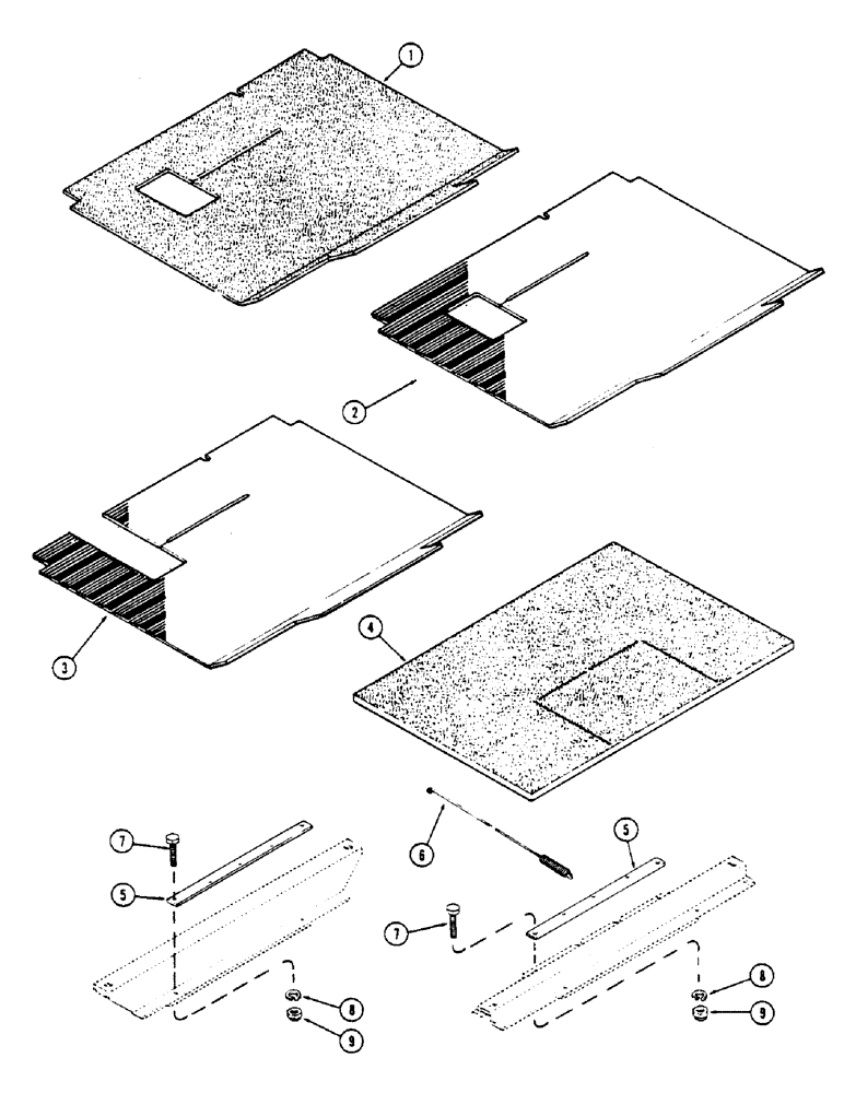
1

F63570

FLOOR MAT

MAT - floor (Used before trac. ser. no. 8768068) (Order A137486)

1шт.

2

A137486

MAT

- floor (Used trac. ser. no. 8768068 thru 8792900)

1шт.

3

A139932

MAT

- floor (1st used trac. ser. no. 8792901)

1шт.

4

A141774

MAT

- trans. cover (Under cab) (Replaces A76183)

1шт.

5

A76182

STRAP

- spring support

2шт.

6

A76184

SPRING

- mat support

3шт.

7

113-604

BOLT,Hex, 5/8" - 11 x 2", Gr 5

4шт.

8

192-215

LOCK WASHER,5/8"

5/8"

4шт.

9

129-567

NUT

- 5/8" N.C. hex

4шт.

Выбрано товаров: 9