Запчасти Case IH 2670 (030) - EXHAUST MANIFOLD AND MUFFLER, 504BDT INTERCOOLED DIESEL ENGINE (02) - ENGINE

Схема запчастей Case IH 2670 - (030) - EXHAUST MANIFOLD AND MUFFLER, 504BDT INTERCOOLED DIESEL ENGINE (02) - ENGINE
23
9
42
37
31
29
38
10
41
28
4
13
30
40
27
32
34
16
22
3
43
11
2
12
35
21
14
36
24
2
1
6
33
5
26
25
15
20
FIT
1:1
100%

Артикул

Название

Примечание

Количество

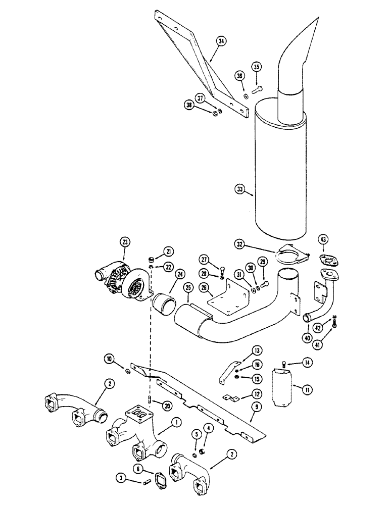
1

A76322

MANIFOLD

- exhaust, center

1шт.

2

A65917

MANIFOLD

- exhaust, ends

2шт.

3

A140924

STUD

- 3/8" - 16 N.C. x 2 - 5/8" (Replaces A35175)

12шт.

4

131-903

NUT,3/8"-16

NUT - (3/8" N.C. hex. Seez-Pruf)

12шт.

5

92-6

LOCK WASHER,3/8"

12шт.

6

A58666

MANIFOLD GASKET

- exhaust manifold

12шт.

9

A76351

GUARD

SHIELD - heat exhaust

1шт.

10

195-25

WASHER,3/8"

- (13/32 x 12/16 x 1/16")

6шт.

11

A76188

GUARD

SHIELD - exhaust manifold

1шт.

12

A77069

SUPPORT

- lower, manifold shield

1шт.

13

A76187

SUPPORT

- upper, manifold shield

1шт.

14

113-1

BOLT,Hex, 1/4" - 20 x 1/2", Gr 5

3шт.

15

7770

NUT,Hex, 1/4 - 20, Cl 5

1/4"-20, G5

3шт.

16

192-19

LOCK WASHER,Helical Spring, 0.256" ID, CST, ZND

WASHER, LOCK, 1/4"

3шт.

20

G102128

BOLT

- turbo to manifold (3/8" N.C. x 1-1/2") (Replaces G11204)

4шт.

21

131-903

NUT,3/8"-16

NUT - (3/8" N.C. hex Seez-Pruf)

4шт.

22

92-6

LOCK WASHER,3/8"

4шт.

23

REF

INSTRUCTION

TURBO-CHARGER - (See page 18)

1шт.

24

A65554

TUBE

CONNECTOR - turbo-charger to exhaust pipe

1шт.

25

A137567

PIPE

- exhaust (Replaces A76851)

1шт.

26

A76039

BRACKET

- exhaust pipe

1шт.

27

113-207

BOLT,Hex, 3/8" - 16 x 1", Gr 5

Bracket to engine Hex, 3/8"-16 x 1", G5, Full Thd

4шт.

28

192-21

LOCK WASHER,3/8"

WASHER, LOCK, 3/8"

4шт.

29

113-424

BOLT,Hex, 1/2" - 13 x 1", Gr 5, Full Thd

Exhaust pipe to bracket Hex, 1/2"-13 x 1", G5, Full Thd

2шт.

30

192-23

LOCK WASHER,1/2"

WASHER, LOCK, 1/2"

2шт.

31

195-106

WASHER,1/2"

- (9/16 x 1-3/8 x 1/8")

2шт.

32

A56092

CLAMP

ASSY. -, Serial Range: muffler-pipe

1шт.

33

A147046

MUFFLER

- exhaust

1шт.

34

A76846

BRACE

- exhaust pipe

1шт.

35

113-421

BOLT,Hex, 1/2" - 13 x 2", Gr 5

2шт.

36

195-106

WASHER,1/2"

- (9/16 x 1-3/8 x 1/8")

2шт.

37

192-23

LOCK WASHER,1/2"

WASHER, LOCK, 1/2"

2шт.

38

129-105

NUT,Hex, 1/2" - 13, Gr 5

2шт.

40

A77182

TUBE

- aspirator

1шт.

41

113-262

BOLT,Hex, 3/8" - 16 x 1-1/8", Gr 5, Full Thd

Tube to muffler Hex, 3/8"-16 x 1 1/8", G5, Full Thd

2шт.

42

192-21

LOCK WASHER,3/8"

WASHER, LOCK, 3/8"

2шт.

43

A76059

GASKET

- aspirator tube

1шт.

S93398

CAP

- rain, 4"

1шт.

Выбрано товаров: 38