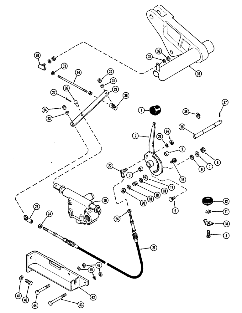
Запчасти Case IH 2870 (300) - HITCH DEPTH CONTROLS (08) - HYDRAULICS

Схема запчастей Case IH 2870 - (300) - HITCH DEPTH CONTROLS (08) - HYDRAULICS
11
31
41
48
9
23
6
35
24
10
9
16
3
27
8
31
44
33
38
19
34
28
39
37
2
46
22
29
18
3
24
41
1
20
17
21
26
23
45
30
7
42
12
25
24
32
18
32
30
24
FIT
1:1
100%

Артикул

Название

Примечание

Количество

1

A137806

KNOB

- lever

1шт.

2

A142112

LEVER ASSEMBLY - depth control, Includes: Ref. 3

1шт.

3

A59429

BUSHING,15.95mm ID x 19.13mm OD x 12.83mm L

- lever, 5/8 x 3/4 x 1/2" (15.88 x 19.05 x 12.7 mm)

2шт.

5

111-360

CARRIAGE BOLT,Short NK, 3/8"-16 x 3/4", G5

BOLT, CARRIAGE, Short NK, 3/8"-16 x 3/4", G5

2шт.

6

195-525

WASHER,3/8", SAE

- 3/8 x 13/16 x 1/16" (9.53 x 20.64 x 1.59 mm)

2шт.

7

192-21

LOCK WASHER,3/8"

WASHER, LOCK, 3/8"

2шт.

8

129-103

NUT,Hex, 3/8" - 16, Gr 5

NUT, 3/8"-16, G5

2шт.

9

111-360

CARRIAGE BOLT,Short NK, 3/8"-16 x 3/4", G5

BOLT, CARRIAGE, Short NK, 3/8"-16 x 3/4", G5

2шт.

10

A143309

CLIP

CLAMP - lever, stop

2шт.

11

193-110

LOCK WASHER,Ext Tooth, 3/8"

WASHER - 3/8" external Shakeproof

2шт.

12

A143181

NUT

- knurled

2шт.

16

111-327

CARRIAGE BOLT,Short NK, 3/8"-16 x 3", G2

BOLT - 3/8 x 3" NC round head square neck

1шт.

17

A61069

DISC

- friction, 3/8 x 1-1/4 x 1/8" nylon (9.53 x 31.75 x 3.18 mm)

2шт.

18

195-104

WASHER,3/8"

- 7/16 x 1 x 1/16" (11.11 x 25.4 x 1.59 mm)

2шт.

19

A75454

SPRING

- friction disc, 1" free length (25.4 mm)

1шт.

20

131-94

LOCK NUT,3/8"-16, GB

NUT - 3/8" NC hex

1шт.

21

A152749

CABLE

- depth control (Replaces A142095) 86" long (218.4 mm)

1шт.

22

A76982

BALL

JOINT -, Serial Range: cable-lever

1шт.

23

192-19

LOCK WASHER,Helical Spring, 0.256" ID, CST, ZND

WASHER, LOCK, 1/4"

2шт.

24

425-154

JAM NUT,Jam, 1/4"-28, G5

4шт.

25

A10329

BALL JOINT,1/4" - 28 x 1"

- cable to valve lever

1шт.

26

141-3

CLEVIS PIN,5/16" x .940"

PIN, CLEVIS, (7.94 x 23.81 mm) 5/16" x .940"

1шт.

27

132-26

COTTER PIN

Pin, Split (Cotter), 3/32" x 3/4" (2.38 x 19.05 mm)

1шт.

28

A77008

LEVER

- control valve

1шт.

29

REF

INSTRUCTION

VALVE ASSEMBLY - depth control (See figure 320)

1шт.

30

A60604

BALL JOINT

2шт.

31

192-20

LOCK WASHER,Helical Spring, 0.318" ID, CST, ZND

WASHER, LOCK, 5/16"

2шт.

32

129-122

NUT,5/16"-24, G5

2шт.

33

86637933

JAM NUT,5/16" - 24, Gr 5

2шт.

34

A77009

ROD

- valve control

1шт.

35

A76771

ROCKER

ROCKSHAFT - hitch

1шт.

37

138-96

LOCK PIN,3/16" x 1", Slotted

PIN, (4.76 x 25.4 mm) 3/16" x 1", Slotted

1шт.

38

A75736

SHAFT

- console lever

1шт.

39

A27785

CIRCLIP,#62, .480" Dia, E-Type

Ring, Retaining, , shaft #62, .480" Dia, E-Type

2шт.

40

113-424

BOLT,Hex, 1/2" - 13 x 1", Gr 5, Full Thd

(Support to rear plate) Hex, 1/2"-13 x 1", G5, Full Thd

2шт.

41

192-23

LOCK WASHER,1/2"

WASHER, LOCK, 1/2"

2шт.

42

A77006

SUPPORT - depth valve

1шт.

43

113-167

BOLT,Hex, 5/16" - 18 x 4", Gr 5

Valve to support Hex, 5/16"-18 x 4", G5

1шт.

44

113-133

BOLT,Hex, 5/16" - 18 x 3-1/4", Gr 5

- 5/16 x 3-1/4" NC hex (Valve to support)

2шт.

45

192-20

LOCK WASHER,Helical Spring, 0.318" ID, CST, ZND

WASHER, LOCK, 5/16"

3шт.

46

9635082

NUT,5/16" - 18, Gr 5

3шт.

Выбрано товаров: 41