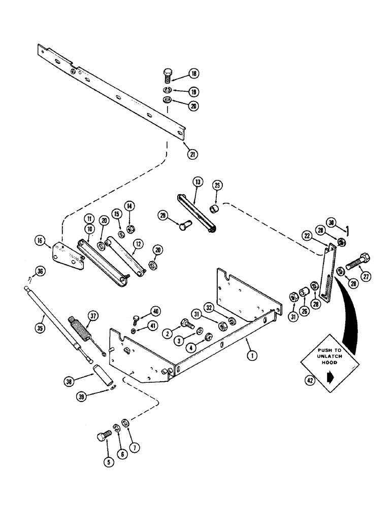
Запчасти Case IH 2870 (348) - HOOD HINGE PARTS, WITH FIBERGLASS HOOD (09) - CHASSIS/ATTACHMENTS

Схема запчастей Case IH 2870 - (348) - HOOD HINGE PARTS, WITH FIBERGLASS HOOD (09) - CHASSIS/ATTACHMENTS
41
28
27
31
36
16
32
20
4
5
14
31
30
40
7
21
29
22
42
26
20
28
18
19
10
28
38
2
12
25
37
15
3
39
1
35
20
13
6
11
FIT
1:1
100%

Артикул

Название

Примечание

Количество

1

A151431

PLATE ASSY.

PLATE - base, hood hinge

1шт.

2

113-2247

PREV TORQUE BOLT,Locking, 3/8"-16 x 1", G5, Full Thd

BOLT - 3/8 x 1" NC hex Poly-lok

3шт.

3

195-524

WASHER,5/16"

- 3/8 x 1-1/8 x 1/16"

6шт.

4

A76068

PAD

GROMMET - rubber, hinge to plate bolt

3шт.

5

113-207

BOLT,Hex, 3/8" - 16 x 1", Gr 5

8шт.

6

192-21

LOCK WASHER,3/8"

WASHER, LOCK, 3/8"

8шт.

7

195-525

WASHER,3/8", SAE

- 13/32 x 13/16 x 1/16"

8шт.

10

A149322

ARM

- lower hinge, right hand (Replaces A148590)

1шт.

11

REF

INSTRUCTION

ARM - lower hinge, left hand (Order A149399 kit) (See Refs. 25-32)

1шт.

12

A151335

ARM

- upper hinge, right hand

1шт.

13

A151334

ARM

- upper hinge, left hand

1шт.

14

131-266

NUT - 3/8" NC hex

8шт.

15

195-525

WASHER,3/8", SAE

- 13/32 x 13/16 x 1/16"

8шт.

16

A146451

PIVOT

- upper hinge, right hand

1шт.

16

A146452

PIVOT

- upper hinge, left hand

1шт.

18

113-2412

BOLT,Hex, 1/2" - 13 x 1-1/8", Gr 5, Full Thd

- 1/2 x 1-1/8" NC hex (Grade 5)

4шт.

19

192-23

LOCK WASHER,1/2"

WASHER, LOCK, 1/2"

4шт.

20

195-533

WASHER,1/2", SAE

- 17/32 x 1-1/16 x 3/32"

8шт.

21

REF

INSTRUCTION

ANGLE - support (See figure 352)

2шт.

22

A148841

PLATE

- lock, hinge arm

1шт.

A149399

HINGE

ARM KIT - lower hinge, left hand (Replaces A148591), Includes: Ref. 25 - 32

1шт.

NSS

NOT SOLD SEPARAT

ARM - lower, left hand

1шт.

25

T30946

BUSHING

SPACER - upper pivot pin, 1/2 x 3/4 x 1/2" (12.7 x 19.05 x 12.7 mm)

1шт.

26

A145518

BUSHING

SPACER - lock plate, 1/2 x 5/8 x 7/8" (12.7 x 15.88 x 22.23 mm)

1шт.

27

113-426

BOLT,Hex, 1/2" - 13 x 2-3/4", Gr 5

Hex, 1/2"-13 x 2 3/4", G5

1шт.

28

195-533

WASHER,1/2", SAE

- 17/32 x 1-1/16 x 3/32"

3шт.

29

141-56

CLEVIS PIN,1/2" x 1.360"

PIN - lock plate to hinge arm

1шт.

30

132-48

COTTER PIN,1/8" x 1"

Pin, Split (Cotter), (3.18 x 25.4 mm) 1/8" x 1"

1шт.

31

129-105

NUT,Hex, 1/2" - 13, Gr 5

2шт.

32

192-23

LOCK WASHER,1/2"

WASHER, LOCK, 1/2"

1шт.

35

A151135

CYLINDER

- hydraulic, hood lift

2шт.

36

A150707

CLIP

- safety, cylinder end

4шт.

37

A146133

SPRING

- extension, cylinder

2шт.

38

A150334

RETAINER

- spring

2шт.

39

A40018

RING

- snap, spring retainer

2шт.

40

A146118

BOLT

- stop, hinge arm

2шт.

41

9635082

NUT,5/16" - 18, Gr 5

2шт.

42

321-3985

DECAL

- push to unlatch hood

1шт.

Выбрано товаров: 0