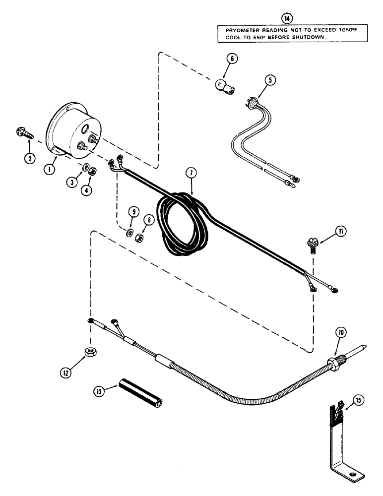
Запчасти Case IH 2870 (016) - ENGINE EXHAUST PYROMETER, 674 CUBIC INCH DIESEL ENGINE (02) - ENGINE

Схема запчастей Case IH 2870 - (016) - ENGINE EXHAUST PYROMETER, 674 CUBIC INCH DIESEL ENGINE (02) - ENGINE
2
4
11
5
1
12
9
15
10
6
14
8
13
7
3
FIT
1:1
100%

Артикул

Название

Примечание

Количество

1

A139021

ELECTRICAL GAUGE

PYROMETER - engine exhaust

1шт.

2

173-249

SCREW

- #6-32 x 3/4" round head

3шт.

3

192-15

LOCK WASHER,Helical Spring, #6, 0.145" ID, CST, ZND

Washer, Lock, #6

3шт.

4

129-15

NUT,#6-32

3шт.

5

A139030

SOCKET/RECEPTACLE

SOCKET - lamp

1шт.

6

B50213

BULB

- light (#53), Includes: Ref. 7

1шт.

7

A139025

HARNESS

- wire, Serial Range: meter-thermocoupler

1шт.

8

129-27

NUT,Hex, #10 - 32

- hex #10-32

2шт.

9

195-12

WASHER,#10

- 7/32 x 7/16 x 1/32" (5.56 x 11.11 x 0.79 mm)

2шт.

10

A139024

PROBE

THERMOCOUPLE - pyrometer

1шт.

11

175-93

SCREW,Sl Truss Hd, #10 - 24 x 1/4"

- #10-24 x 1/4" truss head

2шт.

12

131-1142

LOCK NUT,Hex, #10 - 24, Gr A

NUT, LOCK, #10-24, GA

2шт.

13

A139029

BOOT

COVER - harness connection (Boot)

1шт.

14

321-1778

DECAL

- pyrometer reading

1шт.

15

A147023

BRACKET

- thermocouple cable

1шт.

Выбрано товаров: 15