Запчасти Case IH 2870 (368) - CAB, USED CAB SERIAL NUMBER 7882601 AND AFTER (09) - CHASSIS/ATTACHMENTS

Схема запчастей Case IH 2870 - (368) - CAB, USED CAB SERIAL NUMBER 7882601 AND AFTER (09) - CHASSIS/ATTACHMENTS
1
13
14
5
12
15
4
2
6
10
11
3
7
FIT
1:1
100%

Артикул

Название

Примечание

Количество

F98318

SHELL

CAB ASSEMBLY - with heater (Machinery item) (replaces F98115)

1шт.

F98318

SHELL

CAB ASSEMBLY - with heater and air conditioner (Machinery item) (replaces F98117)

1шт.

F98318

SHELL

CAB ASSEMBLY - with heater and radio (Machinery item) (replaces F98119

1шт.

F98318

SHELL

CAB ASSEMBLY - with heater, radio and air conditioner (Machinery item) (replaces F98121)

1шт.

F98316

SHELL

CAB ASSEMBLY - with heater (Machinery item) (replaces F89991), used prior to cab s/n 7882601

1шт.

F98316

SHELL

CAB ASSEMBLY - with heater and air conditioner (Machinery item) (replaces F89993), used prior to cab s/n 7882601

1шт.

F98316

SHELL

CAB ASSEMBLY - with heater and radio (Machinery item) (replaces F89995), used prior to cab s/n 7882601

1шт.

F98316

SHELL

CAB ASSEMBLY - with heater, radio and air conditioner (Machinery item) (replaces F89997), used prior to cab s/n 7882601

1шт.

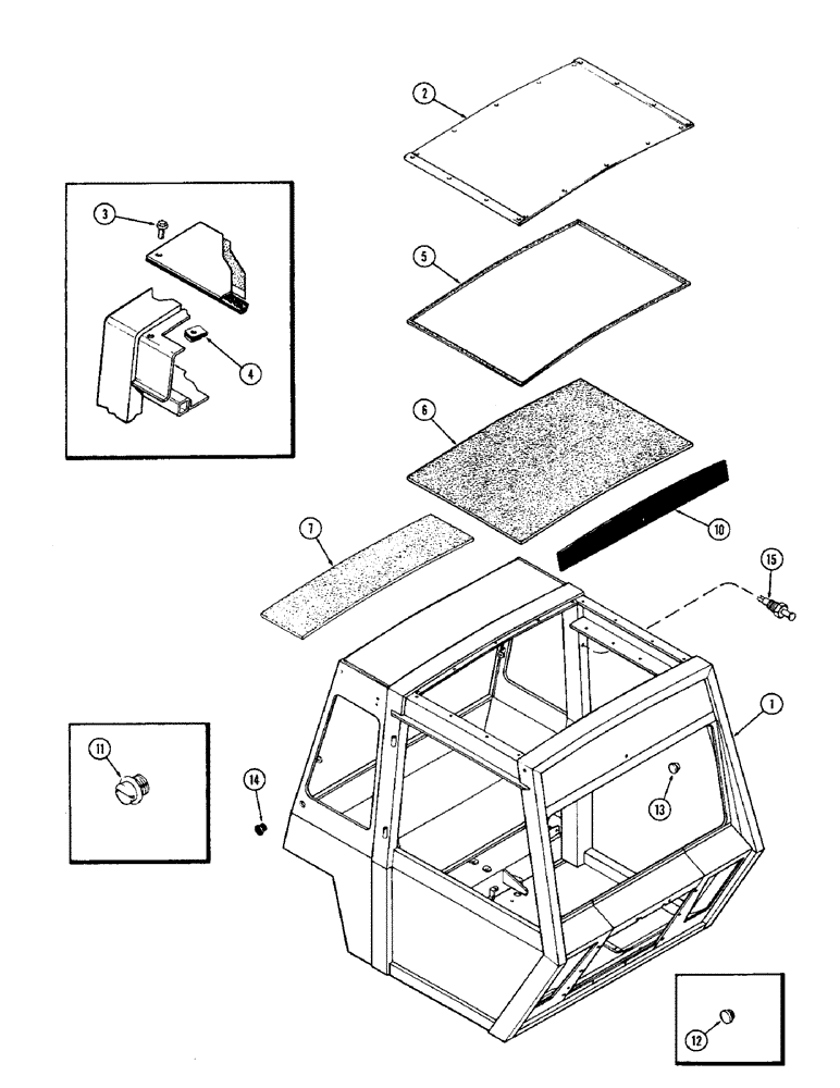
1

NSS

NOT SOLD SEPARAT

FRAME ASSEMBLY - cab, roof

1шт.

2

F63644

PANEL

ROOF - cab, frame

1шт.

3

163-16

SCREW,Hex Wshr Hd, 1/4" - 20 x 3/4"

- 1/4 x 3/4" NC, washer head, frame & roof

18шт.

4

131-617

NUT,Ret, J, 1/4"-20

- 1/4" speed (Tinnerman), frame & roof

18шт.

5

A42676

SEAL

- roof, 1/4 x 3/8 x 25 foot roll (6.35 x 9.53 x 7.63 mm) (Cut to length required), frame

1шт.

6

F64430

FOAM

FORM - temperature barrier (Replaces F63722), frame & roof

1шт.

7

F63352

FOAM

FORM - temperature barrier, rear, frame & roof

1шт.

10

A42582

DECAL

- front upper panel, frame & roof

1шт.

11

353-550

PLUG,Slotted, 1/2"-13

Plastic, Lifting holes, Frame & Roof Slotted, 1/2"-13

4шт.

12

353-411

PLUG,Dome, 1.000" hole, Nylon

Fender mounting hole, Push type (25.4 mm), Frame & roof Dome, 1.000" hole, Nylon

4шт.

13

353-408

PLUG,Dome, .750" hole, Nylon

- front post (Used models without air conditioning) 3/4" push type (19.05 mm), frame & roof

2шт.

14

353-411

PLUG,Dome, 1.000" hole, Nylon

Antenna opening, Push type (25.4 mm), Frame & roof Dome, 1.000" hole, Nylon

1шт.

15

F63895

SWITCH

- dome light, door opening, frame & roof

1шт.

Выбрано товаров: 21