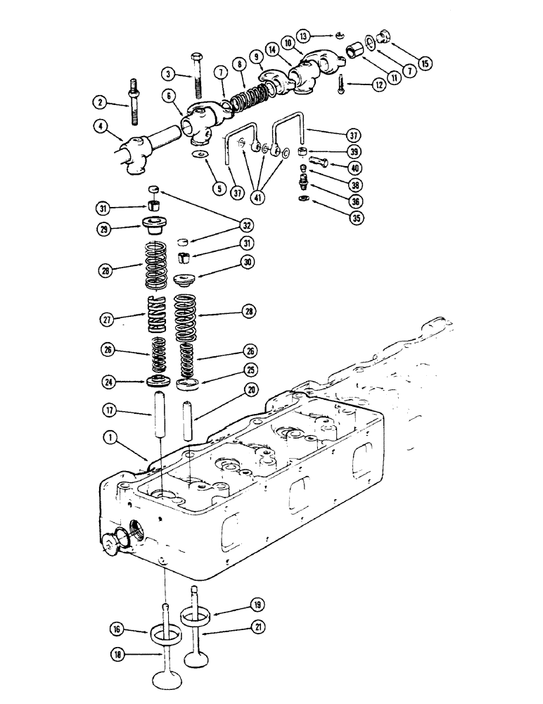
Запчасти Case IH 2870 (042) - VALVE MECHANISM, 674 CUBIC INCH DIESEL ENGINE (02) - ENGINE

Схема запчастей Case IH 2870 - (042) - VALVE MECHANISM, 674 CUBIC INCH DIESEL ENGINE (02) - ENGINE
4
1
36
31
16
5
24
30
2
12
37
26
8
17
25
1
19
13
29
14
7
28
40
3
9
10
38
31
32
27
11
39
5
15
6
18
20
28
7
26
21
37
FIT
1:1
100%

Артикул

Название

Примечание

Количество

1

REF

INSTRUCTION

HEAD ASSEMBLY - cylinder (See figure 38 and 40)

2шт.

2

A45728

STUD

STUB - rocker arm brackets, outer

4шт.

3

513-815

BOLT

- rocker arm brackets, inner, 12 x 1.75 x 80 mm, hex head

2шт.

4

A45721

SHAFT

- rocker arm

2шт.

5

A45727

GASKET

- bracket, rocker arm shaft

6шт.

6

A45726

BRACKET

- center, rocker arm shaft

2шт.

7

A45724

WASHER

- rocker arm shaft

12шт.

8

A45722

SPRING

- rocker arm shaft

4шт.

9

A45716

ARM

ASSEMBLY - rocker, right hand (Includes: Ref. 11)

6шт.

10

A45715

ROCKER

ARM ASSEMBLY - rocker, left hand, Includes: Ref. 11

6шт.

11

A46169

BUSHING

- rocker arm (Ream after assembly)

1шт.

12

A45718

STUD

- adjusting, rocker arm

12шт.

13

A45760

NUT

- lock, adjusting stud

12шт.

14

A45725

BRACKET

- outer, rocker arm shaft

4шт.

15

A45723

PLUG

- rocker arm shaft

4шт.

16

REF

INSTRUCTION

SEAT - intake valve (See figure 38 and 40)

6шт.

17

A46433

GUIDE

- intake valve (Replaces A45702)

3шт.

18

REF

INSTRUCTION

VALVE - intake (See figure 38 and 40)

6шт.

19

REF

INSTRUCTION

SEAT - exhaust valve (See figure 38 and 40)

6шт.

20

A46409

GUIDE

- exhaust valve (Replaces A45703)

6шт.

21

REF

INSTRUCTION

VALVE - exhaust (See figure 38 and 40)

6шт.

24

A46431

ROTOR

SEAT - intake valve spring (Roto-Cap)

6шт.

25

A45710

WASHER

SEAT - exhaust valve spring

6шт.

26

A45709

SPRING

- intake and exhaust valves, inner

12шт.

27

A46325

SPRING

- intake exhaust valve, damper

6шт.

28

A45708

SPRING

- intake and exhaust valves, outer

12шт.

29

A46315

WASHER

RETAINER - intake valve spring, upper

6шт.

30

A45711

WASHER

RETAINER - exhaust valve spring, upper

6шт.

31

A45712

KEY

LOCK - valve keeper

24шт.

32

A45713

CAP

- valve

12шт.

35

A45731

GASKET

- oil tube connector

4шт.

36

A45732

CONNECTOR, ELEC

CONNECTOR - oil tube to cylinder head

4шт.

37

A45729

TUBE

- oil, rocker shaft

4шт.

38

A45753

SLEEVE

- oil, Serial Range: tube-connector

4шт.

39

A45762

NUT

- oil, Serial Range: tube-connector

4шт.

40

A45730

BOLT

- oil, Serial Range: tube-bracket

2шт.

41

A45731

GASKET

- oil tube bolt

6шт.

Выбрано товаров: 37