Запчасти Case IH 4156 (A-02) - CHASSIS, RADIATOR AND SHEET METAL, CLUTCH HOUSING AND COVERS Chassis, Radiator & Sheet Metal

Схема запчастей Case IH 4156 - (A-02) - CHASSIS, RADIATOR AND SHEET METAL, CLUTCH HOUSING AND COVERS Chassis, Radiator & Sheet Metal
3
5
4
2
8
7
1
6
FIT
1:1
100%

Артикул

Название

Примечание

Количество

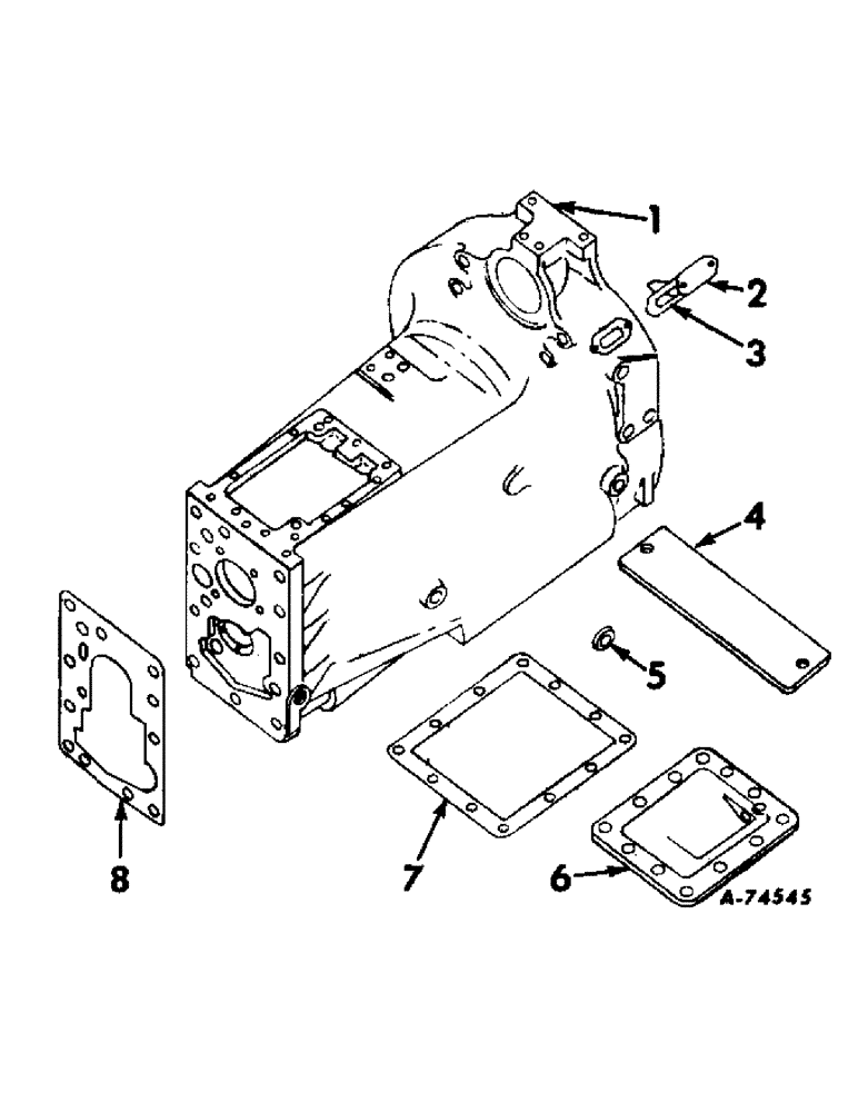
1

390253R11

HOUSING W/PLUG, 444788 and seat, 381611R1 clutch

1шт.

112428

PLUG

no. 0 cork

4шт.

104940

PLUG

no. 4 cork

3шт.

104942

DISC

no. 6 cork

3шт.

444788

DRAIN PLUG,Sq Soc, 1/2"-14 NPTF

PLUG, 1/2-14 auto. sq-soc pipe

1шт.

179884

BOLT,Hex, 1/2" - 13 x 1 3/8", Gr 5, Full Thd

SCREW, 1/2-13 x 1-3/8 hex-hd cap

1шт.

413-1036

BOLT,Hex, 5/8" - 11 x 2-1/4", Gr 5

SCREW, 5/8-11 x 2-1/4 hex-hd cap

10шт.

103323

LOCK WASHER,1/2"

WASHER, LOCK, 1/2"

1шт.

103325

LOCK WASHER,5/8"

WASHER, LOCK, 5/8"

10шт.

2

380073R1

COVER, engine timing opening

1шт.

179791

BOLT,Hex, 1/4" - 20 x 1/2", Gr 5

2шт.

103319

LOCK WASHER,1/4"

WASHER, LOCK, 1/4"

2шт.

3

380072R1

POINTER, engine timing

1шт.

4

380068R1

BAR

COVER, clutch compartment

1шт.

179837

BOLT,Hex, 3/8" - 16 x 3/4", Gr 5

2шт.

5

381611R1

SEAT

valve

1шт.

6

384077R11

COVER

W/PLUG, clutch housing bottom

1шт.

103735

HOUSING

PIN, 1/4 x 1/2 chamfered straight

1шт.

9409947

DRAIN PLUG,Sq Soc, 3/4"-14 NPTF

PLUG, 3/4-14 auto. sq-soc pipe

1шт.

179839

BOLT,Hex, 3/8" - 16 x 1", Gr 5

12шт.

7

384078R1

GASKET

clutch housing bottom cover

1шт.

8

539927R1

GASKET

clutch housing

1шт.

375362R1

PIN,12.69mm OD x 34.8mm L

rear engine support dowel, 1/2 x 1-3/8

1шт.

Выбрано товаров: 23