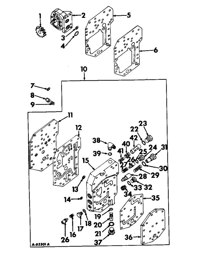
Запчасти Case IH 4156 (F-03) - HYDRAULIC SYSTEM, POWER SUPPLY & MULTIPLE CONTROL VALVE, ON CLUTCH HOUSING (07) - HYDRAULIC SYSTEM

Схема запчастей Case IH 4156 - (F-03) - HYDRAULIC SYSTEM, POWER SUPPLY & MULTIPLE CONTROL VALVE, ON CLUTCH HOUSING (07) - HYDRAULIC SYSTEM
2
19
40
34
24
38
12
29
4
13
6
33
41
36
35
18
27
1
25
17
3
42
15
5
22
8
26
7
31
21
37
39
26
28
11
23
32
10
14
16
30
9
20
FIT
1:1
100%

Артикул

Название

Примечание

Количество

1

405181R1

GEAR

hyd pump drive, 19 T

1шт.

19258R1

LOCK NUT,1/2"-20, GB

NUT, 1/2-20 ESNA stop

1шт.

2

527397R92

HYDRAULIC PUMP

PUMP ASSY, hydraulic, 9 GPM, Cessna, for components see list of parts under details of hydraulic pump

1шт.

2

1949304C1

REMAN-HYD PUMP

Reman for New PN 527397R92

1шт.

2

1949305C1

CORE-HYDRAULIC PUMP

Return Number

1шт.

179828

BOLT,Hex, 5/16" - 18 x 2 1/2", Gr 5

2шт.

382331R1

SEALING WASHER,8.33mm ID x 12.7mm OD x 0.79mm Thk

pump screw sealing

2шт.

3

350667R1

O-RING,0.103" Thk x 0.674" ID, -115, Cl 5, 75 Duro

11/16 x 7/8 x 3/32, pump pressure port

1шт.

4

372821R1

O-RING,0.103" Thk x 1.049" ID, -121, Cl 5, 75 Duro

1-1/16 x 1-1/4 x 3/32, pump suction port

1шт.

5

382336R2

GASKET

multiple control valve plate, heavy

1шт.

6

382335R2

GASKET

multiple control valve plate, light

1шт.

7

350667R1

O-RING,0.103" Thk x 0.674" ID, -115, Cl 5, 75 Duro

11/16 x 7/8 x 3/32, power steering pressure port

1шт.

8

354057R2

VALVE

power steering return check

1шт.

9

382334R1

SPRING

power steering return check valve

1шт.

10

390598R91

VALVE ASSY, multiple control, standard

1шт.

10

404059R92

LOCK VALVE

VALVE ASSY, multiple control, tractors w/independent PTO

1шт.

186623

BELT,Hex, 5/16" - 18 x 1 3/8", Gr 8

SCREW, 5/16-18 x 1-3/8 hex-hd cap

1шт.

445625

BOLT,Hex, 5/16" - 18 x 1 3/4", Gr 8

SCREW, 5/16-18 x 1-3/4 hex-hd cap

3шт.

454865

BOLT,Hex, 5/16" - 18 x 2 1/4", Gr 8

SCREW, 5/16-18 x 2-1/4 hex-hd cap

6шт.

454866

BOLT,Hex, 5/16" - 18 x 2 1/2", Gr 8

SCREW, 5/16-18 x 2-1/2 hex-hd cap

10шт.

103320

LOCK WASHER,5/16"

WASHER, LOCK, 5/16"

10шт.

11

392009R1

PLATE, multiple control valve, inner, for valve, 390598R92

1шт.

11

404109R1

PLATE, multiple control valve, inner, for valve, 404059R92

1шт.

12

382322R2

GASKET

multiple control valve, inner

1шт.

Part of seal Kit P/N 393877R91

1шт.

13

369908R1

O-RING,0.103" Thk x 0.799" ID, -117, Cl 5, 75 Duro

13/16 x 1 x 3/32, pump pressure port

1шт.

Part of seal Kit P/N 393877R91

1шт.

14

252739R1

O-RING,0.103" Thk x 0.487" ID, -112, Cl 5, 75 Duro

1/2 x 11/16 x 3/32, power steering input port

1шт.

Part of seal Kit P/N 393877R91

1шт.

15

392008R11

BODY ASSY, multiple control valve, for valve, 390598R92

1шт.

15

404107R1

BODY ASSY, multiple control valve, for valve, 404059R92

1шт.

9410359

PLUG

3/4-16 C-Z str thd o-ring boss, oil cooler return port

1шт.

570828R1

O-RING,0.087" Thk x 0.644" ID, -908, Cl 6, 90 Duro

1/2 OD tube, oil cooler return port plug

1шт.

16

382299R1

SPRING

cooler by-pass valve

1шт.

17

9410355

PLUG,Hex Hd, 3/8"-24 ORB

3/8-24 C-Z str thd o-ring boss, power steering input port

1шт.

18

379366R1

O-RING,0.07" Thk x 0.301" ID, -11, Cl 6, 90 Duro

5/16 x 7/16 x 1/16, power steering input port plug

1шт.

Part of seal Kit P/N 393877R91

1шт.

19

702788R1

O-RING,0.103" Thk x 0.362" ID, -110, Cl 6, 90 Duro

3/8 x 9/16 x 3/32, safety valve

1шт.

20

384443R92

VALVE

ASSY, safety, 2000 P.S.I.

1шт.

21

570828R1

O-RING,0.087" Thk x 0.644" ID, -908, Cl 6, 90 Duro

41/64 x 13/16 x 3/32, safety valve plug

1шт.

Part of seal Kit P/N 393877R91

1шт.

22

570828R1

O-RING,0.087" Thk x 0.644" ID, -908, Cl 6, 90 Duro

41/64 x 13/16 x 3/32, pressure regulator valve plug

1шт.

Part of seal Kit P/N 393877R91

1шт.

23

9410359

PLUG

3/4-16 C-Z str thd o-ring boss, pressure regulator valve

1шт.

24

384403R1

PLUG

lub regulator by-pass valve

1шт.

25

570828R1

O-RING,0.087" Thk x 0.644" ID, -908, Cl 6, 90 Duro

41/64 x 13/16 x 3/32, lub regulator by-pass valve plug

1шт.

Part of seal Kit P/N 393877R91

1шт.

26

382301R1

LOCK VALVE

VALVE, by-pass

2шт.

103697

PIN,1/8" x 1 3/8"

1/8 x 1-3/8 chamfered str, by-pass valve retaining

2шт.

27

382312R1

SPRING

lubrication regulator

1шт.

28

VALVE, flow control, not serviced separately order body assy

1шт.

29

379211R1

SPRING

flow control valve

1шт.

30

364885R1

O-RING,0.097" Thk x 0.755" ID, -910, Cl 6, 90 Duro

3/4 x 15/16 x 3/32, flow control valve plug

1шт.

Part of seal Kit P/N 393877R91

1шт.

31

382297R1

PLUG

flow control valve

1шт.

32

9410357

PLUG

1/2-20 C-Z str thd o-ring boss, flow control orifice port

1шт.

34

382298R1

JET

ORIFICE, flow control

1шт.

35

392011R1

GASKET

multiple control valve, outer cover

1шт.

Part of seal Kit P/N 393877R91

1шт.

36

392010R1

COVER, multiple control valve, outer

1шт.

13-510

BOLT,Hex, 5/16" - 18 x 5/8", Gr 5, Full Thd

1шт.

37

9410359

PLUG

3/4-16 C-Z str thd o-ring boss, safety valve

1шт.

38

9410976

ELBOW,90 Degree, 9/16"-18, 37 Degree x 9/16"-18, O-Ring

9/16-18 C-Z 37 deg hyd flared tube adj str thd 90 deg, for valve, 404059R92

1шт.

39

364839R1

O-RING,0.078" Thk x 0.468" ID, -906, Cl 6, 90 Duro

6-1, 90 Duro, .468" ID x .078" Thk, 3/8 OD tube, for valve, 404059R92

1шт.

Part of seal Kit P/N 393877R91

1шт.

40

382306R1

SPRING

pressure regulator outer, for valve, 404059R92

1шт.

41

404517R1

SPRING, pressure regulator valve inner, for valve, 404059R92

1шт.

42

382307R11

VALVE

ASSY, pressure regulator, for valve, 404059R92

1шт.

393877R91

SEAL KIT

PACKAGE, multiple control valve o-ring and gasket service, consists of Ref. 3 - 6, 12, 13, 14, 18, 21, 22, 25, 30, 33, 35 and 39

1шт.

33

369384R1

O-RING,0.072" Thk x 0.414" ID, -905, Cl 6, 90 Duro

5-1, 90 Duro, .414" ID x .072" Thk, Flow control orifice port plug

1шт.

Part of seal Kit P/N 393877R91

1шт.

Выбрано товаров: 71