Запчасти Case IH 4166 (13-18) - SUPERSTRUCTURE, CAB ROOF ASSY (05) - SUPERSTRUCTURE

Схема запчастей Case IH 4166 - (13-18) - SUPERSTRUCTURE, CAB ROOF ASSY (05) - SUPERSTRUCTURE
9
13
2
18
6
17
16
1
17
14
3
8
5
10
12
4
11
15
FIT
1:1
100%

Артикул

Название

Примечание

Количество

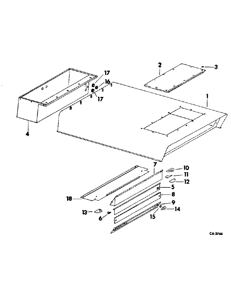
1

66424C1

ROOF ASSY, cab, heater

1шт.

1

66425C1

ROOF ASSY, cab, air conditioner

1шт.

178532

LOCK WASHER,Ext-Int Tooth, 5/16"

WASHER, 5/16 int-ext lock znd

9шт.

120376

NUT,5/16"-18, G5

9шт.

2

66422C1

PANEL ASSY, upper access

1шт.

3

66423C1

WASHER, neoprene

12шт.

470-12510

SCREW,Slotted Pan Hd, 1/4"-20 x 5/8"

1/4-20 x 5/8 cr-rec-pan-hd

12шт.

120392

WASHER,1/4", SAE

9/32 x 5/8 x .051 znd flat

12шт.

4

66408C1

CASE, condenser, cabs w/heating and a/c

1шт.

413-410

BOLT,Hex, 1/4" - 20 x 5/8", Gr 5

SCREW, 1/4-20 x 5/8 znd hex-hd cap

6шт.

121637

LOCK WASHER

WASHER, 1/4 znd lt lock

11шт.

192280

HOLE PLUG BUTTON,1 1/4"

NUT, 1/4-20 znd hex

5шт.

5

66417C1

DOOR ASSY, return air

1шт.

6

66418C1

CLIP, return air door mtg

2шт.

24231R1

SELF-TAP SCREW,Slotted Pan Hd, #8 x 1/2"

SCREW, SELF TAPPING, Slotted Pan Hd, #8 x 1/2"

2шт.

7

66416C1

CHARGER, air filter return

1шт.

470-1256

SCREW,Slotted Pan Hd, 1/4"-20 x 3/8"

1/4-20 x 3/8 znd slt-pan-hd mach

4шт.

24231R1

SELF-TAP SCREW,Slotted Pan Hd, #8 x 1/2"

SCREW, SELF TAPPING, Slotted Pan Hd, #8 x 1/2"

2шт.

8

66420C1

FILTER

recirculation

1шт.

9

66421C1

COVER, air filter

1шт.

86627130

WING NUT,1/4"-20

NUT, 1/4-20 znd wing

2шт.

10

66451C1

SEAL, LH air cond tubes, cabs w/heating and a/c

1шт.

11

66583C1

PLATE, LH air/cond hose cover, cabs w/heating and a/c

1шт.

12

66582C1

PLATE, LH air/cond tube filler, cabs w/heating only

1шт.

13

66452C1

SEAL, RH heater tube

1шт.

14

539022R1

LATCH, filter

1шт.

15

534220R1

WASHER, belleville

1шт.

537467R1

BOLT (SPREADER),Shoulder, 5/16" - 18

BOLT, shoulder

1шт.

22039R1

LOCK NUT,5/16"-18, GB

NUT, 5/16-18 nylon insert lock

1шт.

16

112743

GROMMET, rubber 1/2" ID x 7/8" x .062"

1шт.

17

187954

GROMMET,1" ID x 1 3/4" x .062"

rubber

2шт.

18

66415C1

PANEL, lower access, For air conditioner application 2 plugs must be removed

1шт.

470-1256

SCREW,Slotted Pan Hd, 1/4"-20 x 3/8"

1/4-20 x 3/8 zn slt-pan-hd mach

4шт.

66356C1

PANEL

52 in. x 54 in. x 1 in. upholstery repair

1шт.

534441R1

FLUID

ADHESIVE, 1 qt. can upholstery

1шт.

Выбрано товаров: 35