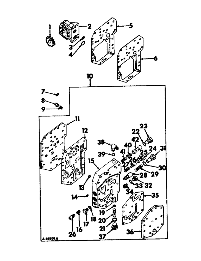
Запчасти Case IH 4186 (10-02) - HYDRAULICS, POWER SUPPLY AND MULTIPLE CONTROL VALVE, ON CLUTCH HOUSING (07) - HYDRAULICS

Схема запчастей Case IH 4186 - (10-02) - HYDRAULICS, POWER SUPPLY AND MULTIPLE CONTROL VALVE, ON CLUTCH HOUSING (07) - HYDRAULICS
15
39
25
1
18
23
11
29
33
37
12
7
36
17
21
6
26
26
19
30
32
40
9
2
8
3
41
10
16
4
27
20
5
38
42
22
35
28
13
24
14
34
FIT
1:1
100%

Артикул

Название

Примечание

Количество

1

405181R1

GEAR

hyd pump drive, 19T (replaces527397R93 )

1шт.

*

19258R1

LOCK NUT,1/2"-20, GB

NUT, 1/2-20 Esna stop

1шт.

2

527397R93

PUMP

ASSY, hydraulic, 9 gpm, Cessna, Optional with 133400C92, For components see list of parts under details of hydraulic pump

1шт.

2

1949304C1

REMAN-HYD PUMP

4166 (1/72-12/72), 4186 (1/76-12/79), Both INTERNATIONAL 4WD DIESEL TRACTOR, ASSY, hydraulic, 9 gpm, Cessna

1шт.

2

1949305C1

CORE-HYDRAULIC PUMP

Return Number

1шт.

2

133440C92

PUMP

ASSY, 9 gpm, Thompson, optional with 527397R93, For components see list of parts under details fo hydraulic pump

1шт.

2

1949304C1

REMAN-HYD PUMP

Reman for New PN 133440C92

1шт.

2

1949305C1

CORE-HYDRAULIC PUMP

Return Number

1шт.

*

179828

BOLT,Hex, 5/16" - 18 x 2 1/2", Gr 5

2шт.

*

22340R1

SCREW,Hex, 5/16"-18 x 2 7/8", G5

BOLT, 5/16 x 2-7/8 pln type 5, Required when new mcv assembly 63559C93 is applied

2шт.

*

382331R1

SEALING WASHER,8.33mm ID x 12.7mm OD x 0.79mm Thk

pump screw sealing

4шт.

3

21433R1

O-RING,0.103" Thk x 0.674" ID, -115, Cl 6, 90 Duro

11/16 x 7/8 x 3/32, pump pressure port

1шт.

4

372821R1

O-RING,0.103" Thk x 1.049" ID, -121, Cl 5, 75 Duro

1-1/16 x 1-1/4 x 3/32, pump suction port

1шт.

5

382336R2

GASKET

multiple control valve plate, heavy

1шт.

6

382335R2

GASKET

multiple control valve plate, light

1шт.

7

21433R1

O-RING,0.103" Thk x 0.674" ID, -115, Cl 6, 90 Duro

11/16 x 7/8 x 3/32, power steering pressure port

1шт.

8

354057R2

VALVE

power steering return check

1шт.

9

382334R1

SPRING

power steering return check valve

1шт.

10

390598R94

VALVE ASSY, multiple control, standard, Order package, 63559C93

1шт.

10

404059R94

VALVE ASSY, multiple control, Order package, 63559C93, tractors w/independent PTO

1шт.

*

413-524

BOLT,Hex, 5/16" - 18 x 1-1/2", Gr 5

SCREW, 5/16-18 x 1-3/8 hex-hd cap

1шт.

*

445625

BOLT,Hex, 5/16" - 18 x 1 3/4", Gr 8

SCREW, 5/16-18 x 1-3/4 hex-hd cap

3шт.

*

454865

BOLT,Hex, 5/16" - 18 x 2 1/4", Gr 8

SCREW, 5/16-18 x 2-1/4 hex-hd cap

6шт.

*

454866

BOLT,Hex, 5/16" - 18 x 2 1/2", Gr 8

SCREW, 5/16-18 x 2-1/2 hex-hd cap

10шт.

*

103320

LOCK WASHER,5/16"

WASHER, LOCK, 5/16"

10шт.

11

392009R1

PLATE, multiple control valve, inner, For valve, 390598R94

1шт.

11

404109R1

PLATE, multiple control valve, inner, For valve, 404059R94

1шт.

12

382322R2

GASKET

multiple control valve, inner

1шт.

13

20947R1

O-RING,0.103" Thk x 0.799" ID, -117, Cl 6, 90 Duro

13/16 x 1 x 3/32, pump pressure port

1шт.

14

470585R1

O-RING,0.103" Thk x 0.487" ID, -112, Cl 6, 90 Duro

1/2 x 11/16 x 3/32, power steering input port

1шт.

15

BODY ASSY, multiple control valve, Not serviced separately order package, 63559C93

1шт.

*

9410359

PLUG

3/4-16 C-Z str thd o-ring boss, oil cooler return port

1шт.

*

570828R1

O-RING,0.087" Thk x 0.644" ID, -908, Cl 6, 90 Duro

1/2 od tube, oil cooler return port plug

1шт.

16

382299R1

SPRING

cooler by-pass valve

1шт.

17

9410355

PLUG,Hex Hd, 3/8"-24 ORB

3/8-24 C-Z str thd o-ring boss, power steering input port

1шт.

18

379795R1

O-RING,0.064" Thk x 0.301" ID, -903, Cl 6, 90 Duro

3-1, .301" ID x .064" Thk, Power steering input port plug

1шт.

19

702788R1

O-RING,0.103" Thk x 0.362" ID, -110, Cl 6, 90 Duro

3/8 x 9/16 x 3/32, safety valve

1шт.

20

384443R92

VALVE

ASSY, safety, 2000 PSI

1шт.

21

570828R1

O-RING,0.087" Thk x 0.644" ID, -908, Cl 6, 90 Duro

41/64 x 13/16 x 3/32, safety valve plug

1шт.

22

570828R1

O-RING,0.087" Thk x 0.644" ID, -908, Cl 6, 90 Duro

41/64 x 13/16 x 3/32, pressure regulator valve plug

1шт.

23

536855R1

PLUG

3/4-16 C-Z str thd o-ring boss, pressure regulator valve

1шт.

24

384403R1

PLUG

lub regulator by-pass valve

1шт.

25

570828R1

O-RING,0.087" Thk x 0.644" ID, -908, Cl 6, 90 Duro

41/64 x 13/16 x 3/32, lub regulator by-pass valve plug

1шт.

26

382301R1

LOCK VALVE

VALVE, by-pass

2шт.

*

103697

PIN,1/8" x 1 3/8"

1/8 x 1-3/8 chamfered str, by-pass valve retaining

2шт.

27

382312R1

SPRING

lubrication regulator

1шт.

28

VALVE, flow control, Not serviced separately order package, 63559C93

1шт.

29

379211R1

SPRING

flow control valve

1шт.

30

364885R1

O-RING,0.097" Thk x 0.755" ID, -910, Cl 6, 90 Duro

3/4 x 15/16 x 3/32, flow control valve plug

1шт.

31

382297R1

PLUG

flow control valve

1шт.

32

9410357

PLUG

1/2-20 C-Z str thd o-ring boss, flow control orifice port

1шт.

34

382298R1

JET

VENT, flow control, orifice

1шт.

35

382326R2

GASKET

multiple control valve, outer cover

1шт.

36

392010R1

COVER, multiple control valve, outer, Serial Range: -19268

1шт.

*

13-510

BOLT,Hex, 5/16" - 18 x 5/8", Gr 5, Full Thd

1шт.

36

138264C1

COVER

multiple control valve, outer, Start Serial: 19269

1шт.

*

179814

SPACER

1шт.

*

182793

SUPPORT

9/16-nf x 3/4 phc type 5

1шт.

*

138260C1

SEAL

Dyna

1шт.

37

536855R1

PLUG

3/4-16 C-Z str thd o-ring boss, safety valve

1шт.

38

9410976

ELBOW,90 Degree, 9/16"-18, 37 Degree x 9/16"-18, O-Ring

9/16-18 C-Z 37 deg hyd flared tube adj str thd 90 deg, For valve, 404059R94

1шт.

39

364839R1

O-RING,0.078" Thk x 0.468" ID, -906, Cl 6, 90 Duro

6-1, 90 Duro, .468" ID x .078" Thk, 3/8 OD tube, for valve, 404059R94

1шт.

40

382306R1

SPRING

pressure regulator outer, For valve, 404059R94

1шт.

41

404517R1

SPRING, pressure regulator valve inner, For valve, 404059R94

1шт.

42

382307R11

VALVE

ASSY, pressure regulator, For valve, 404059R94

1шт.

*

63559C93

PACKAGE, REPAIR

PACKAGE, multiple control valve service, Consists of

1шт.

*

BODY (NSS)

1шт.

*

138264C1

COVER

1шт.

*

9410976

ELBOW,90 Degree, 9/16"-18, 37 Degree x 9/16"-18, O-Ring

1шт.

*

382322R2

GASKET

1шт.

*

392011R1

GASKET

1шт.

*

252739R1

O-RING,0.103" Thk x 0.487" ID, -112, Cl 5, 75 Duro

1шт.

*

364839R1

O-RING,0.078" Thk x 0.468" ID, -906, Cl 6, 90 Duro

6-1, 90 Duro, .468" ID x .078" Thk

2шт.

*

364885R1

O-RING,0.097" Thk x 0.755" ID, -910, Cl 6, 90 Duro

1шт.

*

369908R1

O-RING,0.103" Thk x 0.799" ID, -117, Cl 5, 75 Duro

1шт.

*

570828R1

O-RING,0.087" Thk x 0.644" ID, -908, Cl 6, 90 Duro

4шт.

*

702788R1

O-RING,0.103" Thk x 0.362" ID, -110, Cl 6, 90 Duro

1шт.

*

382297R1

PLUG

1шт.

*

384403R1

PLUG

1шт.

*

536855R1

PLUG

2шт.

*

9410355

PLUG,Hex Hd, 3/8"-24 ORB

1шт.

*

9410357

PLUG

1шт.

*

9410358

PLUG

1шт.

*

9410359

PLUG

1шт.

*

379795R1

O-RING,0.064" Thk x 0.301" ID, -903, Cl 6, 90 Duro

3-1, .301" ID x .064" Thk

1шт.

*

103697

PIN,1/8" x 1 3/8"

2шт.

*

20020R1

DOWEL,5/16" x 1"

PIN

4шт.

*

13-510

BOLT,Hex, 5/16" - 18 x 5/8", Gr 5, Full Thd

1шт.

*

379211R1

SPRING

1шт.

*

382299R1

SPRING

1шт.

*

382306R1

SPRING

1шт.

*

382312R1

SPRING

1шт.

*

404517R1

SPRING

1шт.

*

382301R1

LOCK VALVE

VALVE

2шт.

*

382307R11

VALVE

1шт.

*

384443R92

VALVE

1шт.

*

VALVE (NSS)

1шт.

*

382298R1

JET

VENT

1шт.

33

369384R1

O-RING,0.072" Thk x 0.414" ID, -905, Cl 6, 90 Duro

5-1, 90 Duro, .414" ID x .072" Thk, Flow control orifice port plug

1шт.

*

369384R1

O-RING,0.072" Thk x 0.414" ID, -905, Cl 6, 90 Duro

5-1, 90 Duro, .414" ID x .072" Thk

1шт.

Выбрано товаров: 100