Запчасти Case IH 4366 (08-07) - ELECTRICAL, BATTERY AND CONNECTIONS, 4366 TRACTORS (06) - ELECTRICAL

Схема запчастей Case IH 4366 - (08-07) - ELECTRICAL, BATTERY AND CONNECTIONS, 4366 TRACTORS (06) - ELECTRICAL
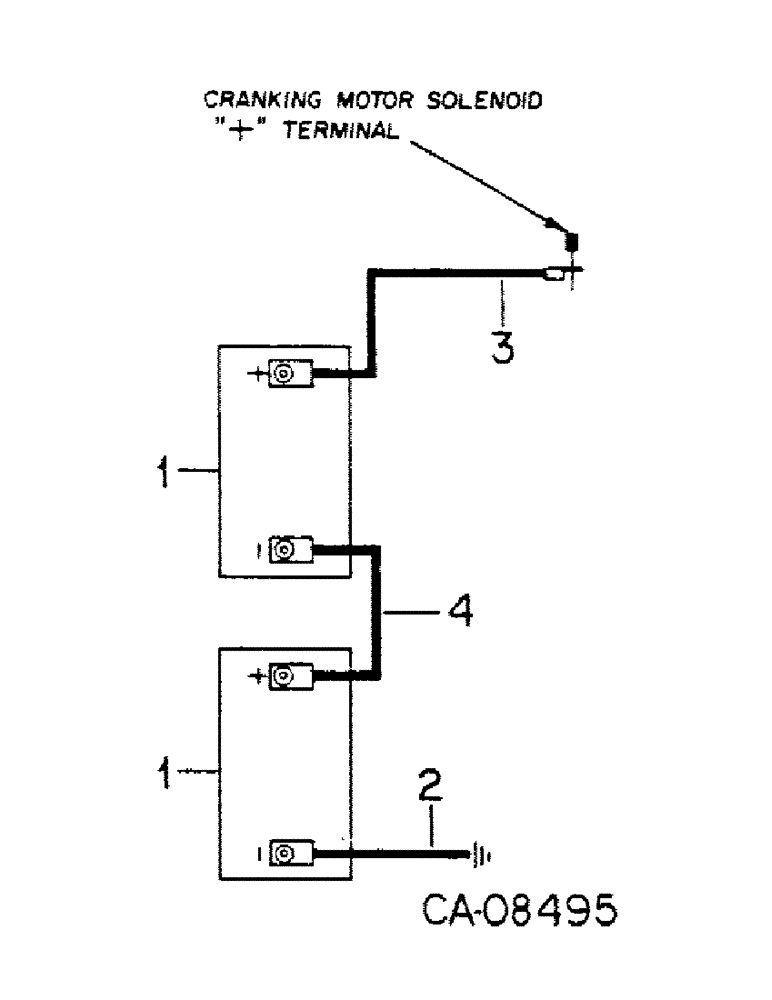
2
1
1
4
3
FIT
1:1
100%

Артикул

Название

Примечание

Количество

1

IHPR4EH

BATTERY, DRY

BATTERY, maintenance free

2шт.

2

70040C91

NEG BATTERY CABLE

CABLE ASSY, ground to battery, Replaces 529663R1

1шт.

383619R1

COVER

INSULATOR, cable boot

1шт.

3

70041C91

CABLE

ASSY, battery to cranking motor, Replaces 392005R91

1шт.

383619R1

COVER

INSULATOR, positive terminal boot

1шт.

364910R1

BOOT

INSULATOR, solenoid terminal boot

1шт.

4

532121R1

CABLE ASSY.

CABLE ASSY, Serial Range: battery-battery

1шт.

Выбрано товаров: 0