Запчасти Case IH 4366 (08-11) - ELECTRICAL, TRACTOR WORKING LIGHT CONNECTIONS AND MOUNTING, 4366 TRACTORS (06) - ELECTRICAL

Схема запчастей Case IH 4366 - (08-11) - ELECTRICAL, TRACTOR WORKING LIGHT CONNECTIONS AND MOUNTING, 4366 TRACTORS (06) - ELECTRICAL
8
2
14
3
9
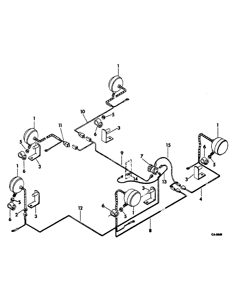
1
3
15
5
11
5
6
1
4
10
12
3
6
5
6
1
7
3
5
6
13
3
7
5
6
FIT
1:1
100%

Артикул

Название

Примечание

Количество

1

391005R91

HEADLIGHT

LIGHT ASSY, shockproof flood working, Only serviceable items are

5шт.

373662R91

LAMP

type C-6 trade #4411 or

1шт.

131508C1

LAMP BASE

LAMP, replacement GE-#H7610

1шт.

676078R1

RETAINER

RING, light retainer, For JW Hobbs light

1шт.

1252609C1

RETAINER

RING, light retainer, For Midwest mfg light

1шт.

530029R91

CONNECTOR, ELEC

CONNECTOR ASSY, headlight, For JW Hobbs light

1шт.

120378

NUT,Hex, 1/2" - 13, Gr 5

NUT, 1/2"-13, G5

5шт.

493-41052

LOCK WASHER,Ext Tooth, 1/2"

WASHER, 1/2 ext lock

5шт.

387311R1

ROD, CONNECTING

CONNECTOR, body

5шт.

2

123548H

GROMMET

working light fender

7шт.

261869C1

GROMMET, front frame side plate

2шт.

3

390310R11

SUPPORT

ASSY, light

5шт.

180122

BOLT,Hex, 3/8" - 16 x 1", Gr 5

3/8 x 1 type 5

10шт.

138489

LOCK WASHER,Ext Tooth, 3/8"

WASHER, LOCK, Ext Tooth, 3/8"

10шт.

102635

NUT,3/8"-16, G5

10шт.

4

70105C1

HARNESS

ASSY, frt working light LH

1шт.

5

365503R1

SPACER

light

5шт.

6

350920R1

CLAMP

light

5шт.

7

390748R93

SWITCH

ASSY, lighting, 12 volt

1шт.

8

70098C1

HARNESS

ASSY, front working light RH

1шт.

9

70099C1

CABLE

ASSY, cab rear light, Serial Range: harness-switch

1шт.

10

70100C1

HARNESS

ASSY, cab LH rear light

1шт.

11

70101C1

HARNESS

ASSY, cab RH rear light

1шт.

12

70102C1

HARNESS

ASSY, RH rear fender, Serial Range: light-switch

1шт.

13

70103C1

CABLE

ASSY, working light, Serial Range: switch-fuse

1шт.

14

432644

FUSE,20 Amp, Type SFE

sfe 20 ampere

1шт.

15

70104C1

CABLE

ASSY, switch to frt harnesses

1шт.

Выбрано товаров: 0