Запчасти Case IH 4366 (08-14) - ELECTRICAL, INSTRUMENT PANEL WIRING, SWITCHES AND RELATED PARTS, 4366 TRACTORS (06) - ELECTRICAL

Схема запчастей Case IH 4366 - (08-14) - ELECTRICAL, INSTRUMENT PANEL WIRING, SWITCHES AND RELATED PARTS, 4366 TRACTORS (06) - ELECTRICAL
32
12
40
27
37
19
7
35
13
39
16
25
8
5
20
41
23
24
15
10
30
4
29
2
13
9
17
43
14
44
34
38
29
42
6
7
18
31
36
11
21
13
1
26
22
3
33
FIT
1:1
100%

Артикул

Название

Примечание

Количество

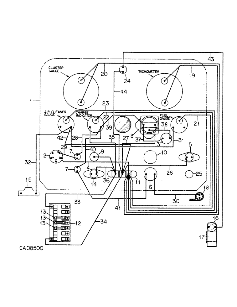
1

PANEL, instrument, Refer to group 11

1шт.

2

403571R2

SWITCH

basic lighting

1шт.

3

403562R2

SWITCH

ASSY, ignition key

1шт.

365502R1

NUT

switch mounting

1шт.

375431R1

LOCK WASHER

switch mounting

1шт.

131313C1

KEY, IGNITION

switch

1шт.

4

69459C1

LIGHT

CABLE ASSY, instrument lights

1шт.

5

397940R93

SWITCH

push button start

1шт.

436750

SCREW,Slotted Pan Hd, #10-32 x 1/2"

#10NF x 1/2 znp p/hds mach

2шт.

120217

LOCK WASHER,#10

WASHER, LOCK, #10

2шт.

120614

NUT,Hex, #10 - 32

NUT, #10-32

2шт.

6

394771R92

SWITCH

ASSY, flashing warning light

1шт.

7

376852R91

HOUSING

ASSY, fuse, Only serviceable item is

2шт.

356445R91

KNOB

1шт.

432644

FUSE,20 Amp, Type SFE

cartridge type, 20 amp

2шт.

8

107655C1

SOLENOID SWITCH

SWITCH ASSY, cab power magnetic

1шт.

86505867

BOLT,Hex, 1/4" - 20 x 1", Gr 5

4шт.

492-11025

LOCK WASHER,1/4"

WASHER, LOCK, 1/4"

4шт.

120375

NUT,Hex, 1/4" - 20, Gr 5

4шт.

71570C1

BRACKET

SUPPORT, switch mounting

1шт.

9

382672R91

LIGHTER, CIGARETTE

LIGHTER ASSY, cigar

1шт.

10

SWITCH ASSY, auxiliary lighting, Refer to working lights unit, this group

1шт.

11

378336R91

BLOCK

ASSY, junction

1шт.

179791

BOLT,Hex, 1/4" - 20 x 1/2", Gr 5

2шт.

103319

LOCK WASHER,1/4"

WASHER, LOCK, 1/4"

2шт.

109084

NUT,1/4"-20, G5

2шт.

120614

NUT,Hex, #10 - 32

NUT, #10-32

3шт.

120217

LOCK WASHER,#10

WASHER, LOCK, #10

3шт.

12

69795C2

BLOCK

fuse

1шт.

26964R1

SCREW

no. 5 x 1/2 phc f/hds mach

2шт.

12539R1

NUT, no. 5 phc mach screw type 1

2шт.

13

432644

FUSE,20 Amp, Type SFE

cartridge type, 20 amp

3шт.

14

397940R93

SWITCH

ASSY, ether solenoid push button

1шт.

436750

SCREW,Slotted Pan Hd, #10-32 x 1/2"

#10NF x 1/2 znp p/hds mach

2шт.

120217

LOCK WASHER,#10

WASHER, LOCK, #10

2шт.

120614

NUT,Hex, #10 - 32

NUT, #10-32

2шт.

15

107558C1

RESISTOR

25 ohm

1шт.

87716

BOLT,1/4"-20 x 1-1/4", Cl 5

1шт.

120392

WASHER,1/4", SAE

.281 x .625 x .051

1шт.

120375

NUT,Hex, 1/4" - 20, Gr 5

1шт.

16

404352R1

SWITCH

ASSY, park brake light

1шт.

17

71224C1

BRACKET

ASSY, park brake switch

1шт.

180084

BOLT,Hex, 5/16" - 18 x 1 5/8", Gr 5

5/16 x 1-5/8 type 5

1шт.

120376

NUT,5/16"-18, G5

1шт.

138489

LOCK WASHER,Ext Tooth, 3/8"

WASHER, LOCK, Ext Tooth, 3/8"

1шт.

588786R1

SPACER, .364 x .540 x .812 lg

1шт.

18

394132R91

FLASHER UNIT

FLASHER, safety warning light

1шт.

394133R1

FASTENER

BRACKET, flasher mounting

1шт.

394134R1

SEAL

ABSORBER, flasher mounting

1шт.

19

534848R1

SOCKET

ASSY, tachometer lights

1шт.

20

534848R1

SOCKET

ASSY, cluster gauge lights

1шт.

21

363838R91

CABLE

SOCKET ASSY, fuel gauge light

1шт.

22

383620R91

ELECTRICAL WIRE

SOCKET ASSY, charge indicator gauge light

1шт.

23

363838R91

CABLE

SOCKET ASSY, air cleaner indicator light

1шт.

9417863

BULB,C2F, #1895, 14V

no. 1895 12 volt light, 7 or as required

1шт.

24

107595C91

LAMP

LIGHT ASSY, park brake, Replaces 406016R1, Only serviceable items are

1шт.

71652C1

LENS

1шт.

24929R1

BULB,C2R, #256, 14V

1шт.

25

393209R91

SWITCH

horn, tractors w/horn attachment

1шт.

371487R1

CYLINDER END CAP

CAP, horn switch dust

1шт.

404391R1

CABLE

ASSY, horn switch to junction block

1шт.

25

374342R1

PLUG

horn switch hole, 51/64 OD button, tractors w/o horn attachment

1шт.

26

69436C1

CABLE

ASSY, starter button to junction block

1шт.

27

69437C1

CABLE ASSY.

CABLE ASSY, solenoid to junction block

1шт.

28

69438C1

CABLE

ASSY, charge indicator to fuse light

1шт.

29

69534C1

CABLE

ASSY, fuse to light switch

1шт.

30

69439C1

CABLE

ASSY, Serial Range: flasher-switch

1шт.

31

69440C1

CABLE

ASSY, fuel gauge to air cleaner indicator

1шт.

32

69535C1

CABLE ASSY.

CABLE ASSY, air cleaner, Serial Range: indicator-resistor

1шт.

33

69441C1

BLOCK

CABLE ASSY, junction block to fuse block, live

1шт.

34

69442C2

ELECTRICAL WIRE

CABLE ASSY, junction block to fuse block

1шт.

35

69443C1

CABLE ASSY.

CABLE ASSY, junction block to charge indicator

1шт.

36

69444C1

CABLE ASSY.

CABLE ASSY, ether button to junction block

1шт.

37

69457C1

ELECTRICAL WIRE

CABLE ASSY, solenoid to key switch

1шт.

38

69458C1

CABLE ASSY.

CABLE ASSY, solenoid to key switch

1шт.

39

69449C1

CABLE

ASSY, solenoid charge indicator

1шт.

40

69450C1

CABLE ASSY.

CABLE ASSY, charge, Serial Range: indicator-fuse

1шт.

41

69451C1

CABLE ASSY.

CABLE ASSY, fuse to warning light switch

1шт.

42

69453C1

CABLE ASSY.

CABLE ASSY, junction block to air cleaner indicator

1шт.

43

71222C1

CABLE

ASSY, park brake, Serial Range: light-switch

1шт.

670043C1

CLIP

park brake light cable

1шт.

44

66164C1

CABLE ASSY, park brake light to junction block, Replaces 71223C1

1шт.

46893H

CONNECTION

CONNECTOR, two wire line, Replaces 70024C1

1шт.

70087C1

ROD, CONNECTING

CONNECTOR, three way line

1шт.

377630C1

CONNECTOR, ELEC

SPLICE, quick cable, Replaces 70088C1

9шт.

Выбрано товаров: 85