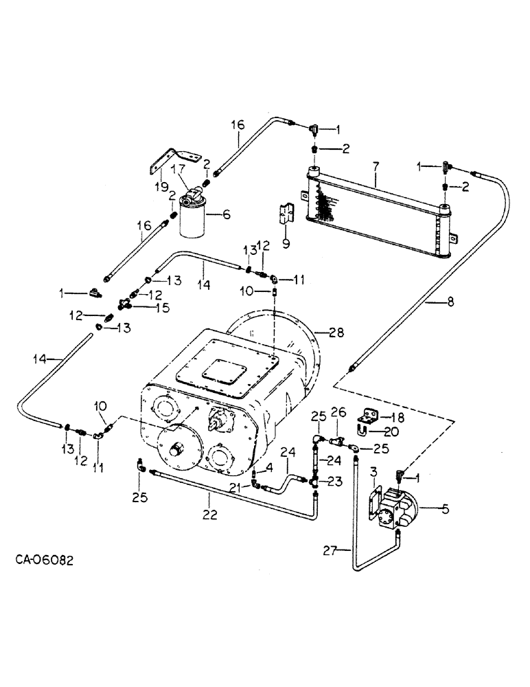
Запчасти Case IH 4366 (10-17) - HYDRAULICS, OIL COOLER CONNECTIONS, 4366 TRACTORS WITH SERIAL NO. 10021 AND ABOVE (07) - HYDRAULICS

Схема запчастей Case IH 4366 - (10-17) - HYDRAULICS, OIL COOLER CONNECTIONS, 4366 TRACTORS WITH SERIAL NO. 10021 AND ABOVE (07) - HYDRAULICS
2
16
26
4
25
12
9
11
24
23
1
10
14
19
13
25
8
2
24
12
13
7
1
25
20
1
12
21
28
2
12
13
16
22
18
11
14
27
17
3
13
10
1
6
5
2
FIT
1:1
100%

Артикул

Название

Примечание

Количество

1

293350R91

UNION

FITTING, 3/8 npt

4шт.

2

217-44

REDUCER,1/2" - 14 NPT x 3/8" - 18 NPT

REDUCER, , Adapter, zid reducing pipe 1/2"-14 NPTF x 3/8"-18 Fem NPTF

4шт.

3

10705V

GASKET

GASKET, oil pump

1шт.

4

192470

PIPE,Nipple, 3/4" NPT x 1 3/8"

NIPPLE, 3/4 x 1-3/8 znp close pipe

1шт.

5

PUMP ASSY, oil, Refer to transmission oil pump listing group 7

1шт.

60000R91

BOLT

SPARE PART BOLT W/WASHER

2шт.

27032R1

BOLT, 3/8 x 3-1/4 phc p/t type 8

4шт.

120382

LOCK WASHER,Helical Spring, 3/8"

WASHER, LOCK, 3/8"

4шт.

6

70203C1

FILTER

FILTER, transmission oil cooler spin-on

1шт.

7

71903C1

COOLER

COOLER ASSY, trans oil

1шт.

8

70146C1

HOSE ASSY.

HOSE ASSY, oil, Serial Range: cooler-pump

1шт.

9

69780C1

ANCHOR

MOUNT, oil cooler

2шт.

180122

BOLT,Hex, 3/8" - 16 x 1", Gr 5

BOLT, 3/8 x 1 type 5

4шт.

9411655

LOCK NUT,3/8"-16, GB

NUT, 3/8 cad p/t lock type 5

4шт.

120394

WASHER,3/8", SAE

WASHER, .406 x .812 x .051

4шт.

10

192050

NIPPLE, LUBE,Nipple, 1/4" NPT x 7/8"

NIPPLE NIPPLE, 1/4 x 7/8 zid close pipe

1шт.

11

NLS

NO LONGER SERVICED

ELBOW, 1/4 pln 90D pipe

1шт.

12

70090C1

FITTING

ADAPTER, 1/4, Serial Range: npt-hose

4шт.

13

279025R91

HOSE CLAMP,#06, .44/.78 Type F Worm

HOSE CLAMP, #06, .44/.78 Type F Worm

4шт.

14

69784C1

HOSE

HOSE, trans oil return

2шт.

15

69783C1

TEE

TEE ASSY, trans oil return

1шт.

16

70147C1

HOSE

HOSE ASSY, oil cooler to return tee

2шт.

17

69781C91

FILTER

FILTER ASSY, trans oil cooler, Consist of ref no. 6

1шт.

113-206

BOLT,Hex, 3/8" - 16 x 3/4", Gr 5, Full Thd

BOLT, 3/8 x 3/4 type 5

1шт.

115093

LOCK WASHER,3/8"

WASHER, LOCK, 3/8"

1шт.

18

132693C1

SPARE PART BRACKET, strainer mtg

1шт.

181126

BOLT,Hex, 3/8"-16 x 2", G5

BOLT, 3/8 x 2 phc type 5

2шт.

120382

LOCK WASHER,Helical Spring, 3/8"

WASHER, LOCK, 3/8"

2шт.

19

69782C1

ANCHOR

MOUNT, transmission filter

1шт.

113-206

BOLT,Hex, 3/8" - 16 x 3/4", Gr 5, Full Thd

BOLT, 3/8 x 3/4 type 5

1шт.

120382

LOCK WASHER,Helical Spring, 3/8"

WASHER, LOCK, 3/8"

4шт.

413-412

BOLT,Hex, 1/4" - 20 x 3/4", Gr 5

BOLT, Hex, 1/4"-20 x 3/4", G5, Full Thd

2шт.

492-11025

LOCK WASHER,1/4"

WASHER, LOCK, 1/4"

2шт.

20

422161C1

BOLT,U, 1/4" - 20 x 2 1/4"

U-BOLT, Serial Range: strainer-bracket

2шт.

120375

NUT,Hex, 1/4" - 20, Gr 5

NUT, 1/4"-20, G5

4шт.

115109

WASHER,1/4"

1/4"

4шт.

21

179533

SPARE PART ELBOW, 3/4 x 1/2 zn 90 deg, reducing pipe

2шт.

22

132697C1

HOSE

HOSE ASSY, trans rear sump - 6 inch

1шт.

23

138105

TEE,1/2" NPT, Fem

TEE, 1/2 pln pipe

1шт.

24

132696C1

SPARE PART HOSE ASSY, trans rear sump - 9 inch

2шт.

25

221-1414

ELBOW,90 Degree, 1/2"-14, NPT

ELBOW, 1/2 zn 90 deg street

3шт.

26

71308C1

STRAINER ASSY.

STRAINER ASSY, oil

1шт.

27

132695C1

SPARE PART HOSE ASSY, Serial Range: strainer-pump

1шт.

28

CASE ASSY, transmission, Refer to transmission group no. 7

1шт.

Выбрано товаров: 0