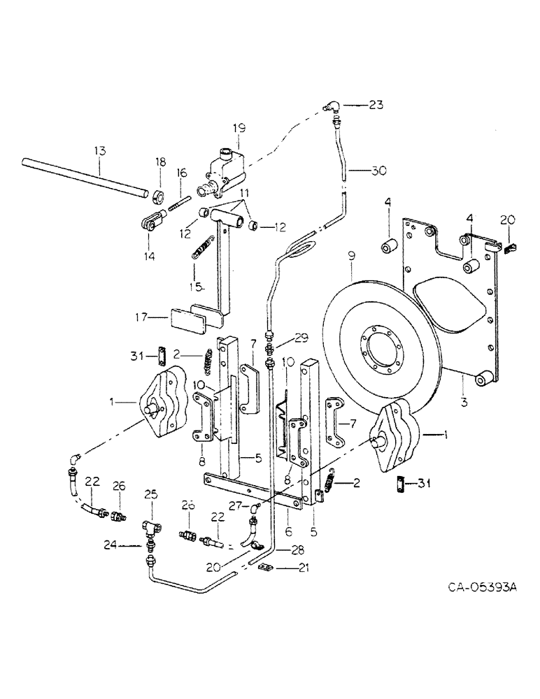
Запчасти Case IH 4386 (04-05) - BRAKES, MASTER BRAKE AND CONTROLS, 4386 TRACTORS WITH SERIAL NO. 1500 AND BELOW (5.1) - BRAKES

Схема запчастей Case IH 4386 - (04-05) - BRAKES, MASTER BRAKE AND CONTROLS, 4386 TRACTORS WITH SERIAL NO. 1500 AND BELOW (5.1) - BRAKES
13
1
5
4
2
16
15
31
9
27
14
5
3
31
21
23
12
7
7
26
8
20
17
28
2
25
29
26
1
6
30
20
11
22
10
24
19
12
8
4
18
10
22
FIT
1:1
100%

Артикул

Название

Примечание

Количество

1

69841C93

BRAKE

ASSY, caliper, For components, See list of parts under detail of caliper brake listing this group

2шт.

2

110495C1

VALVE SPRING

SPRING, caliper brake

2шт.

3

64728C2

PLATE ASSY.

PLATE ASSY, brake mounting

1шт.

426-1040

BOLT,Hex, 5/8" - 11 x 2-1/2", Gr 8

SCREW, 5/8-11 x 2-1/2 hex-hd cap

6шт.

492-11062

BEARING WASHER,5/8"

WASHER, LOCK, 5/8"

6шт.

4

69463C1

SPACER

brake mounting bar

2шт.

5

69464C2

BAR

ASSY, brake mounting

2шт.

20166R1

BOLT,Hex, 5/8" - 11 x 6", Gr 5

SCREW, 5/8-11 x 6 hex-hd cap

2шт.

NLS

NO LONGER SERVICED

21/32 x 1-5/16 x .074

4шт.

9413969

NUT,5/8"-11, GB

5/8-11 hex. prevail torque lock

2шт.

413-1064

BOLT,Hex, 5/8" - 11 x 4", Gr 5

SCREW, 5/8-11 x 4 hex-hd cap

2шт.

6

116900C1

BRACKET

brake line support

1шт.

7

69465C3

PLATE ASSY.

PLATE, brack back

2шт.

8

69466C3

PLATE ASSY.

PLATE, brack front

2шт.

180192

BOLT (SPREADER),Hex, 1/2" - 13 x 3 1/2", Gr 5

SCREW, 1/2-13 x 3-1/12 hex-hd cap

4шт.

120384

WASHER,1/2"

LOCK, 1/2"

4шт.

120390

WASHER,1/2"

17/32 x 1-3/8 x .074

4шт.

9

71616C1

DISC

brake

1шт.

10

69919C1

SHIELD

master brake

2шт.

11

127478C1

PEDAL

ASSY, brake w/bearings

1шт.

12

124658C1

BUSHING

brake pedal

2шт.

13

124660C1

SHAFT

brake and clutch control

1шт.

14

144243

CLEVIS

3/8-24

1шт.

120369

NUT,3/8"-24, G5

1шт.

138084

SPLIT PIN/SAFETY PIN

PIN, clevis

1шт.

15

114220C1

VALVE SPRING

SPRING, pedal return

1шт.

16

114221C1

ROD

brake master cylinder push

1шт.

17

109656C1

BRAKE PAD

PAD, pedal

1шт.

18

610513R1

COLLAR

COLLAR

1шт.

115321

SET SCREW,Hex Skt, 5/16"-18 x 5/16"

SCREW, 5/16-18 x 5/16 hex-soc-hd cup-pt set

1шт.

19

70135C91

MASTER CYLINDER

CYLINDER ASSY, master, For components, See list of parts under detail of master cylinder listing this group

1шт.

180122

BOLT,Hex, 3/8" - 16 x 1", Gr 5

3/8-16 x 1 hex-hd cap

3шт.

120382

LOCK WASHER,Helical Spring, 3/8"

WASHER, LOCK, 3/8"

3шт.

120377

NUT,3/8" - 16, Gr 5

3шт.

20

299399C1

CLIP

CLAMP, 1/4 phc closed

3шт.

436699

SCREW,Slotted Pan Hd, #8-32 x 1"

8-32 x 1 slt-pan-hd mach

3шт.

446143

WASHER

3/16 x 3/8 x .036

3шт.

120622

NUT,#8-32

3шт.

21

69461C1

BRACKET

brake tube clamp

1шт.

22

69775C1

HOSE

ASSY, brake line

2шт.

23

222-762

ELBOW,90 Degree, 7/16"-20, 45 Degree Fl x 1/8" NPT

1/8-27 45 deg flared tube 90 deg

1шт.

24

118748

CONNECTOR, ELEC

CONNECTOR, 1/8 NPT x 45 deg flared tube

1шт.

24

9409935

TEE,1/8"-27 NPTF Fem

1/8-27 auto

1шт.

26

294134R1

CONNECTOR, ELEC

FITTING, int-ext swivel

2шт.

27

9409931

ELBOW,90 Degree, 1/8"-28 NPTF, Fem x 1/8"-27 NPTF Male

1/8-27 auto 90 deg pipe street

2шт.

28

127323C1

TUBE

ASSY, brake lower

1шт.

29

118800

HYD CONNECTOR,1/4" NPT x 7/16"-20, 45 Degree Fl

UNION, 1/4 brass 45 deg flared tube

1шт.

30

129206C1

TUBE ASSY.

TUBE ASSY, brake upper

1шт.

31

104527C1

CLIP, spring

2шт.

Выбрано товаров: 49