Запчасти Case IH 4386 (13-16) - CAB AND SUPERSTRUCTURE, AIR CONDITIONER ATTACHMENT AND CONNECTIONS, 4386 TRACTORS (05) - SUPERSTRUCTURE

Схема запчастей Case IH 4386 - (13-16) - CAB AND SUPERSTRUCTURE, AIR CONDITIONER ATTACHMENT AND CONNECTIONS, 4386 TRACTORS (05) - SUPERSTRUCTURE
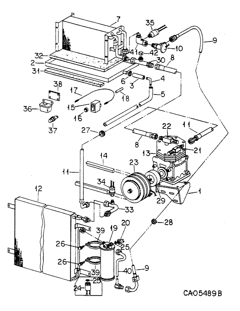
26
38
39
1
19
12
34
2
33
9
13
18
35
28
20
27
42
8
32
11
25
40
1
11
4
3
25
26
24
37
7
10
29
23
16
6
15
41
39
21
14
17
5
36
31
22
8
9
FIT
1:1
100%

Артикул

Название

Примечание

Количество

1

537073R6

BRACKET

BRACKET ASSY, freon compressor

1шт.

26257R1

SET SCREW

SCREW, 3/8-16 x 3 sq-hd cone-pt set

1шт.

124829

JAM NUT,Hex, 3/8" - 16, Gr 5

NUT, Jam, 3/8"-16, G5

1шт.

120382

LOCK WASHER,Helical Spring, 3/8"

WASHER, LOCK, 3/8"

3шт.

21741R1

WASHER

WASHER, .406 x .875 x .105

5шт.

180138

BOLT,Hex, 3/8" - 16 x 3", Gr 5

BOLT, 3/8 x 3 type 5

1шт.

189304

BOLT,Hex, 3/8" - 16 x 3 1/4", Gr 5

BOLT, 3/8 x 3-1/4 type 5

2шт.

120377

NUT,3/8" - 16, Gr 5

NUT, 3/8"-16, G5

3шт.

2

70175C3

PAN

PAN ASSY, condensation, Consists of

1шт.

71751C1

SEALING STRIP

STRIP

1шт.

71753C2

FOAM

STRIP

1шт.

3

TUBE, A/C to elbow drain, Use 12 inch from a roll marked 665181R1

2шт.

4

70176C1

ELBOW

ELBOW, drain tube

2шт.

5

132629C1

SPARE PART HOSE, drain

2шт.

109239C2

CHECK VALVE

VALVE, CHECK, Drain

2шт.

6

279025R91

HOSE CLAMP,#06, .44/.78 Type F Worm

HOSE CLAMP, #06, .44/.78 Type F Worm

2шт.

7

70178C91

RADIATOR

EVAPORATOR ASSY, Includes expansion valve 70179C1

1шт.

146653C1

NUT

NUT, 5/16-18 clip

4шт.

180077

BOLT,Hex, 5/16" - 18 x 3/4", Gr 5

BOLT, 5/16 x 3/4 type 5

4шт.

103320

LOCK WASHER,5/16"

WASHER, LOCK, 5/16"

4шт.

8

70180C1

HOSE

HOSE ASSY, Serial Range: evaporator-compressor

1шт.

9

134550C1

A/C HOSE

HOSE ASSY, evaporator to condenser, Replaces 70294C1

1шт.

10

70179C1

LOCK VALVE

VALVE ASSY, expansion

1шт.

11

118863C1

HOSE ASSY.

HOSE ASSY, Serial Range: compressor-condenser

1шт.

12

134548C91

CAPACITOR

CONDENSER ASSY, Replaces 70184C91 by also ordering tube 134556C1 and clamp 115850H1, Consists of ref nos. 19, 20, 25 and 39

1шт.

180122

BOLT,Hex, 3/8" - 16 x 1", Gr 5

BOLT, 3/8-16 x 1 hex-hd cap

4шт.

120382

LOCK WASHER,Helical Spring, 3/8"

WASHER, LOCK, 3/8"

4шт.

120394

WASHER,3/8", SAE

WASHER, 13/32 x 13/16 x .064

4шт.

120377

NUT,3/8" - 16, Gr 5

NUT, 3/8"-16, G5

4шт.

13

118250C91

COMPRESSOR

COMPRESSOR ASSY, A/C w/screen, For list of components, Refer to compressor listing this group

1шт.

13

1924006C2

REMAN-A/C COMPRESSOR

Reman For New PN 118250C91

1шт.

13

1924007C1

CORE-A/C COMPRESSOR

Return Number

1шт.

a

180124

BOLT,Hex, 3/8" - 16 x 1 1/4", Gr 5

SCREW, 3/8-16 x 1-1/4 hex-hd cap

4шт.

120382

LOCK WASHER,Helical Spring, 3/8"

WASHER, LOCK, 3/8"

4шт.

14

65337C2

V-BELT,0.50" W x 37.63" L

A/C compressor, Serial Range: -1500

1шт.

14

131403C1

V-BELT,0.50" W x 38.50" L

A/C Compressor, Start Serial: 1501

1шт.

15

109268C2

SWITCH

SWITCH, thermostat

1шт.

109311H

JAM NUT

NUT, 7/16-28 hex face

2шт.

16

111282C1

KNOB

KNOB, thermostat switch

1шт.

17

69452C1

CABLE ASSY.

CABLE ASSY, blower, Serial Range: switch-thermostat

1шт.

18

46893H

CONNECTION

CONNECTOR, two wire line

1шт.

19

134552C1

RECEIVER-DRYER,Air Conditioner

RECEIVER, dehydrator, Includes ref nos. 20 and 25, Replaces 70185C91 by also ordering the following parts

1шт.

134556C1

TUBE,11.25" Length

TUBE ASSY, lead

1шт.

155850H1

CLAMP,3/8", 1/4" Bolt

CLAMP, lead tube

1шт.

1250238C1

CLAMP

CLAMP, receiver drier

2шт.

86505867

BOLT,Hex, 1/4" - 20 x 1", Gr 5

BOLT, , For clamp w/o self locking unit Hex, 1/4"-20 x 1", G5

2шт.

454065

SCREW,Hex Hd, #10-32 x 3/4"

SCREW, no. 10NF x 3/4 znd h/hd mach, For clamp w/self locking nut

2шт.

134555C1

NUT

NUT, For clamp w/o self locking nut

2шт.

20

134557C1

SWITCH

SWITCH, low pressure, Replaces 70186C1

1шт.

21

117827C91

LOCK VALVE

VALVE ASSY, service - discharge, Serviceable components are:

1шт.

118185C1

CAP ASSY.

CAP ASSY, valve stem

1шт.

118188C1

CAP

CAP, 1/4 sae 45 deg flare

1шт.

22

117828C91

LOCK VALVE

VALVE ASSY, service - suction, Serviceable components are:

1шт.

118185C1

CAP ASSY.

CAP ASSY, valve stem

1шт.

118188C1

CAP

CAP, 1/4 sae 45 deg flare

1шт.

23

118161C1

CLUTCH ASSY, compressor, Optional w/143405C91, Serviceable components are:

1шт.

634348C1

PULLEY

PULLEY

1шт.

117860C1

SPARE PART COIL

1шт.

221438H1

BEARING ASSY,29.99mm ID x 62mm OD x 26.99mm W

BEARING

1шт.

23

143405C91

PULLEY

CLUTCH ASSY, compressor, Optional with 118161C91, Replaces 111631C91, Serviceable components are:

1шт.

143406C1

PULLEY ASSY.

PULLEY

1шт.

143407C1

COIL ASSY.

COIL

1шт.

221438H1

BEARING ASSY,29.99mm ID x 62mm OD x 26.99mm W

BEARING

1шт.

28203R1

BOLT,Hex, 5/16" - 24 x 1 1/4", Gr 8

BOLT, 5/16NF x 1-1/4 phc type 8 p/t

1шт.

21496R1

WASHER

WASHER, .344 x .750 x .105

1шт.

161108C1

BOLT,Hex Serr, 1/4" - 20 x 1/2"

BOLT, 1/4 x 1/2 flange lock

4шт.

24

70814C1

LOCK VALVE

VALVE ASSY, high pressure relief, Serial Range: -770

1шт.

25

355967R1

O-RING,0.364" ID x 0.003" Width

O-RING, .364 I.D. x .070, Serial Range: -770

1шт.

26

70187C1

SCREW

SCREW, 1/4-14 x 3/8 hex-washer-hd

2шт.

27

NOT USED THIS APPLICATION

1шт.

28

129245C1

GROMMET

GROMMET, evaporator to condenser hose

1шт.

29

70833C1

SEAL

RING, compressor seal and dust guard

1шт.

30

129257C1

ADAPTER,1" OD, 5" Length

SPARE PART TUBE ASSY, evaporator suction

1шт.

31

71750C1

STRIP

STRIP, evaporator foam

1шт.

32

71752C1

STRIP

STRIP, evaporator and heater top foam

1шт.

33

129255C1

ADAPTER

ADAPTER, A/C high pressure switch

1шт.

34

111266C1

SWITCH, A/C HIGH PRE

SWITCH ASSY, high pressure

1шт.

35

111267C3

SWITCH

SWITCH ASSY, low pressure

1шт.

36

437882C1

RELAY

RELAY, A/C lockout

1шт.

37

109369C92

LAMP

LIGHT ASSY, A/C indicator

1шт.

38

132564C1

BRACKET

SPARE PART BAR, air conditioner relay mounting

1шт.

159920

SCREW,Cross Pan Hd, #10 - 24 x 1/2"

SCREW, Cross Pan Hd, #10-24 x 1/2"

2шт.

120217

LOCK WASHER,#10

WASHER, LOCK, #10

2шт.

120361

NUT,Hex Mach Screw, #10 - 24

NUT, #10-24

2шт.

39

1250238C1

CLAMP

CLAMP, receiver drier, Replaces 134554C1, Start Serial: 771

2шт.

86505867

BOLT,Hex, 1/4" - 20 x 1", Gr 5

BOLT, , For clamp w/o self locking unit Hex, 1/4"-20 x 1", G5

2шт.

454065

SCREW,Hex Hd, #10-32 x 3/4"

SCREW, no. 10NF x 3/4 znd h/hd mach, For clamp w/self locking nut

1шт.

134555C1

NUT

NUT, 1/4-20 hex w/washer

1шт.

40

134556C1

TUBE,11.25" Length

TUBE ASSY, lead, Serial Range: -770

1шт.

41

142129C1

ELBOW

ELBOW ASSY, schrader valve

1шт.

42

142155C1

CAP, protective closure

1шт.

Выбрано товаров: 91