Запчасти Case IH 4386 (08-32) - ELECTRICAL, RADIO EQUIPMENT, AM-FM-CB MULTIPLEX (06) - ELECTRICAL

Схема запчастей Case IH 4386 - (08-32) - ELECTRICAL, RADIO EQUIPMENT, AM-FM-CB MULTIPLEX (06) - ELECTRICAL
16
10
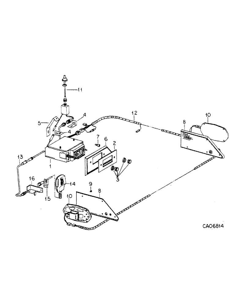
1
15
5
9
4
13
3
6
2
8
12
11
10
14
8
7
FIT
1:1
100%

Артикул

Название

Примечание

Количество

142947C93

RADIO

PARTS ACCESSSORY, AM-FM-CB MPX, Consists of ref. nos. 1, 3, 4, 6, 7, 8, 9, 10, 11, 12, 13, 14, 15 & 16 plus

1шт.

18653R1

BOLT,Hex, 1/4" - 20 x 1/2", Gr 2

1/4 x 1/2 type 1

2шт.

492-11025

LOCK WASHER,1/4"

WASHER, LOCK, 1/4"

4шт.

120375

NUT,Hex, 1/4" - 20, Gr 5

4шт.

1

143328C1

RADIO

AM-FM-CB MPX, Replaces 118438C1 by also ordering microphone 1252436C91, 1252436C91

1шт.

142973C1

NUT

M9 x .75 large shaft

2шт.

142920C1

WASHER

shaft

2шт.

142974C1

NUT

M9 x .75 small shaft

2шт.

142945C1

STUD, adapter

1шт.

174916

LOCK WASHER,Ext-Int Tooth, 1/4"

WASHER, 1/4 ext-int tooth lock

1шт.

120375

NUT,Hex, 1/4" - 20, Gr 5

1шт.

2

118441C1

LARGE PLATE

PLATE, trim

1шт.

Used w/radio, 118438C1.

1шт.

2

1252435C1

PLATE, trim

1шт.

Used w/radio, 143328C1.

1шт.

3

117993C1

PACKAGE

KIT, radio control knobs

1шт.

4

117818C1

ANGLE

radio mtg

2шт.

5

118120C1

SUPPORT

BRACKET, radio mtg

1шт.

77544C1

SCREW,1/4" - 20 x 3/4"

1/4-20 x 3/4 phc h/hd

1шт.

120375

NUT,Hex, 1/4" - 20, Gr 5

1шт.

174916

LOCK WASHER,Ext-Int Tooth, 1/4"

WASHER, 1/4 ext-int tooth lock

1шт.

6

118376C1

PANEL

radio trim

1шт.

Used w/radio, 118438C1.

1шт.

6

1252433C1

PANEL, radio trim

1шт.

Used w/radio, 143328C1.

1шт.

27689R1

SELF-TAP SCREW,Cross Oval Hd, #8 x 1 3/4"

SCREW, #8-18 x 1-3/4 phc o/hdcr tap

5шт.

7

117995C1

PACKAGE

KIT, trim

3шт.

8

111402C2

PANEL

speaker trim LH

1шт.

Used w/parts accessory, 142947C93.

1шт.

8

111403C1

PANEL

speaker trim RH

1шт.

Used w/parts accessory, 142947C93.

1шт.

8

118258C1

PANEL

GRILLE, speaker

2шт.

27689R1

SELF-TAP SCREW,Cross Oval Hd, #8 x 1 3/4"

SCREW, #8-18 x 1-3/4 phc o/hdcr tap

8шт.

132718C1

FASTENER

speaker tgl type plastic

8шт.

9

117730C1

PLUG

plastic

1шт.

10

70727C93

SPEAKER, 4 x 8 8 ohm, Serial Range: -2500

2шт.

10

142956C1

SPEAKER

4 x 8 4 ohm, Start Serial: 2501

2шт.

11

118439C91

ANTENNA

ASSY, combination AM-FM-CB, Consists of

1шт.

142978C1

UNION

COUPLER ASSY

1шт.

142979C1

BASE

ASSY

1шт.

142982C1

VALVE SPRING

SPRING

1шт.

142980C1

SCREW,M6 x 0.86"

1шт.

142981C1

NUT

1шт.

143113C1

SCREW,Hex Skt, M5 x 0.156" L

1шт.

142983C1

BAR

MAST

1шт.

142969C1

NUT

1шт.

142984C1

SCREW,M3 x 3.70"

also purchase locally 2 inches of 1-3/4 inch duct or plastic tape for use in installing antenna

1шт.

12

118440C2

HARNESS

ASSY, radio and speaker, Serial Range: -2500

1шт.

12

143177C1

HARNESS

ASSY, radio & speaker, Start Serial: 2501

1шт.

445635

FUSE,3 Amp, Type 1AG

aga 3 amp

1шт.

13

142946C1

CABLE PULLING GRIP

CABLE ASSY, CB microphone extension

1шт.

13

142995C1

CABLE

ASSY, CB microphone extension

1шт.

Used w/parts accessory, 142947C93.

1шт.

14

118597C91

RADIO

MICROPHONE ASSY, CB radio

1шт.

Used w/radio, 118438C1.

1шт.

14

1252436C91

TRANSMITTER

MICROPHONE ASSY, CB radio

1шт.

Used w/radio, 143328C1.

1шт.

15

118598C1

CLIP

microphone mtg

1шт.

142937C1

SCREW,Phil Pan Hd, #8 - 18 x 1/2"

no, 8-18 x 1/2 cr tap

2шт.

16

118595C1

BRACKET

ASSY, CB microphone mtg

1шт.

444272

SCREW, no. 8 x 1/4 znp p/hdcr l/w mach

2шт.

159592

SCREW,Cross Pan Hd, #8 - 32 x 1/2"

no. 8 x 1/2 znp p/hdcr mach

2шт.

445106

SPARE PART

NUT, 8-32 phc style I

2шт.

Выбрано товаров: 63