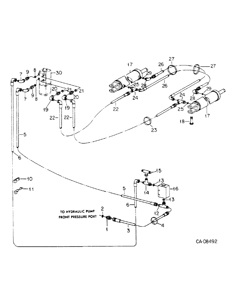
Запчасти Case IH 4386 (10-09) - HYDRAULICS, HYDRAULIC POWER STEERING CONNECTIONS, 4386 TRACTORS WITH SERIAL NO. 1500 AND BELOW (07) - HYDRAULICS

Схема запчастей Case IH 4386 - (10-09) - HYDRAULICS, HYDRAULIC POWER STEERING CONNECTIONS, 4386 TRACTORS WITH SERIAL NO. 1500 AND BELOW (07) - HYDRAULICS
17
6
30
1
25
26
22
28
28
8
27
21
17
14
6
4
21
5
27
2
18
20
19
15
5
29
29
23
22
26
13
13
24
22
25
16
19
11
10
20
7
8
12
24
3
9
7
9
FIT
1:1
100%

Артикул

Название

Примечание

Количество

1

469736R1

HYD CONNECTOR,7/8"-14, 37 Degree x 1 3/16"-12, O-Ring

CONNECTOR, C-Z hyd fld 7/8 to 5/8 sht, pump front port

1шт.

2

297459R1

O-RING,0.116" Thk x 1.048" ID, -914, Cl 6, 90 Duro

7/8 OD tube class 6

1шт.

3

70144C2

HOSE

ASSY, pump to relief valve

1шт.

4

289862C1

CABLE TIE,3/16" x 7"

STRAP, tie

4шт.

5

116666C1

HOSE ASSY.

HOSE ASSY, steering relief, Serial Range: valve-orbitrol

1шт.

6

123336C1

HOSE ASSY.

HOSE ASSY, steering, Serial Range: pump-valve

1шт.

7

9410282

ELBOW,90 Degree, 7/8"-14, 37 Degree x 7/8"-14, 37 Degree Fem Sw

5/8 C-Z hyd fld 90D swivel, orbitrol in & out ports

2шт.

8

570828R1

O-RING,0.087" Thk x 0.644" ID, -908, Cl 6, 90 Duro

1/2 OD tube class 6

2шт.

9

384539R1

HYD CONNECTOR,7/8"-14, 37 Degree x 3/4"-16, O-Ring

CONNECTOR, C-Z hyd fld 5/8 to 1/2 sht, orbitrol in & out ports

2шт.

10

127342C1

CLAMP

pump to relief valve hose

2шт.

120396

WASHER

.531 x 1.062 x .074

1шт.

180173

BOLT,Hex, 1/2" - 13 x 1", Gr 5

1шт.

120394

WASHER,3/8", SAE

WASHER, .406 x .812 x .051

1шт.

11

NOT USED IN THIS APPLICATION

1шт.

12

9411119

TEE,7/8"-14, 37 Degree x 7/8"-14, O-Ring Br

5/8 C-Z hyd fld tube adj, relief valve primary bottom

1шт.

13

364885R1

O-RING,0.097" Thk x 0.755" ID, -910, Cl 6, 90 Duro

5/8 OD tube class 6

2шт.

14

9411132

TEE,7/8"-14, 37 Degree x 7/8"-14, O-Ring Run

5/8 C-Z hyd fld tube adj, relief valve primary side

1шт.

15

9410308

TEE,37 Degree, 7/8"-14 x 7/8"-14, Fem Sw Br

5/8 C-Z hyd fld tube swivel, relief valve secondary

1шт.

16

60053C91

VALVE ASSY, steering relief, For components see list of parts under details of steering relief valve

1шт.

180138

BOLT,Hex, 3/8" - 16 x 3", Gr 5

3/8 x 3 type 5

2шт.

120382

LOCK WASHER,Helical Spring, 3/8"

WASHER, LOCK, 3/8"

2шт.

120377

NUT,3/8" - 16, Gr 5

2шт.

17

CYLINDER ASSY, steering, For components see list of parts under details of steering cylinder

1шт.

18

127335C1

BOLT,Hex, 1 1/8" - 12 x 4", Drilled

BOLT, steering cylinder

4шт.

425-1918

SLOTTED NUT,1 1/8"-12, G5, Thk

NUT, 1-1/8 znd slt-thk type 5

4шт.

432-1240

COTTER PIN,3/16" x 2 1/2"

Pin, Split (Cotter), 3/16" x 2 1/2"

4шт.

21716R1

WASHER

1.156 x 1.750 x .054

4шт.

19

9410281

ELBOW,90 Degree, 3/4"-16, 37 Degree x 3/4"-16, 37 Degree Fem Sw

1/2 C-Z hyd fld 90D swivel, orbitrol L & R ports

2шт.

20

9410203

HYD CONNECTOR,3/4"-16, 37 Degree x 3/4"-16, O-Ring

CONNECTOR, 1/2 C-Z hyd fld short swivel, orbitrol L & R ports

2шт.

21

570828R1

O-RING,0.087" Thk x 0.644" ID, -908, Cl 6, 90 Duro

1/2 OD tube class 6

2шт.

22

109941C1

HOSE

ASSY, strg pump to cylinder tee

2шт.

23

535394R1

STRAP

tie

3шт.

24

9411131

TEE,3/4"-16, 37 Degree x 3/4"-18, O-Ring Run

1/2 C-Z hyd fld tube adj

2шт.

25

570828R1

O-RING,0.087" Thk x 0.644" ID, -908, Cl 6, 90 Duro

O-RIN, 1/2 OD tube class 6

2шт.

26

124948C1

HYDRAULIC HOSE

HOSE ASSY, cylinder to cylinder, Replaces 116670C1

2шт.

27

289862C1

CABLE TIE,3/16" x 7"

STRAP, tie

4шт.

28

9410977

ELBOW,90 Degree, 3/4"-16, 37 Degree x 3/4"-16, O-Ring

1/2 C-Z hyd fld adj 90D

2шт.

29

570828R1

O-RING,0.087" Thk x 0.644" ID, -908, Cl 6, 90 Duro

1/2 OD tube class 6

2шт.

30

ORBITROL ASSY, steering pump, For components see list of parts under details of steering orbitrol

1шт.

Выбрано товаров: 39