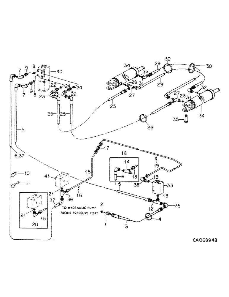
Запчасти Case IH 4386 (10-11) - HYDRAULICS, HYDRAULIC POWER STEERING CONNECTIONS, 4386 TRACTOR WITH SERIAL NO. 1501 AND ABOVE (07) - HYDRAULICS

Схема запчастей Case IH 4386 - (10-11) - HYDRAULICS, HYDRAULIC POWER STEERING CONNECTIONS, 4386 TRACTOR WITH SERIAL NO. 1501 AND ABOVE (07) - HYDRAULICS
16
23
15
34
30
27
37
3
18
8
17
8
37
29
33
6
36
25
31
18
11
35
7
39
13
13
28
20
26
5
30
9
24
25
23
27
21
32
15
22
31
10
38
12
9
34
21
28
29
6
2
32
41
7
14
19
40
1
4
5
25
24
22
FIT
1:1
100%

Артикул

Название

Примечание

Количество

1

469736R1

HYD CONNECTOR,7/8"-14, 37 Degree x 1 3/16"-12, O-Ring

CONNECTOR, C-Z hyd fld 7/8 to 5/8 sht, pump front port

1шт.

2

297459R1

O-RING,0.116" Thk x 1.048" ID, -914, Cl 6, 90 Duro

7/8 OD tube

1шт.

3

70144C2

HOSE

ASSY, pump to relief valve

1шт.

4

289862C1

CABLE TIE,3/16" x 7"

STRAP, tie

4шт.

5

116666C1

HOSE ASSY.

HOSE ASSY, steering relief valve

1шт.

6

123336C1

HOSE ASSY.

HOSE ASSY, steering pump to steering valve, Serial Range: -2149

1шт.

7

9410282

ELBOW,90 Degree, 7/8"-14, 37 Degree x 7/8"-14, 37 Degree Fem Sw

5/8 C-Z hyd fld 90D swivel, orbitrol in & out ports, Start Serial: 2500

2шт.

8

570828R1

O-RING,0.087" Thk x 0.644" ID, -908, Cl 6, 90 Duro

1/2 OD tube

2шт.

9

384539R1

HYD CONNECTOR,7/8"-14, 37 Degree x 3/4"-16, O-Ring

CONNECTOR, C-Z hyd fld 5/8 to 1/2 sht, orbitrol in & out ports

2шт.

10

127342C1

CLAMP

hand pump to steering relief valve hose, Serial Range: -2149

1шт.

120394

WASHER,3/8", SAE

WASHER, .406 x .812 x .051

1шт.

11

134697C1

CLIP, hand pump to steering relief valve hose, Serial Range: -2149

1шт.

131016

WASHER

.656 x 1.312 x .074

1шт.

12

9411119

TEE,7/8"-14, 37 Degree x 7/8"-14, O-Ring Br

5/8 C-Z hyd fld tube adj, relief valve primary bottom

1шт.

13

364885R1

O-RING,0.097" Thk x 0.755" ID, -910, Cl 6, 90 Duro

5/8 OD tube

2шт.

14

9411132

TEE,7/8"-14, 37 Degree x 7/8"-14, O-Ring Run

5/8 C-Z hyd fld tube adj, Serial Range: -2149

1шт.

15

134773C1

TUBE

ASSY, steering relief valve supply bottom

1шт.

16

470453R1

CLIP

strg relief tube bottom

2шт.

273924

SNAP RING

NUT, 1/4 cad p/t lock type 5

2шт.

17

9402788

UNION,7/8"-14, 37 Degree x 7/8"-14, 37 Degree

5/8 C-Z hyd flared tube

1шт.

18

134772C1

TUBE ASSY.

TUBE ASSY, strg relief valve supply top

1шт.

19

470453R1

CLIP

strg relief tube top

2шт.

231-4144

NUT,1/4"-20, GB

NUT, 1/4 cad p/t lock type 5

2шт.

20

9410978

ELBOW,90 Degree, 7/8"-14, 37 Degree x 7/8"-14, O-Ring

5/8 C-Z hyd fld adj 90D, Serial Range: -2149

1шт.

21

364885R1

O-RING,0.097" Thk x 0.755" ID, -910, Cl 6, 90 Duro

5/8 OD tube

2шт.

22

9410203

HYD CONNECTOR,3/4"-16, 37 Degree x 3/4"-16, O-Ring

CONNECTOR, 3/4-16 37 deg hyd flared tube short swivel orbitrol L & R ports

2шт.

23

142178C1

ADAPTER, 3/4-16 90 deg tube, orbitrol L & R ports

2шт.

24

570828R1

O-RING,0.087" Thk x 0.644" ID, -908, Cl 6, 90 Duro

1/2 OD tube

2шт.

25

109941C1

HOSE

ASSY, strg pump to cyl tee

2шт.

26

289862C1

CABLE TIE,3/16" x 7"

STRAP, tie

1шт.

27

9411131

TEE,3/4"-16, 37 Degree x 3/4"-18, O-Ring Run

1/2 C-Z hyd fld tube adj, cylinder front port

2шт.

28

570828R1

O-RING,0.087" Thk x 0.644" ID, -908, Cl 6, 90 Duro

1/2 OD tube

2шт.

29

124948C1

HYDRAULIC HOSE

HOSE ASSY, Serial Range: cyl-cyl

2шт.

30

289862C1

CABLE TIE,3/16" x 7"

STRAP, tie

4шт.

31

9410977

ELBOW,90 Degree, 3/4"-16, 37 Degree x 3/4"-16, O-Ring

1/2 C-Z hyd fld adj 90D, cylinder rear port

2шт.

32

570828R1

O-RING,0.087" Thk x 0.644" ID, -908, Cl 6, 90 Duro

1/2 OD tube

2шт.

33

60053C91

VALVE ASSY, steering relief, For components, See list of parts under details of steering relief valve

1шт.

180138

BOLT,Hex, 3/8" - 16 x 3", Gr 5

3/8 x 3 type 5

2шт.

120382

LOCK WASHER,Helical Spring, 3/8"

WASHER, LOCK, 3/8"

2шт.

120377

NUT,3/8" - 16, Gr 5

2шт.

34

113837C91

CYLINDER

ASSY, steering, For components, See list of parts under details of steering cylinder

2шт.

35

127335C1

BOLT,Hex, 1 1/8" - 12 x 4", Drilled

BOLT, steering cyl

4шт.

425-1918

SLOTTED NUT,1 1/8"-12, G5, Thk

NUT, 1-1/8-12 slt

4шт.

432-1240

COTTER PIN,3/16" x 2 1/2"

Pin, Split (Cotter), 3/16" x 2 1/2"

4шт.

21716R1

WASHER

1.156 x 1.750 x .054

4шт.

36

9410282

ELBOW,90 Degree, 7/8"-14, 37 Degree x 7/8"-14, 37 Degree Fem Sw

5/8 C-Z hyd fld 90D shivel

1шт.

37

142154C1

HOSE

ASSY, steering pump to regulator valve, Serial Range: 2150-2500

1шт.

37

147166C1

HOSE ASSY.

HOSE ASSY, steering pump to regulator valve, Start Serial: 2501

1шт.

38

9410978

ELBOW,90 Degree, 7/8"-14, 37 Degree x 7/8"-14, O-Ring

5/8 C-Z hyd fld adj 90D, Start Serial: 2150

1шт.

39

9411132

TEE,7/8"-14, 37 Degree x 7/8"-14, O-Ring Run

5/8 C-Z hyd fld tube adj, Start Serial: 2150

1шт.

40

ORBITROL ASSY, steering pump, For components, See list of parts under details of steering orbitrol

1шт.

41

VALVE ASSY, brake regulator, Refer to hydraulic brake connections this group

1шт.

Выбрано товаров: 52