Запчасти Case IH 4490 (6-156) - POWER SHIFT LINKAGE (06) - POWER TRAIN

Схема запчастей Case IH 4490 - (6-156) - POWER SHIFT LINKAGE (06) - POWER TRAIN
14
3
40
41
1
38
12
22
30
6
35
17
37
17
8
4
24
39
11
29
28
16
7
25
27
21
20
26
27
18
2
5
23
9
19
36
15
31
13
FIT
1:1
100%

Артикул

Название

Примечание

Количество

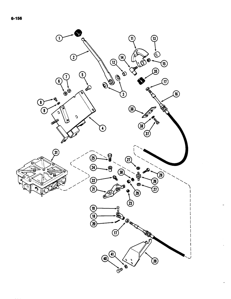
1

A137806

KNOB

- hand level

1шт.

2

A137858

LEVER

- control

1шт.

A59662

WASHER

- beveled

2шт.

4

A138833

BRACKET

- level mounting

1шт.

5

113-207

BOLT,Hex, 3/8" - 16 x 1", Gr 5

4шт.

6

129-103

NUT,Hex, 3/8" - 16, Gr 5

NUT, 3/8"-16, G5

4шт.

7

92-6

LOCK WASHER,3/8"

4шт.

8

113-207

BOLT,Hex, 3/8" - 16 x 1", Gr 5

(Lever stop) Hex, 3/8"-16 x 1", G5, Full Thd

1шт.

9

25-146

JAM NUT,Jam, 3/8"-16, G5

- jam, 3/8" NC hex

1шт.

11

A143835

QUADRANT

ASSEMBLY - shift lever (Replaces A61862), Includes: Ref. 12

1шт.

12

A59429

BUSHING,15.95mm ID x 19.13mm OD x 12.83mm L

- pivot

1шт.

13

A75379

BUSHING

SPACER - quadrant

1шт.

14

A75991

BALL

JOINT - ball, Serial Range: cable-quadrant

1шт.

15

131-5

LOCK NUT,3/8"-16, GB

NUT - lock, 3/8" NF hex

1шт.

16

A143872

CABLE

- control, power shift valve (Also order A161072 grommet)

1шт.

17

113-5

BOLT,Hex, 1/4" - 20 x 1-1/2", Gr 5

NUT - lock, 1/4" NC hex

2шт.

18

A60663

YOKE

-, Serial Range: cable-lever

2шт.

19

141-54

CLEVIS PIN,3/8" x 1 1/16"

2шт.

20

132-26

COTTER PIN

Pin, Split (Cotter), 3/32" x 3/4"

1шт.

21

A59771

LEVER

- valve spool

1шт.

22

A59774

ADJUSTMENT SCREW,5/16" - 18 x 1 3/8", Mild Steel

SCREW - adjusting, lever

1шт.

23

425-145

JAM NUT,Jam, 5/16"-18, G5

1шт.

24

A59772

BUSHING

- lever pivot

1шт.

25

113-410

BOLT,Hex, 1/2" - 13 x 1-1/2", Gr 5, Full Thd

1шт.

26

A59150

LINK

- spool operating

1шт.

27

A59773

RING

- retaining

2шт.

28

113-17

BOLT,Hex, 1/4" - 20 x 1-1/4", Gr 5

1шт.

29

25-104

NUT,1/4"-20, G5

1шт.

30

92-4

LOCK WASHER,1/4"

WASHER, LOCK, 1/4"

1шт.

31

REF

INSTRUCTION

VALVE ASSEMBLY - control, power shift (See Figure 8-260)

1шт.

35

A161072

GROMMET

- firewall, control cable

1шт.

36

A152517

PLATE

- grommet cover

1шт.

37

113-209

BOLT,Hex, 3/8" - 16 x 1-1/2", Gr 5

1шт.

38

192-21

LOCK WASHER,3/8"

WASHER, LOCK, 3/8"

1шт.

39

A75975

BRACKET

BULKHEAD - control cable

1шт.

40

113-417

BOLT,Hex, 1/2" - 13 x 1-1/4", Gr 5, Full Thd

2шт.

41

192-23

LOCK WASHER,1/2"

WASHER, LOCK, 1/2"

2шт.

Выбрано товаров: 37