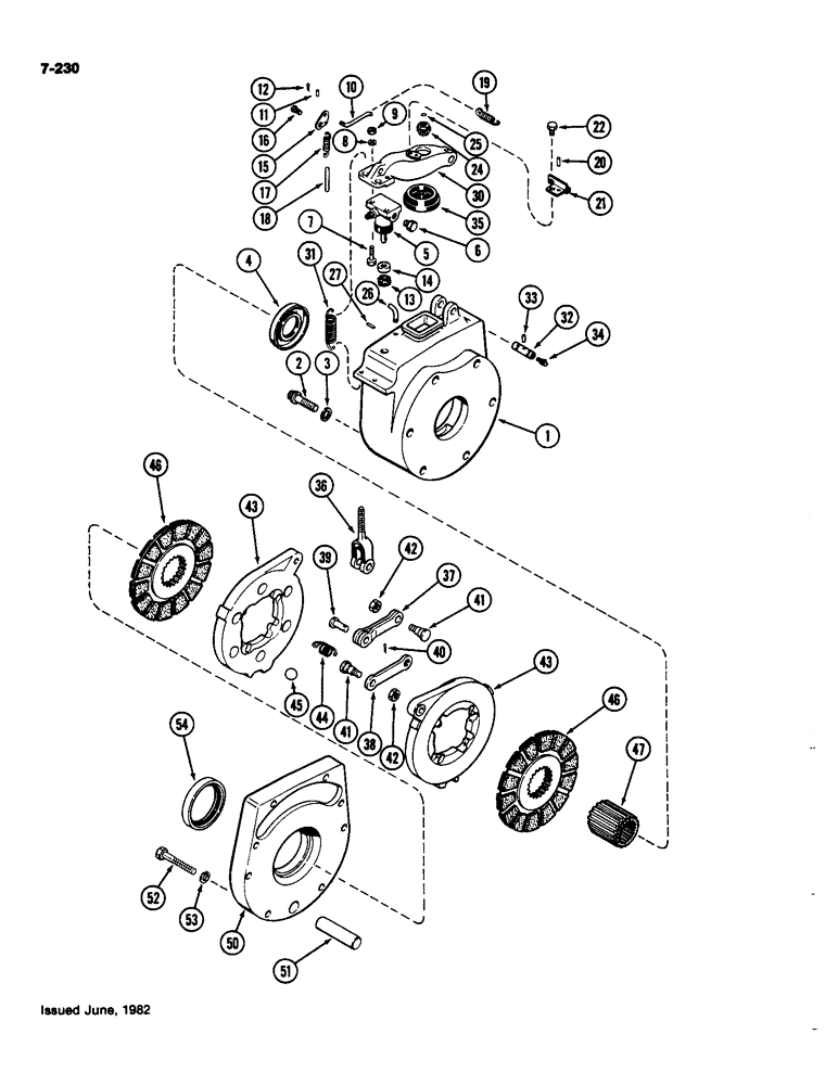
Запчасти Case IH 4490 (7-230) - TRANSMISSION BRAKE (07) - BRAKES

Схема запчастей Case IH 4490 - (7-230) - TRANSMISSION BRAKE (07) - BRAKES
32
36
27
53
41
15
21
19
42
18
11
41
25
10
43
16
13
51
14
26
43
46
44
47
9
54
24
30
20
31
6
35
37
7
3
2
4
5
12
42
22
1
46
34
33
38
45
52
8
50
40
39
17
FIT
1:1
100%

Артикул

Название

Примечание

Количество

1

A157497

HOUSING

- brake assembly (Replaces A152351)

1шт.

2

A152420

BOLT

- housing to transmission, 5/8 x 2-1/4" NC 12 point head

16шт.

3

A64303

WASHER

- mounting bolt

6шт.

4

A152352

OIL SEAL

- oil, housing

1шт.

5

A62483

CYLINDER

ASSEMBLY - slave (See Figure 7-236)

1шт.

6

222-1062

PLUG,7/16"-24, Inv Fl

1шт.

7

113-17

BOLT,Hex, 1/4" - 20 x 1-1/4", Gr 5

2шт.

8

92-4

LOCK WASHER,1/4"

WASHER, LOCK, 1/4"

2шт.

9

25-104

NUT,1/4"-20, G5

2шт.

10

A59607

ROD

-, Serial Range: cam-ratchet

1шт.

11

138-92

LOCK PIN,3/16" x 3/4", Slotted

PIN, 3/16" x 3/4", Slotted

1шт.

12

132-5

COTTER PIN,1/16" x 1/2"

Pin, Split (Cotter), 1/16" x 1/2"

1шт.

13

A30011

SEAL

- felt, 3/8 x 13/16 x 3/8" (9.52 x 20.64 x 9.52 mm)

1шт.

14

A155602

SEAL

- dirt, 3/8 x 27/32 x 13/64" (9.52 x 21.43 x 5.16 mm)

1шт.

15

A64490

CAM

- adjusting

1шт.

16

A58471

STEP BOLT

BOLT - shoulder, Serial Range: cam-arm

1шт.

17

A60489

SPRING

- tension, cam

1шт.

18

A61216

ROD

- stop, cam

1шт.

19

A60555

SPRING

- tension, cam to ratchet rod

1шт.

20

138-20

LOCK PIN,5/64" x 1/2", Slotted

PIN, 5/64" x 1/2", Slotted

1шт.

21

A59609

BRACKET

- tension spring

1шт.

22

113-205

BOLT,Hex, 3/8" - 16 x 5/8", Gr 5

1шт.

24

A151674

NUT

- ratchet, rod adjusting

1шт.

25

A27891

O-RING,0.103" Thk x 0.362" ID, -110, Cl 5, 75 Duro

- nut

1шт.

26

A59319

STUD

- adjusting spring hold

1шт.

27

138-71

LOCK PIN,5/32" x 5/8", Slotted

PIN, 5/32" x 5/8", Slotted

1шт.

30

A154640

LEVER

- brake actuating (Replaces A62923)

1шт.

31

A35789

SPRING

- lever return

2шт.

32

A154569

PIN

- pivot, lever to housing (Replaces A62822)

1шт.

33

138-98

LOCK PIN,3/16" x 1 1/4", Slotted

PIN, 3/16" x 1 1/4", Slotted

1шт.

34

219-55

LUBE NIPPLE,90 Degree Elbow, 1/8" - 27 NPTF

NIPPLE, LUBE, 90º, 1/8" NPT x .84" lg

1шт.

35

A146418

COVER

- dust, brake rod

1шт.

36

A136767

ROD

- activating lever to brake assembly

1шт.

37

A136768

LINK

- straddle, Serial Range: rod-disc

1шт.

38

A136769

LINK

- straight, Serial Range: rod-disc

1шт.

39

141-7

CLEVIS PIN,5/8" x 1.610"

PIN - yoke, 5/8"

1шт.

40

132-48

COTTER PIN,1/8" x 1"

Pin, Split (Cotter), 1/8" x 1"

1шт.

41

A136771

STEP BOLT

BOLT - shoulder, Serial Range: link-disc

2шт.

42

129-165

JAM NUT,Jam, 1/2"-20, G5

2шт.

43

A136772

DISC

- brake actuating

2шт.

44

A41864

SPRING

- tension

4шт.

45

211-223

BALL,1" Dia

- 1" (25.4 mm) diameter chrome

6шт.

46

A153056

DISC

- brake (Includes lining)

2шт.

47

A152348

HUB

- brake adapter

1шт.

50

A136764

COVER

- brake assembly

1шт.

51

A136770

PIN

- anchor, brake assembly

1шт.

52

13-840

BOLT,Hex, 1/2" - 13 x 2-1/2", Gr 5

- 1/2 x 2-1/2" NC hex (Grade 5)

8шт.

53

92-8

LOCK WASHER,1/2"

8шт.

54

A152354

OIL SEAL,66.6mm ID x 111.28mm OD x 13.08mm Thk

- oil, rear

1шт.

Выбрано товаров: 49