Запчасти Case IH 4490 (9-424) - CAB, CONTROL PANEL (09) - CHASSIS/ATTACHMENTS

Схема запчастей Case IH 4490 - (9-424) - CAB, CONTROL PANEL (09) - CHASSIS/ATTACHMENTS
4
1
17
17
6
20
19
14
8
13
16
3
7
13
18
11
10
12
15
12
9
2
5
FIT
1:1
100%

Артикул

Название

Примечание

Количество

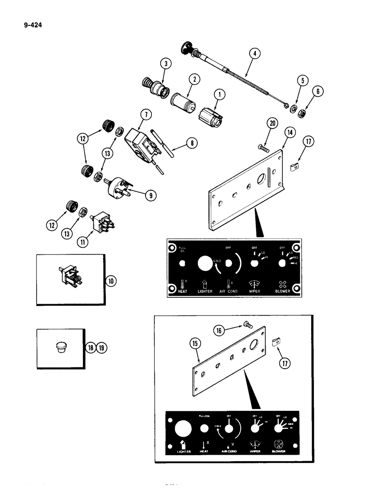
1

F63738

CIGAR LIGHTER

SHELL - clamp, cigar lighter

1шт.

2

F63530

SOCKET/RECEPTACLE

SOCKET - lighter

1шт.

3

A143340

SWITCH

ELEMENT - push in, lighter

1шт.

4

A42614

CABLE

ASSEMBLY - heat control, Includes: Ref. 5 and 6

1шт.

5

92-6

LOCK WASHER,3/8"

1шт.

6

87016560

JAM NUT,Jam, 3/8"-16, G5

1шт.

7

L73646

SWITCH

- temperature control

1шт.

8

F64494

TUBE

- nylon, thermal shield, 1/4" OD x 12" long (6.35 x 304.8 mm)

1шт.

9

F43359

SWITCH

- wiper motor

1шт.

10

F63866

SWITCH

- blower (Used prior to Cab Serial No. 12016090)

1шт.

11

A42622

SWITCH

- blower (Used Cab Serial No. 12016090 and after)

1шт.

12

A42578

KNOB

- control switch

3шт.

13

A42561

JAM NUT,Hex, 7/16" - 28, RH Thd

- mounting, control switch (7/16" NF)

3шт.

14

F64503

PANEL

- control (Cab Serial No. 12036610 and after)

1шт.

15

F63875

PANEL

- control (Prior to Cab Serial No. 12036610)

1шт.

16

182-550

SCREW,Cross Pan Hd, #10-24 x 1/2"

- #10-24 x 1/2" pan head

4шт.

17

131-861

SPRING NUT,Tinn, U, #10-24

4шт.

18

353-402

PLUG,Dome, .375" hole, Nylon

1шт.

19

353-403

PLUG,Dome, .437" hole, Nylon

(11 mm) Dome, .437" hole, Nylon

1шт.

20

179-155

SCREW,Cross Oval Hd, #10 - 24 x 3/4"

- #10-24 x 3/4" Phillips oval head

4шт.

Выбрано товаров: 20