Запчасти Case IH 4490 (2-048) - OIL PAN, 504BDT DIESEL ENGINE (02) - ENGINE

Схема запчастей Case IH 4490 - (2-048) - OIL PAN, 504BDT DIESEL ENGINE (02) - ENGINE
11
1
13
3
12
4
7
6
13
10
2
5
FIT
1:1
100%

Артикул

Название

Примечание

Количество

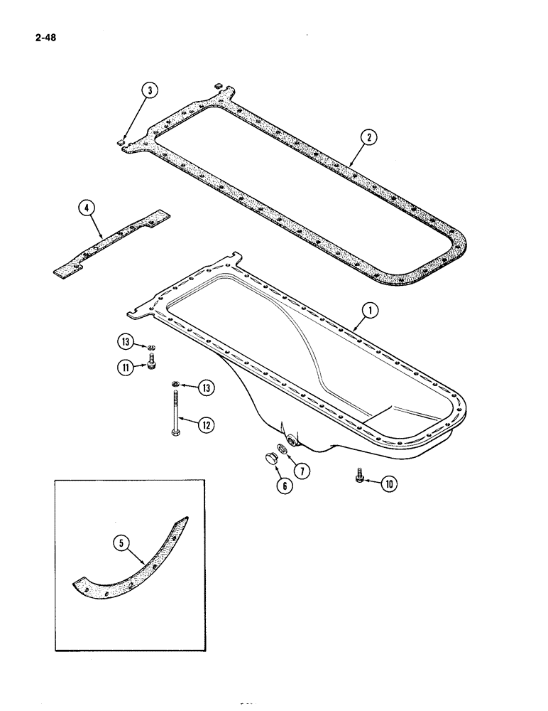
1

A148755

PAN, ENGINE OIL

PAN - OIL

1шт.

A152479

GASKET KIT

KIT - gasket, oil pan, Includes: Ref. 1 - 7

1шт.

2

A150688

GASKET

-, Serial Range: pan-block

1шт.

A152424

GASKET

KIT - gasket (Used when tractor is split and oil pan not removed), Includes: Ref. 3 - 5

1шт.

3

A150690

OIL PAN GASKET SET

- corner tabs

2шт.

4

A150689

GASKET

- flywheel housing cover

1шт.

5

A57966

GASKET

- flywheel housing cover to clutch housing

1шт.

6

A34826

PLUG,7/8" - 18 ORB

- drain

1шт.

7

A27968

RING

- drain plug

1шт.

10

132-36

COTTER PIN,Ext Prong Sq Cut, 3/32" x 2"

BOLT - 3/8 x 7/8" NC hex Sems (Includes lock washer)

28шт.

11

166-46

12 PT SCREW,Flg, 3/8" - 16 x 1 1/4", Gr 8

SCREW - 3/8 x 1-1/4" NC ferry head (rear outside holes)

2шт.

12

113-2232

BOLT,Hex, 3/8" - 16 x 5-1/2", Gr 5

- 3/8 x 5-1/2" NC hex (rear inside holes)

2шт.

13

192-21

LOCK WASHER,3/8"

WASHER, LOCK, 3/8"

4шт.

Выбрано товаров: 13