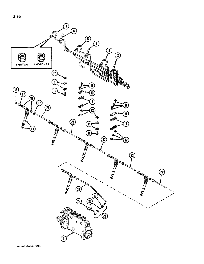
Запчасти Case IH 4490 (3-060) - FUEL INJECTION SYSTEM, 504BDT DIESEL ENGINE (03) - FUEL SYSTEM

Схема запчастей Case IH 4490 - (3-060) - FUEL INJECTION SYSTEM, 504BDT DIESEL ENGINE (03) - FUEL SYSTEM
7
1
27
12
8
23
26
17
13
22
11
22
5
22
17
4
11
23
15
6
12
11
12
3
8
9
27
2
25
8
10
11
24
8
16
FIT
1:1
100%

Артикул

Название

Примечание

Количество

1

REF

INSTRUCTION

PUMP ASSEMBLY - fuel injection (See Figure 3-056)

1шт.

2

A156885

TUBE

- fuel injection, #1 cyclinder, one notch on nut

1шт.

2

A156879

NOZZLE INJECTION

TUBE - fuel injection, #1 cyclinder, two notches on nut (Replaces A76645)

1шт.

3

A156886

TUBE

- fuel injection, #2 cyclinder, one notch on nut

1шт.

3

A156880

TUBE ASSY.

TUBE - fuel injection, #2 cylinder, two notches on nut (Replaces A76646)

1шт.

4

A156887

TUBE

- fuel injection, #3 cylinder, one notch on nut

1шт.

4

A156881

TUBE

- fuel injection, #3 cylinder, two notches on nut (Replaces A76647)

1шт.

5

A156888

TUBE

- fuel injection, #4 cylinder, one notch on nut

1шт.

5

A156882

TUBE

- fuel injection, #4 cylinder, two notches on nut (Replaces A76648)

1шт.

6

A156889

TUBE

- fuel injection, #5 cylinder, one notch on nut

1шт.

6

A156883

TUBE

- fuel injection, #5 cylinder, two notches on nut (Replaces A76649)

1шт.

7

A156890

PIPE

TUBE - fuel injection, #6 cylinder, one notch on nut

1шт.

7

A156884

TUBE

- fuel injection, #6 cylinder, two notches on nut (Replaces A76650)

1шт.

8

A58709

BRACKET

- injection tube

14шт.

9

A58708

PLATE

- bracket mounting (6 tubes)

1шт.

10

A58710

PLATE

- bracket mounting (4 tubes)

1шт.

11

163-19

SCREW,Sl Hex Wshr Hd, #10 - 24 x 1"

- #10-24 x 1" hex slotted

7шт.

12

131-612

SPRING NUT,Flat, #10 - 24, 0.022" Thk

NUT - speed, #10-24 Tinnerman

7шт.

13

REF

INSTRUCTION

NOZZLE ASSEMBLY - fuel injection (See Figure 3-062)

6шт.

15

47-37

RIVET,FH, 3/16" x 7/16"

- plug, 3/16 x 7/16" flat head

1шт.

16

222-101

SLEEVE,3/16" Tube

- (4.76 mm) 3/16" Tube

12шт.

17

222-111

TUBE NUT,7/16" - 24

NUT - 3/16" tube (4.76 mm)

12шт.

22

A76642

TUBE

- leak-off, 4-11/16" (119 mm) long

3шт.

23

A76641

TUBE

- leak-off, 5-3/4" (127 mm) long

2шт.

24

A153816

TUBE

- leak-off, #1, Serial Range: nozzle-valve

1шт.

25

A59097

VALVE

ASSEMBLY - check

1шт.

26

222-102

SLEEVE,1/4" Tube

(6.35 mm) 1/4" Tube

1шт.

27

87017024

TUBE NUT,1/2"-24

NUT - 1/4" tube (6.35 mm)

1шт.

Выбрано товаров: 28