Запчасти Case IH 4490 (4-076) - LIGHTS AND WIRING (04) - ELECTRICAL SYSTEMS

Схема запчастей Case IH 4490 - (4-076) - LIGHTS AND WIRING (04) - ELECTRICAL SYSTEMS
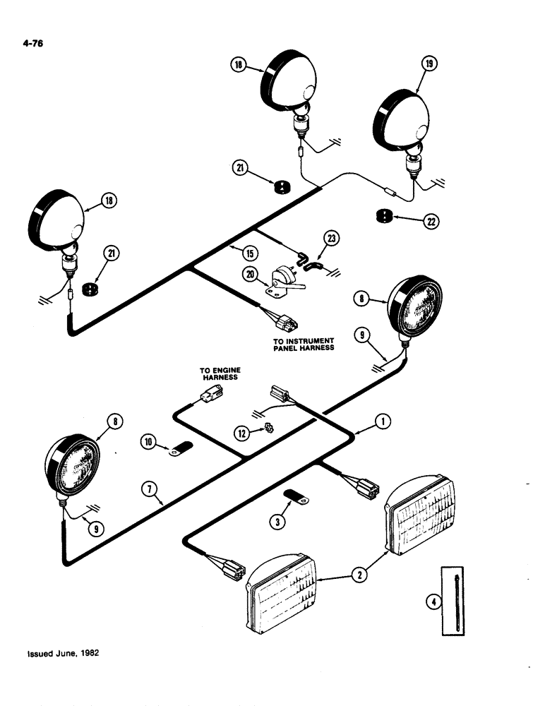
18
23
9
8
8
21
7
19
2
20
12
1
9
3
4
10
21
15
18
22
FIT
1:1
100%

Артикул

Название

Примечание

Количество

1

A162317

HARNESS

- wire, head lamp (Replaces A142934), front

1шт.

2

A139458

LAMP

- head (See Figure 4-088), front

2шт.

3

A37179

CLIP

CLAMP - wire harness, front

2шт.

4

L18331

CABLE TIE,375.9mm L, Nylon, Black

STRAP - nylon, wire harness, front

1шт.

7

REF

INSTRUCTION

HARNESS - wire, front fender flood lamp (See Figure 4-094)

1шт.

8

A145495

LAMP

- flood, fender mounted (See Figure 4-094), front

2шт.

9

A147344

ELECTRICAL WIRE

WIRE - ground, flood lamp 8" (203.2 mm) black, front

2шт.

10

A22880

CLIP

CLAMP - wire, front

2шт.

12

193-72

LOCK WASHER

- lock, 3/8" internal-external Shakeproof (ground bolt), front

1шт.

15

F64510

HARNESS

- wire, rear lights, front

1шт.

18

A145495

LAMP

- flood, RH rear fender (See Figure 4-094)

1шт.

19

A155077

LAMP

- flood and tail, LH rear fender (See Figure 4-088)

1шт.

20

A33977

SWITCH

- hand brake warning (See Figure 7-232), rear

1шт.

21

A61144

GROMMET,1/2" ID x 13/16" Groove Dia, Str Cut

- flood lamp wire, rear

2шт.

22

L13765

GROMMET

- tail and flood lamp, rear

2шт.

23

A59711

ELECTRICAL WIRE

WIRE - hand brake switch ground, rear

1шт.

Выбрано товаров: 16