Запчасти Case IH 4494 (4-100) - FLOOD LAMP KIT (04) - ELECTRICAL SYSTEMS

Схема запчастей Case IH 4494 - (4-100) - FLOOD LAMP KIT (04) - ELECTRICAL SYSTEMS
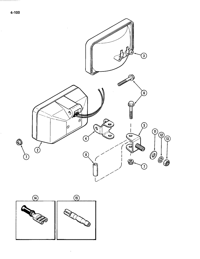
7
15
13
12
11
7
14
2
5
8
6
4
3
FIT
1:1
100%

Артикул

Название

Примечание

Количество

A177347

LAMP

KIT - flood lamp, Includes: Ref. 2 - 15

1шт.

2

A52214

LAMP

ASSEMBLY - flood (Order A177347), Includes: Ref. 3

1шт.

3

A48265

LAMP

BULB - seal beam (Includes screws)

1шт.

4

A52215

SUPPORT

BRACKET - lamp adjusting

1шт.

5

A52216

SUPPORT

BRACKET - lamp mounting

1шт.

6

A52217

BOLT

- hex flange, 5/16 NC x 2 inch

2шт.

7

A52218

NUT

- hex flange, 5/16 inch NC

2шт.

8

A52219

SPACER

- bracket

1шт.

11

195-106

WASHER,1/2"

- flat, 9/16 x 1-3/8 x 7/64 inch (14 x 35 x 3 mm)

1шт.

12

192-23

LOCK WASHER,1/2"

WASHER, LOCK, 1/2"

1шт.

13

129-145

JAM NUT,Jam, 1/2"-13, G5

1шт.

14

A177332

SPADE TERMINAL,Female

TERMINAL - blade type Female

2шт.

15

A52220

TERMINAL CONNECTOR,Male

TERMINAL - bullet type Male

2шт.

Выбрано товаров: 13