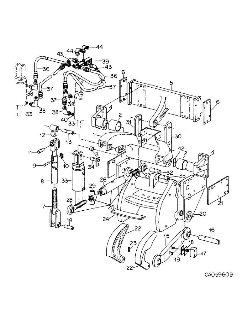
Запчасти Case IH 4568 (09-07) - FRAME, THREE POINT HITCH ATTACHMENT, CATEGORY 4 (12) - FRAME

Схема запчастей Case IH 4568 - (09-07) - FRAME, THREE POINT HITCH ATTACHMENT, CATEGORY 4 (12) - FRAME
20
42
6
37
29
10
37
34
9
2
39
43
43
25
38
3
4
19
44
5
21
27
36
15
44
41
37
36
38
33
13
14
22
40
8
2
32
38
23
11
38
33
16
26
35
1
18
17
24
22
31
28
33
12
6
4
7
30
FIT
1:1
100%

Артикул

Название

Примечание

Количество

1

114099C91

ARM

ASSY, rockshaft

1шт.

2

114101C1

BUSHING

rockshaft arm

2шт.

3

114341C1

RACE

BUSHING, cylinder pin

2шт.

4

133370C1

PIVOT ASSY.

PIVOT ASSY, rockshaft RH

1шт.

4

114102C1

PIVOT

ASSY, rockshaft LH

1шт.

570879R1

BOLT,Hex, 5/8" - 11 x 2 1/4", Gr 8

5/8 x 2-1/4 pln type 8

12шт.

1017960R1

PLUG,Cap, .848" OD

plastic closure

1шт.

16964R91

FITTING

1/4 90D lub

2шт.

5

114104C1

SUPPORT

rockshaft trunnion

1шт.

271728

SHAFT,Hex, 5/8" - 11 x 3 1/4", Gr 5

5/8 x 3-1/4 type 5

8шт.

124589

BALL STUD,Hex, 5/8" - 11 x 2", Gr 5

5/8 type 5

8шт.

6

114106C1

BAR

ASSY, rockshaft trunnion support mtg LH

1шт.

6

114105C1

BAR

ASSY, rockshaft trunnion support mtg RH

1шт.

7

127710C1

BOLT

ASSY, lower leveling

2шт.

576482R1

LOCK PIN,5/16" x 2", Slotted

2шт.

8

127703C1

YOKE

ASSY, lift link, upper

2шт.

109461

LUBE NIPPLE,1/8"-27 x .66 lg

FITTING, 1/8-27 str lub

4шт.

9

127715C1

PIN

headed

2шт.

10

127714C1

PIN ASSY.

PIN ASSY, quick release lift link bar

2шт.

11

114059C1

PIN

lift link yoke

2шт.

617941R1

PIN,5/16" x 2", Coiled

2шт.

12

123485C1

PIVOT

ASSY, lift link

2шт.

109461

LUBE NIPPLE,1/8"-27 x .66 lg

FITTING, 1/8-27 str lub

2шт.

80717

LUBE NIPPLE,45 Degree, 1/8" NPT x 7/8" lg

FITTING, 1/8 ptf short 45D lub

2шт.

13

114107C1

PIN

rockshaft arm

2шт.

14

114058C2

PIN

lower leveling rod

2шт.

617941R1

PIN,5/16" x 2", Coiled

4шт.

219-8

LUBE NIPPLE,1/4" - 28 NPTF

NIPPLE, LUBE, , Taper, Straight 1/4"-28 NPT x .54" lg

2шт.

15

127878C1

LOWER LINK

LINK ASSY, lower

2шт.

16

114108C1

SHAFT

lower link

2шт.

27754R1

PIN, 3/8 x 4 coiled spring

2шт.

219-23

LUBE NIPPLE,1/4" - 18 NPTF

FITTING, 1/4-18 extra short str lube

2шт.

17

127776C1

GUIDE

ASSY, cam follower LH

1шт.

17

127775C1

CAM FOLLOWER

GUIDE ASSY, cam follower RH

1шт.

26566R1

LOCK NUT

1 p/t lock type 5

2шт.

496-21106

WASHER,1 1/16" x 2" x .209", HDN

1.062 x 2.000 x .108

2шт.

18

114090C1

PLATE

BAR, cam follower guide, 2 or as required

1шт.

19

114091C1

PLATE

BAR, cam follower guide, 4 or as required

1шт.

20

114109C1

SUPPORT

drawbar

1шт.

25358R1

BOLT,Hex, 3/4" - 10 x 3 3/4", Gr 8

3/4 x 3-3/4 phc type 8

14шт.

25529R1

NUT,3/4"-10, G8

3/4 phc type 8

14шт.

25712R1

WASHER

.812 x 1.500 x .179 hdn

28шт.

21

114111C1

PLATE

ASSY, drawbar support mtg LH

1шт.

21

114110C1

PLATE ASSY.

PLATE ASSY, drawbar support mtg RH

1шт.

22

114113C1

CAM

sway limiter LH

1шт.

22

114112C1

CAM

sway limiter RH

1шт.

21679R1

HEADED PIN,1" x 3 3/4"

PIN, 1 x 3.750 hd type 1

2шт.

27898R1

BOLT, no. 1/8 x 3 phc p/t type B

2шт.

23

PIN, q.a. cotter, Use two pins from package 407208R1

2шт.

24

114115C1

SUPPORT

drawbar wear

1шт.

271611

BOLT,Hex, 3/4" - 10 x 2", Gr 5

3/4 x 2 pln type 5

2шт.

25

LINK ASSY, upper, Not serviced separately, Order individual components consisting of ref. nos. 26, 27, 28 and 29

1шт.

26

123451C1

TURNBUCKLE

upper link

1шт.

27

123453C1

BOLT

ASSY, thread LH

1шт.

28

123450C1

BOLT

ASSY, thread RH

1шт.

576482R1

LOCK PIN,5/16" x 2", Slotted

2шт.

109461

LUBE NIPPLE,1/8"-27 x .66 lg

FITTING, 1/8 ptf x short lub

2шт.

29

123448C1

NUT

ASSY, upper link thread RH

1шт.

30

114116C1

BAR

upper link support RH

1шт.

31

123467C1

BAR

upper link support LH

1шт.

26640R1

BOLT,Hex, 1 1/4"-7 x 7", G8

1-1/4 x 7 phc type 8

2шт.

27008R1

LOCK NUT,1 1/4"-7, GC

NUT, 1-1/4 phc p/t lock type 8

2шт.

32

123468C1

PIN

upper link

1шт.

189295

BOLT,Hex, 3/8" - 16 x 4 1/2", Gr 5

3/8 x 4-1/2 type 5

1шт.

9411655

LOCK NUT,3/8"-16, GB

NUT, 3/8 cad p/t lock type 5

1шт.

219-8

LUBE NIPPLE,1/4" - 28 NPTF

NIPPLE, LUBE, , Taper, Straight 1/4"-28 NPT x .54" lg

1шт.

33

71800C92

CYLINDER

ASSY, hitch lift, For components, see list of parts under detail of hitch lift cylinder in group 10

2шт.

34

114348C91

PIN ASSY.

PIN ASSY, hitch cyl upper

2шт.

271546

BOLT,Hex, 5/8" - 11 x 1 1/4", Gr 5

5/8 x 1-1/4 type 5

2шт.

492-11062

BEARING WASHER,5/8"

WASHER, LOCK, 5/8"

2шт.

219-8

LUBE NIPPLE,1/4" - 28 NPTF

NIPPLE, LUBE, , Taper, Straight 1/4"-28 NPT x .54" lg

2шт.

390309C1

WASHER

.656 x 1.312 x .095 hdn

2шт.

35

114156C1

HITCH PIN

PIN, hitch cyl lower

2шт.

16964R91

FITTING

1шт.

27900R1

PIN, 5/16 x 3-1/2 hvy pln cld spr

2шт.

36

114365C1

HOSE ASSY, hitch cyl short

2шт.

37

114366C1

HOSE ASSY.

HOSE ASSY, hitch cyl long

2шт.

38

671942R1

ELBOW

90 deg pipe adj str thr to 37 deg flare tube

4шт.

39

114367C1

TEE

ASSY, hitch cyl hose

1шт.

180173

BOLT,Hex, 1/2" - 13 x 1", Gr 5

1шт.

40

570828R1

O-RING,0.087" Thk x 0.644" ID, -908, Cl 6, 90 Duro

1/2 OD tube

4шт.

41

1263429C1

BRACKET

hyd coupler, Replaces 123052C1

1шт.

180118

BOLT,Hex, 3/8" - 16 x 5/8", Gr 5

3/8 x 5/8 type 5

2шт.

42

130873C1

PLATE ASSY.

PLATE ASSY, potentiometer drive

1шт.

43

9410256

ELBOW,45 Degree, 7/8"-14, 37 Degree x 7/8"-14, 37 Degree Fem Sw

5/8 C-Z hyd fld 45D swivel

2шт.

44

9410282

ELBOW,90 Degree, 7/8"-14, 37 Degree x 7/8"-14, 37 Degree Fem Sw

5/8 C-Z hyd fld 90D swivel

2шт.

Выбрано товаров: 86