Запчасти Case IH 4568 (10-01) - HYDRAULICS, HYDRAULIC FILTER AND SUCTION (07) - HYDRAULICS

Схема запчастей Case IH 4568 - (10-01) - HYDRAULICS, HYDRAULIC FILTER AND SUCTION (07) - HYDRAULICS
13
8
6
1
6
12
5
16
13
14
10
9
7
6
11
4
12
5
2
5
6
6
13
6
13
3
FIT
1:1
100%

Артикул

Название

Примечание

Количество

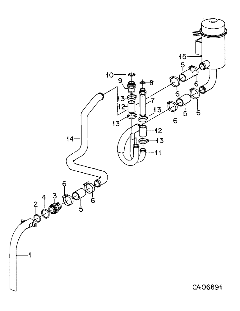
1

67894C1

TUBE ASSY, frt drive axle oil suction 17.75" Length

1шт.

385157R1

SCREW,Bevel Wshr Hd, 5/16" - 18 x 5/8"

5/16-18 x 5/8 bevel washer

2шт.

2

382432R1

O-RING,1.984" ID x 0.139" Width

2 x 2-1/4 x 1/8

1шт.

3

69388C1

ADAPTER

axle to hyd filter

1шт.

4

293726R1

O-RING,0.139" Thk x 2.234" ID, -228, Cl 5, 75 Duro

2-1/4 x 2-1/2 x 1/8

1шт.

5

134790C1

TUBE,4" Length

HOSE, suction tube

3шт.

6

224910C1

HOSE CLAMP,1.75/2.625 HD Worm, W/liner

CLAMP, 2.50 hose, Replaces 317595R1, 184368H1 or 28275R1

6шт.

7

TUBE, pump front inlet port, Part of hyd pump, 118847C91

1шт.

7

134779C1

ADAPTER

ASSY, 1-5/16 thd to 1-1/2 ID hose, pump front inlet port, For use w/hyd pump, 138069C91

1шт.

8

296247R1

O-RING,16-1, 90 Duro, 1.171" ID x .116" Thk

1 OD tube class 6

1шт.

9

TUBE, pump rear inlet port, Part of hyd pump, 118847C91

1шт.

9

134780C1

ADAPTER

ASSY, 1-7/8 thd to 1-1/2 ID hose, pump rear inlet port, For use w/hyd pump, 138069C91

1шт.

10

301016R1

O-RING,0.118" Thk x 1.720" ID, -924, Cl 6, 90 Duro

1-1/2 OD tube class 6

1шт.

11

118996C1

TUBE ASSY.

MANIFOLD, hydraulic, 4568 and 4586 tractors when used w/hyd pump, 118847C91, Serial Range: -1500

1шт.

11

138645C1

TUBE ASSY.

MANIFOLD ASSY, hydraulic, 4586 tractors when used w/hyd pump 138069C91, Start Serial: 1501

1шт.

11

138645C1

TUBE ASSY.

MANIFOLD ASSY, hydraulic, 4568 and 4586 tractors when used w/hyd pump 138069C91

1шт.

12

536085R1

HYDRAULIC HOSE,1.50" ID x 4.00", SAE 100R4 D16 Class 4

Manifold to Pump, Use W/Manifold, 118996C1 1.50" ID x 4.00", SAE 100R4 D16 Class 4

2шт.

12

138707C1

HOSE,1.50" ID x 4.00"

manifold to pump, Use w/manifold, 138645C1

2шт.

13

224910C1

HOSE CLAMP,1.75/2.625 HD Worm, W/liner

CLAMP, 2.50 hose, Replaces 327257R91

4шт.

14

116839C1

HYD TUBE

TUBE, hyd filter supply

1шт.

15

116864C91

FILTER

ASSY, hydraulic, Refer to hydraulic oil filter, For list of components

1шт.

18494R1

BOLT,Hex, 3/8" - 16 x 1", Gr 2

3/8 x 1 type 1

2шт.

26082R1

CLAMP,2", 1/4" Bolt

2 in. closed, oil suction tube

1шт.

18655R1

BOLT,Hex, 1/4"-20 x 1", G2

1/4 x 1 type 1

2шт.

120375

NUT,Hex, 1/4" - 20, Gr 5

2шт.

Выбрано товаров: 25