Запчасти Case IH 4586 (12-03) - POWER, FUEL PIPES AND CONNECTIONS Power

Схема запчастей Case IH 4586 - (12-03) - POWER, FUEL PIPES AND CONNECTIONS Power
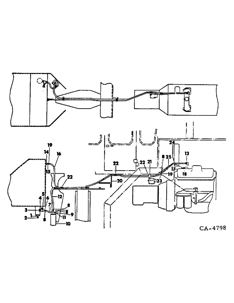
3
8
22
2
12
1
18
10
7
19
8
9
17
22
15
14
8
19
23
13
11
25
20
21
8
6
22
16
5
4
24
FIT
1:1
100%

Артикул

Название

Примечание

Количество

1

24180R1

ADAPTER,1 1/2" NPT Male x 1/4" NPT Fem

1-1/2 x 1/4 CDP reducing pipe

1шт.

2

103647

VALVE

COCK, 1/4 drain

1шт.

3

444035

BUSHING

1/2-14 to 3/8-18 reducing pipe or

1шт.

3

144046

REDUCER FITTING,1/2" NPT Male x 3/8" NPT Fem

ADAPTER, 1/2 to 3/8 pln out/h/hd pipe

1шт.

4

192067

LUBE NIPPLE

NIPPLE, 3/8 NPT x 1.0

1шт.

5

110014C1

VALVE

3/8 shutoff gate

1шт.

6

545268R1

ADAPTER

3/8 male pipe

2шт.

7

116624C1

HOSE

fuel tank to primary filter

1шт.

8

274085R91

HOSE CLAMP,#10, 0.56/1.06 Type F Worm

CLAMP, no. 10 hose

4шт.

9

651560C2

BRACKET

HEADER, primary fuel filter

1шт.

217-435

PLUG,Hex Soc, 3/8" - 18 NPTF

3/8-18 hex-hd pipe

2шт.

FOR444613

PLUG

1/8-27 hex-hd pipe

1шт.

10

625627C1

FILTER

primary fuel

1шт.

189295

BOLT,Hex, 3/8" - 16 x 4 1/2", Gr 5

SCREW, 3/8-16 x 4-1/2 znd hex-hd cap

2шт.

120394

WASHER,3/8", SAE

WASHER, 13/32 x 13/16 x .051 znd

2шт.

120382

LOCK WASHER,Helical Spring, 3/8"

WASHER, LOCK, 3/8"

2шт.

120377

NUT,3/8" - 16, Gr 5

2шт.

11

178146H1

ELBOW

3/8 male pipe to 1/2 hose

1шт.

12

HOSE, 1/2 fuel supply, Use 103 in. of 1/2 hose from bulk roll marked 706671C1

1шт.

13

265026R1

HYD CONNECTOR

CONNECTOR, 3/8-18 flex male

1шт.

14

444339

BUSHING

1/2-14 to 1/4-18 reducing pipe

1шт.

15

70090C1

FITTING

ADAPTER, 1/4-18 to hose male pipe

1шт.

16

116884C1

HOSE

3/8 fuel return

1шт.

17

116841C1

FUEL TUBE

TUBE ASSY, fuel return

1шт.

18

606819C1

CONNECTOR, ELEC

CONNECTOR, 1/4-18 flex male

1шт.

19

279025R91

HOSE CLAMP,#06, .44/.78 Type F Worm

2шт.

20

116698C1

FUNNEL

BRACKET, fuel hose

1шт.

180122

BOLT,Hex, 3/8" - 16 x 1", Gr 5

3/8-16 x 1 znd hex-hd cap

2шт.

120382

LOCK WASHER,Helical Spring, 3/8"

WASHER, LOCK, 3/8"

2шт.

21

110017C1

BRACKET

fuel hose

1шт.

186274

BOLT,Hex, 5/16" - 18 x 5", Gr 5

SCREW, 5/16-18 x 5 hex-hd

1шт.

22

116862C1

CLAMP

hose

3шт.

436736

SCREW,Slotted Pan Hd, #10-24 x 1"

no. 10 x 1 znp p/hds mach

3шт.

25454R1

LOCK NUT,#10-24, G5

NUT, no. 10 CAD P/T lock type 5

3шт.

120391

WASHER,#10

.219 x .500 x .036

3шт.

23

289862C1

CABLE TIE,3/16" x 7"

TIE, hose

1шт.

24

159288R1

CLIP

hose

1шт.

413-412

BOLT,Hex, 1/4" - 20 x 3/4", Gr 5

1шт.

120392

WASHER,1/4", SAE

9/32 x 5/8 x .065

1шт.

120375

NUT,Hex, 1/4" - 20, Gr 5

1шт.

25

116840C1

FUEL TUBE

TUBE ASSY, fuel supply

1шт.

Выбрано товаров: 41