Запчасти Case IH 4586 (12-07) - POWER, AUXILIARY ENGINE OIL FILTER PARTS ACCESSORY Power

Схема запчастей Case IH 4586 - (12-07) - POWER, AUXILIARY ENGINE OIL FILTER PARTS ACCESSORY Power
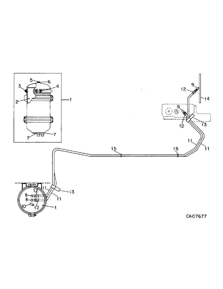
1
9
14
12
12
6
5
13
3
11
15
1
8
10
8
12
12
11
4
15
11
11
2
13
7
7
FIT
1:1
100%

Артикул

Название

Примечание

Количество

1257900C91

FILTER CARTRIDGE

PARTS ACCESSORY, aux. engine oil filter, Consists of ref. nos. 1 thru 15 plus

1шт.

115240

ADAPTER,3/4" NPT Male x 1/4" NPT Fem

1шт.

401275R1

CLIP

1шт.

NSS

NOT SOLD SEPARAT

PRODUCT GRAPHIC

1шт.

NSS

NOT SOLD SEPARAT

INSTRUCTIONS

1шт.

180116

BOLT,Hex, 3/8" - 16 x 1/2", Gr 5

3/8 x 1/2 type 5

1шт.

120394

WASHER,3/8", SAE

WASHER, .406 x .812 x .051

1шт.

1

1250340C91

FILTER ASSY, aux. engine oil, Consists of ref. nos. 2 thru 7

1шт.

172451

SELF-TAP SCREW,Hex Hd, 5/16" x 5/8"

SCREW, 5/16 x 5/8 h/hd tap

4шт.

2

457460C1

ELEMENT

1шт.

3

478668C1

GASKET

cover

1шт.

4

291794C1

BOLT, cover clamp

2шт.

5

982308R1

PLUG, vent

1шт.

6

982309R1

GASKET, plug

1шт.

7

973793R1

COPPER WASHER

GASKET, fitting

2шт.

8

28420H

ELBOW

1/4 pln 45D flared tube 90D

2шт.

9

431606R1

ELBOW, 1/4 pln 45D flared tube 45D

2шт.

10

148344

VALVE

type C shut-off cock

1шт.

11

HOSE, aux. engine oil filter, Furnish 200.0 in. from bulk roll marked 375051C1

1шт.

12

375014C2

FITTING

7/16-20 reuseable

4шт.

13

362666R1

CLIP

aux filter hose

2шт.

413-412

BOLT,Hex, 1/4" - 20 x 3/4", Gr 5

1шт.

120392

WASHER,1/4", SAE

.281 x .625 x .051

1шт.

492-11025

LOCK WASHER,1/4"

WASHER, LOCK, 1/4"

1шт.

120375

NUT,Hex, 1/4" - 20, Gr 5

1шт.

14

671964C1

GASKET

front plate rear

1шт.

15

289862C1

CABLE TIE,3/16" x 7"

STRAP, tie

4шт.

Выбрано товаров: 27