Запчасти Case IH 4690 (8-312) - HITCH CONTROL CIRCUITRY, PRIOR TO P.I.N. 8860450 (08) - HYDRAULICS

Схема запчастей Case IH 4690 - (8-312) - HITCH CONTROL CIRCUITRY, PRIOR TO P.I.N. 8860450 (08) - HYDRAULICS
10
8
23
11
23
18
5
23
22
3
2
13
4
6
16
7
8
21
1
7
7
8
15
8
20
23
19
14
17
20
12
FIT
1:1
100%

Артикул

Название

Примечание

Количество

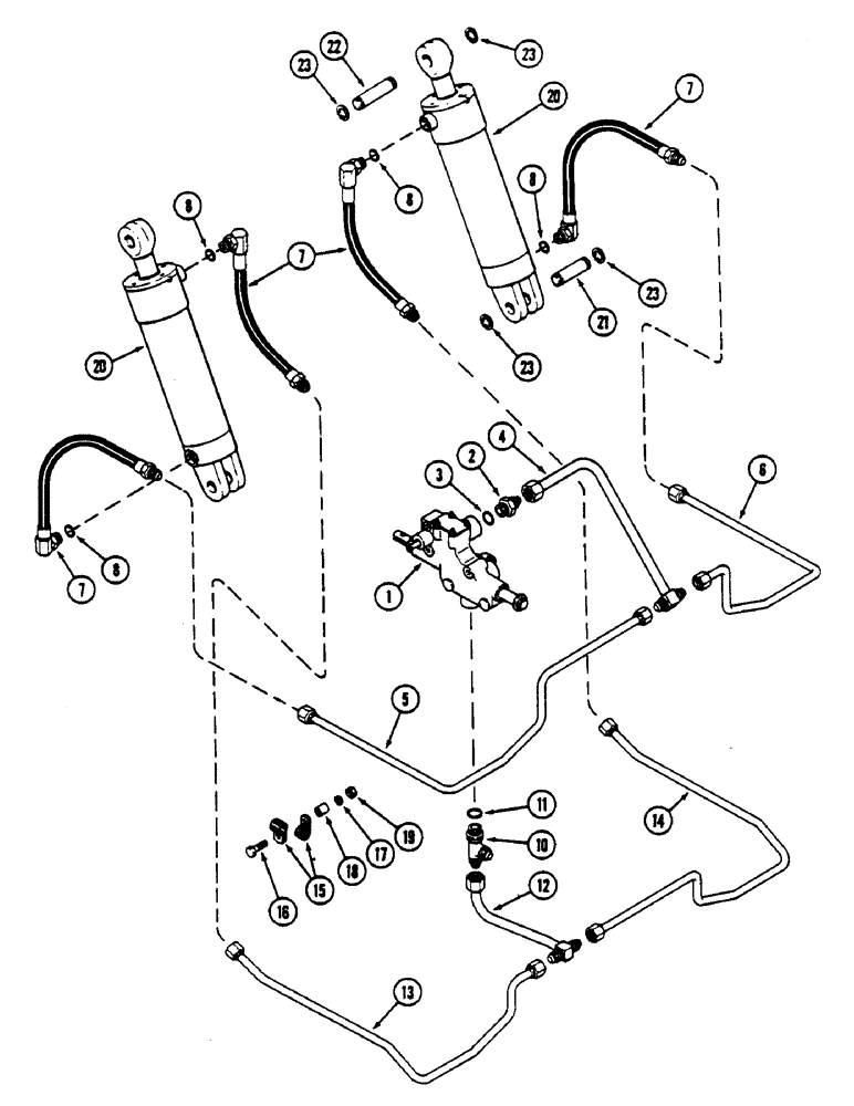
1

A143173

VALVE

ASSEMBLY - hitch and depth control (See Figure 8-316)

1шт.

2

218-5064

HYD CONNECTOR,1-1/16" - 12 Male JIC x 1-1/16" - 12 Male ORB

CONNECTOR ASSEMBLY - 3/4" tube x 1-1/16" - 12 (Pressure opening), Incl. Ref. 3

1шт.

3

218-5008

O-RING,0.116" Thk x 0.924" ID, -912, Cl 6, 90 Duro

- 15/16 ID x 7/64" width (23.47 ID x 2.95 MM width)

1шт.

4

A148519

TUBE

- tee, pressure line

1шт.

5

A148521

TUBE

- pressure, RH cylinder

1шт.

6

A148522

TUBE

- pressure, LH cylinder

1шт.

7

A75438

HOSE

- lift cylinder

4шт.

8

237-6010

O-RING,0.097" Thk x 0.755" ID, -910, Cl 6, 90 Duro

- 3/4 ID x 3/32" width (19.18 ID x 2.46 MM width)

4шт.

10

218-5239

TEE,1-1/16" - 12 Male JIC x 1-1/16" - 12 Male JIC x 1-1/16" - 12 Male ORB

CONNECTOR ASSEMBLY - branch, 3/4" tube x 3/4" tube x 1-1/16" (Return opening), Includes: Ref. 11

1шт.

11

218-5008

O-RING,0.116" Thk x 0.924" ID, -912, Cl 6, 90 Duro

- 15/16 ID x 7/64" width (23.47 ID x 2.95 MM width)

1шт.

12

A148520

TUBE

- tee, return line

1шт.

13

A148523

TUBE

- return, RH cylinder

1шт.

14

A148524

TUBE

- return, LH cylinder

1шт.

15

49885

CLAMP

- tube

4шт.

16

113-259

BOLT,Hex, 3/8" - 16 x 4-1/2", Gr 5

2шт.

17

192-21

LOCK WASHER,3/8"

WASHER, LOCK, 3/8"

2шт.

18

A140434

BUSHING

SPACER - tube clmap

2шт.

19

129-103

NUT,Hex, 3/8" - 16, Gr 5

NUT, 3/8"-16, G5

2шт.

20

G33943

CYLINDER

- lift, hitch (See Figure 8-322)

2шт.

21

A76281

PIN

- lower, 3-1/2" (88.90 MM) long

2шт.

22

A162396

PIN

- upper, 4" (101.6 MM) long (Replaces A76282)

2шт.

23

A12667

RING

- snap

8шт.

Выбрано товаров: 22