Запчасти Case IH 4690 (9-346) - CHASSIS (09) - CHASSIS/ATTACHMENTS

Схема запчастей Case IH 4690 - (9-346) - CHASSIS (09) - CHASSIS/ATTACHMENTS
3
37
32
41
30
13
41
38
33
9
11
18
45
34
44
1
2
35
31
4
19
27
10
39
17
28
18
42
47
5
25
43
16
8
19
12
46
26
29
40
40
15
FIT
1:1
100%

Артикул

Название

Примечание

Количество

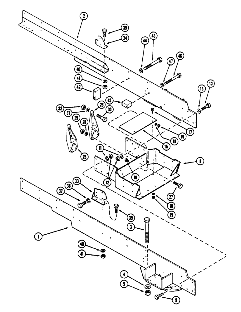
1

A161850

FRAME

- RH chassis (Replaces A160920)

1шт.

2

A161851

FRAME

- LH chassis (Replaces A160921)

1шт.

3

28-14120

BOLT,Hex, 7/8" - 14 x 7-1/2", Gr 8

- 7/8" x 7-1/2" NC hex (Grade 8)

8шт.

4

D34667

WASHER,23.02mm ID x 38.1mm OD x 3.57mm Thk

- mounting bolt

8шт.

5

131-187

LOCK NUT,7/8"-14, GB

NUT - lock, 7/8" NF hex

8шт.

8

A162389

FRAME

- extension, chassis (Replaces A152965)

1шт.

9

113-604

BOLT,Hex, 5/8" - 11 x 2", Gr 5

9шт.

10

113-626

BOLT,Hex, 5/8" - 11 x 2-1/2", Gr 5

3шт.

11

92-10

LOCK WASHER,5/8"

WASHER, LOCK, 5/8"

12шт.

12

129-107

NUT,5/8"-11, G5

12шт.

13

195-41

WASHER,5/8"

(Muffler support) 5/8"

2шт.

15

A151158

BAFFLE

- underneath, extension

1шт.

16

113-207

BOLT,Hex, 3/8" - 16 x 1", Gr 5

2шт.

17

113-209

BOLT,Hex, 3/8" - 16 x 1-1/2", Gr 5

2шт.

18

192-21

LOCK WASHER,3/8"

WASHER, LOCK, 3/8"

4шт.

10

129-103

NUT,Hex, 3/8" - 16, Gr 5

NUT, 3/8"-16, G5

4шт.

25

A150552

MOUNTING PARTS

MOUNT - RH, engine, engine

1шт.

26

A150551

MOUNTING PARTS

MOUNT - LH, engine, engine

1шт.

27

13-1036

BOLT,Hex, 5/8" - 11 x 2-1/4", Gr 5

6шт.

28

92-10

LOCK WASHER,5/8"

WASHER, LOCK, 5/8"

6шт.

29

25-1010

NUT,5/8"-11, G5

6шт.

30

13-1244

BOLT,Hex, 3/4" - 10 x 2-3/4", Gr 5

Engine to mount Hex, 3/4"-10 x 2 3/4", G5

4шт.

31

92-12

LOCK WASHER,3/4"

WASHER, LOCK, 3/4"

4шт.

32

25-1012

NUT,3/4"-10, G5

4шт.

33

A144728

BRACKET

- transmission support, RH rear

1шт.

34

A151330

BRACKET

- transmission support, LH rear

1шт.

35

13-1032

BOLT,Hex, 5/8" - 11 x 2", Gr 5

2шт.

37

13-1232

BOLT,Hex, 3/4" - 10 x 2", Gr 5

Bracket to transmission case Hex, 3/4"-10 x 2", G5

4шт.

38

92-12

LOCK WASHER,3/4"

WASHER, LOCK, 3/4"

4шт.

39

13-1028

BOLT,Hex, 5/8" - 11 x 1-3/4", Gr 5, Full Thd

4шт.

40

92-10

LOCK WASHER,5/8"

WASHER, LOCK, 5/8"

4шт.

41

25-1010

NUT,5/8"-11, G5

4шт.

42

A75684

SPACER

- center, transmission mounting

2шт.

43

113-737

BOLT,Hex, 3/4" - 10 x 6", Gr 5

4шт.

44

92-12

LOCK WASHER,3/4"

WASHER, LOCK, 3/4"

4шт.

45

A75685

SPACER

- front, transmission mounting

2шт.

46

113-643

BOLT,Hex, 5/8" - 11 x 5-1/2", Gr 5

4шт.

47

92-10

LOCK WASHER,5/8"

WASHER, LOCK, 5/8"

4шт.

Выбрано товаров: 38