Запчасти Case IH 4690 (9-368) - SWIVEL SEAT ASSEMBLY, SUSPENSION PARTS, EARLY PRODUCTION (09) - CHASSIS/ATTACHMENTS

Схема запчастей Case IH 4690 - (9-368) - SWIVEL SEAT ASSEMBLY, SUSPENSION PARTS, EARLY PRODUCTION (09) - CHASSIS/ATTACHMENTS
5
17
25
30
10
34
1
37
21
24
28
23
11
6
20
7
22
38
20
34
8
34
4
43
40
32
36
50
31
39
17
3
34
42
33
18
15
16
29
19
27
17
52
5
2
41
35
51
FIT
1:1
100%

Артикул

Название

Примечание

Количество

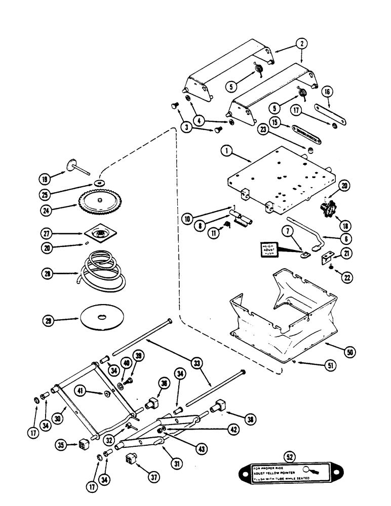
A161408

SEAT

AND SUSPENSION ASSEMBLY - operator's (Order A163314) (Continued from Figure 9-366), Includes: Ref. 1 - 52

1шт.

1

A47362

PLATE

- upper, suspension assembly

1шт.

2

A47379

LINK

- cross, seat mounting

2шт.

3

A45473

STEP BOLT

BOLT - shoulder (1/2" NC)

4шт.

4

193-77

LOCK WASHER,Int Tooth, 1/2"

WASHER, LOCK, Int Tooth, 1/2"

4шт.

5

A47384

SPRING

- torsion

2шт.

6

A47380

LEVER

- height adjusting

1шт.

7

A47385

CAP

- lever

1шт.

8

A47381

LATCH

- height adjusting

1шт.

10

138-2070

PIN,5/32" x 3/4", Coiled

1шт.

11

A47382

SPRING

- latch return

1шт.

15

A47383

LINK

- notched, RH side

1шт.

16

D82860

LINK

- plain, LH side

1шт.

17

131-425

PUSH-ON NUT,Push, 1/2"

NUT, LOCK, Push, 1/2"

8шт.

18

A47360

KNOB

ASSEMBLY - weight adjusting

1шт.

19

A45513

GEAR

- weight adjusting spinner

1шт.

20

138-2024

PIN,5/32" x 1", Coiled

2шт.

21

A45531

BRACKET

- shaft

1шт.

22

111-107

CARRIAGE BOLT,Short NK, 1/4"-20 x 1/2", G2

BOLT - 1/4" x 1/2" NC round head square neck (Grade 2)

2шт.

23

131-1351

FLANGE NUT,Flg, 1/4"-20

NUT, LOCK, Flg, 1/4"-20

2шт.

24

A45505

GEAR

- weight adjusting

1шт.

25

A47386

WASHER

- thrust

1шт.

27

A45504

SPRING WASHER

- spring

1шт.

28

A45497

SPRING

- conical, weight suspension

1шт.

29

A45530

PAD

- spring

1шт.

30

A45533

TUBE

ARM - outer, weight suspension

1шт.

31

A47759

ARM

- inner, weight suspension

1шт.

32

A47070

INDICATOR

- ride adjustment

1шт.

33

A45057

SHAFT

- bearing

2шт.

34

A47760

BUSHING

TUBE - bearing

4шт.

35

A45512

BLOCK

- slider, 1-3/16" (30.16 MM)

1шт.

36

A45516

BLOCK

- slider, 2-3/16" (55.56 MM)

1шт.

37

A45515

BLOCK

- slider, 1-9/16" (39.69 MM)

1шт.

38

A45517

BLOCK

- slider, 2-9/16" (65.09 MM)

1шт.

39

A45055

BOLT

- pivot, 3/8" NC

2шт.

40

A45519

WASHER

- pivot bolt

2шт.

41

A45498

BUSHING

BEARING - pivot

2шт.

42

195-25

WASHER,3/8"

- 13/32" x 13/16" x 1/16" (10.3 x 20.6 x 1.6 MM)

2шт.

43

131-6

LOCK NUT,3/8"-16, GC

NUT - lock, 3/8" NC hex

2шт.

50

A47359

BOOT

COVER - suspension

1шт.

51

151-705

CLIP,Rd 1/2" Hd, 1/4" Hole

- cover fastener, 1/4"

23шт.

52

A47261

BUSHING

DECAL - ride adjusting

1шт.

A47756

KIT

SUSPENSION ASSEMBLY KIT - seat

1шт.

A47757

BEARING

SHAFT KIT - seat

1шт.

Выбрано товаров: 44