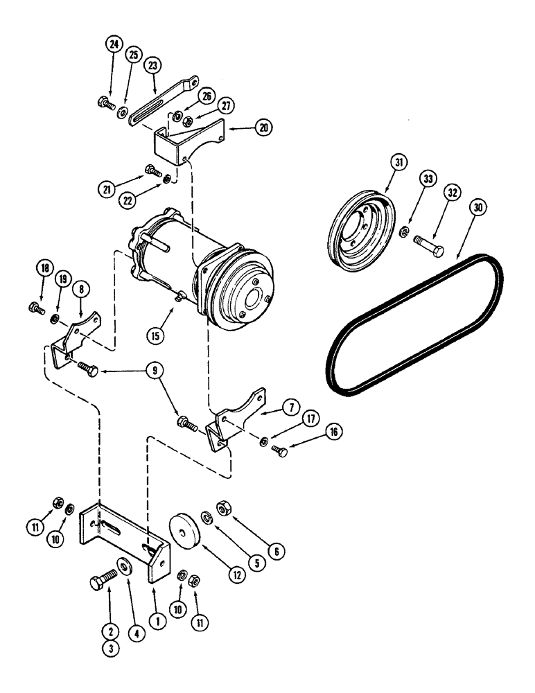
Запчасти Case IH 4690 (9-436) - AIR CONDITIONER, AIR COMPRESSOR MOUNTING (09) - CHASSIS/ATTACHMENTS

Схема запчастей Case IH 4690 - (9-436) - AIR CONDITIONER, AIR COMPRESSOR MOUNTING (09) - CHASSIS/ATTACHMENTS
4
27
10
3
11
8
17
12
19
11
2
33
10
32
24
25
9
6
26
23
21
31
18
5
22
1
30
16
15
20
7
FIT
1:1
100%

Артикул

Название

Примечание

Количество

1

A161803

BRACKET

- support, compressor to frame (Replaces A149283)

1шт.

2

113-1040

BOLT - 5/8" x 2-1/2" NC hex (Grade 5) (Replaces 113-1028)

1шт.

3

113-604

BOLT,Hex, 5/8" - 11 x 2", Gr 5

1шт.

4

195-541

WASHER,5/8", SAE

- 21/32" x 1-5/16" x 7/64" (16.7 x 33.3 x 2.8 MM)

2шт.

5

192-25

LOCK WASHER,5/8"

WASHER, LOCK, 5/8"

2шт.

6

129-197

NUT,5/8"-11, G5

- 5/8" NC hex

2шт.

7

A152074

BRACKET

- front support, compressor

1шт.

8

A149284

BRACKET

- rear support, compressor

1шт.

9

113-417

BOLT,Hex, 1/2" - 13 x 1-1/4", Gr 5, Full Thd

2шт.

10

192-23

LOCK WASHER,1/2"

WASHER, LOCK, 1/2"

2шт.

11

129-105

NUT,Hex, 1/2" - 13, Gr 5

2шт.

12

A161813

BUSHING

SPACER - compressor bracket

1шт.

15

A135362

COMPRESSOR

ASSEMBLY - air (Delco no. 1131080 takes U.S. hardware) (See Figure 9-442) (Order A160638)

1шт.

15

A160638

COMPRESSOR

ASSEMBLY - air (Delco no. 1131264 takes metric hardware) (See Figure 9-442)

1шт.

This compressor is R134A compatible when ordered new. It does not state that the older version is compatible.

1шт.

15

AR160638

REMAN-A/C COMPRESSOR,W/ Pulley

Remanufactured, Compressor

1шт.

15

AC160638

CORE-A/C COMPRESSOR

Return Number

1шт.

16

114-102

BOLT,Hex, 5/16" - 24 x 3/4", Gr 5

(To front bracket) Hex, 5/16"-24 x 3/4", G5, Full Thd

2шт.

16

814-8025

BOLT,Hex, M8 x 1.25 x 25mm, Cl 8.8, Full Thd

- 8 x 1.25 x 25 MM hex (To front bracket)

2шт.

17

192-20

LOCK WASHER,Helical Spring, 0.318" ID, CST, ZND

WASHER, LOCK, 5/16"

2шт.

18

113-207

BOLT,Hex, 3/8" - 16 x 1", Gr 5

(To rear bracket) Hex, 3/8"-16 x 1", G5, Full Thd

2шт.

18

814-10025

BOLT,Hex, M10 x 1.5 x 25mm, Cl 8.8, Full Thd

- hex, 10 x 1.50 x 25 mm (8.8) (To rear bracket)

2шт.

19

192-21

LOCK WASHER,3/8"

WASHER, LOCK, 3/8"

2шт.

20

A151599

BRACKET

- adjusting, Serial Range: strap-compressor

1шт.

21

114-105

BOLT,Hex, 5/16" - 24 x 5/8", Gr 5

2шт.

21

814-8025

BOLT,Hex, M8 x 1.25 x 25mm, Cl 8.8, Full Thd

- 8 x 1.25 x 25 MM hex

2шт.

22

193-71

LOCK WASHER,Ext-Int Tooth, 5/16"

WASHER, LOCK, Ext-Int Tooth, 5/16"

2шт.

23

A151632

STRAP

- adjusting, compressor belt

1шт.

24

113-2225

BOLT,Hex, 3/8" - 16 x 1-3/8", Gr 5

1шт.

25

195-104

WASHER,3/8"

- 7/16" x 1" x 1/16" (11.1 x 25.4 x 1.6 MM)

3шт.

26

192-21

LOCK WASHER,3/8"

WASHER, LOCK, 3/8"

1шт.

27

129-103

NUT,Hex, 3/8" - 16, Gr 5

NUT, 3/8"-16, G5

1шт.

30

A135265

V-BELT,0.50" W

Compressor Drive 0.50" W

1шт.

31

A161843

PULLEY

- crankshaft, compressor drive (Replaces A76458)

1шт.

32

113-417

BOLT,Hex, 1/2" - 13 x 1-1/4", Gr 5, Full Thd

(Replaces 113-441) Hex, 1/2"-13 x 1 1/4", G5, Full Thd

6шт.

33

192-23

LOCK WASHER,1/2"

WASHER, LOCK, 1/2"

6шт.

Выбрано товаров: 36