Запчасти Case IH 4690 (9-440) - AIR CONDITIONER, HOSES AND TUBES (09) - CHASSIS/ATTACHMENTS

Схема запчастей Case IH 4690 - (9-440) - AIR CONDITIONER, HOSES AND TUBES (09) - CHASSIS/ATTACHMENTS
14
6
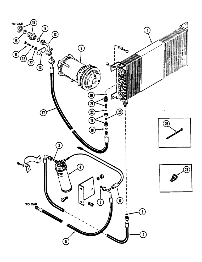
1
10
2
3
3
22
15
16
13
12
21
20
17
11
9
27
10
19
4
25
26
18
3
5
FIT
1:1
100%

Артикул

Название

Примечание

Количество

1

REF

INSTRUCTION

CONDENSER - air conditioner (See Figure 9-438)

1шт.

2

A152068

HOSE

, Serial Range: Condenser-receiver-drier

1шт.

3

A61198

O-RING,0.07" Thk x 0.301" ID, -11

5/16 ID x 1/16" width (7.94 ID x 1.59 mm width)

3шт.

4

REF

INSTRUCTION

RECEIVER-DRIER - air conditioner (See Figure 9-438)

1шт.

5

A149771

HOSE

Receiver-drier to cab connector

1шт.

6

A65779

SWITCH

High pressure

1шт.

9

REF

INSTRUCTION

COMPRESSOR ASSEMBLY - air (See Figure 9-442), Incl. Ref. 10

1шт.

10

NSS

NOT SOLD SEPARAT

PLATE - rear

1шт.

11

814-10050

BOLT,Hex, M10 x 1.5 x 50mm, Cl 8.8

(Replaces 114-216)

1шт.

12

192-21

LOCK WASHER,3/8"

1шт.

13

A149772

TUBE

Cab, Serial Range: connection-compressor

1шт.

14

A61197

O-RING,1.78mm Thk x 27mm ID

Coupling, 1-3/64 ID x 1/16" width (26.59 ID x 1.59 mm width)

1шт.

15

A61194

COUPLING, BREAK AWAY

ASSY - cab hose, Incl. Ref. 16

1шт.

16

A42668

GASKET

Coupling

1шт.

17

A149828

HOSE

, Serial Range: Compressor-condenser

1шт.

18

A61195

O-RING,0.364" ID x 0.5" OD

3/8 ID x 5/64" width (9.52 ID x 1.98 mm width)

2шт.

19

A61196

COUPLING, BREAK AWAY

ASSY - hose, Incl. Ref. 20

1шт.

20

A42667

GASKET

Coupling

1шт.

21

A42663

COUPLING,1/2" - 20 NPT

ASSY - condenser, Incl. Ref. 22

1шт.

22

A42665

O-RING,0.239" ID x 0.375" OD x 0.07"

Piston, 1/4 ID x 1/16" width (6.35 ID x 1.59 mm width)

1шт.

25

49855

CLAMP

Condenser hose

1шт.

26

L18331

CABLE TIE,375.9mm L, Nylon, Black

CABLE STRAP Nylon

1шт.

27

195-525

WASHER,3/8", SAE

(13/32" x 13/16" x 1/16") (10.3 x 20.6 x 1.6 mm)

1шт.

Выбрано товаров: 23