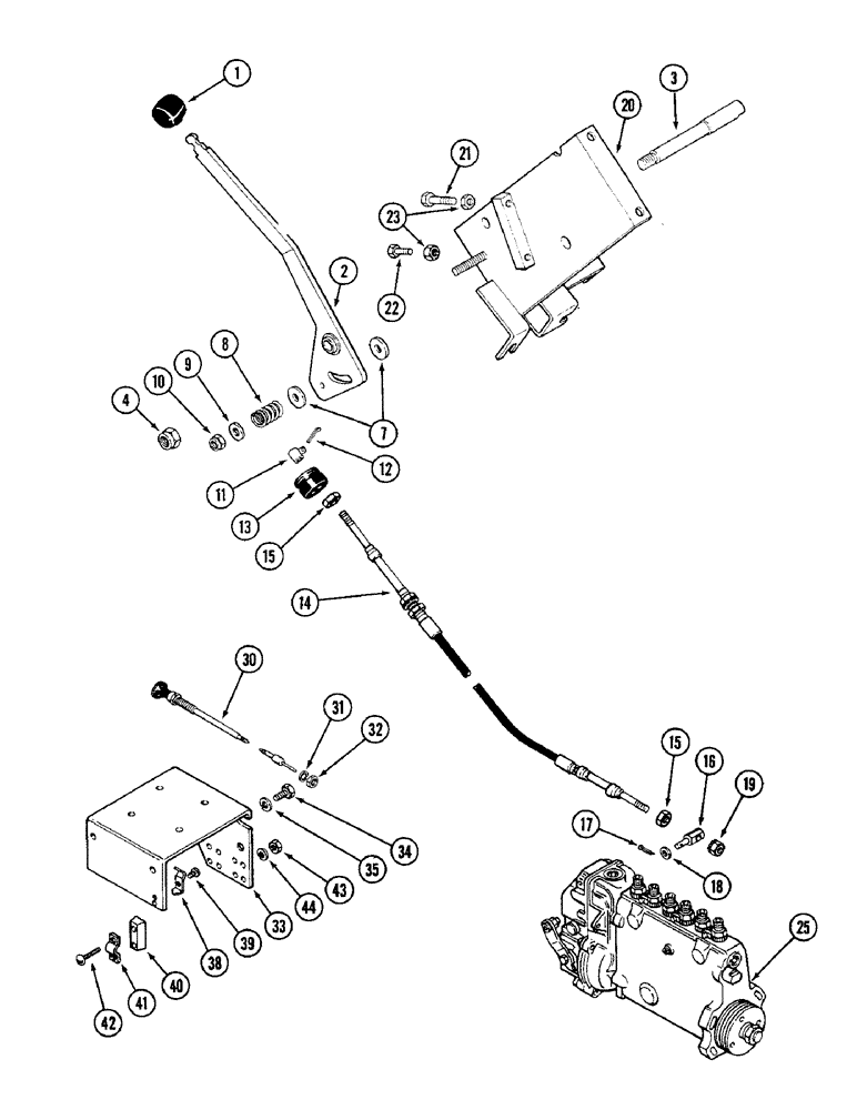
Запчасти Case IH 4690 (3-064) - THROTTLE LINKAGE, 504BDTI DIESEL ENGINE (03) - FUEL SYSTEM

Схема запчастей Case IH 4690 - (3-064) - THROTTLE LINKAGE, 504BDTI DIESEL ENGINE (03) - FUEL SYSTEM
23
25
31
12
44
43
41
35
30
42
10
33
32
13
22
8
20
4
2
15
7
14
19
11
16
40
3
39
15
21
34
1
18
9
17
38
FIT
1:1
100%

Артикул

Название

Примечание

Количество

1

A137806

KNOB

- throttle lever

1шт.

2

A137859

LEVER

- throttle

1шт.

3

A75377

SHAFT

- control lever

1шт.

4

131-10

NUT,1/2"-13, GB

NUT, LOCK, 1/2"-13, GB

1шт.

7

A61069

DISC

- friction

2шт.

8

A26546

SPRING

- disc, 1-1/4" (31.75 MM) free length

1шт.

9

195-104

WASHER,3/8"

- 7/16" x 1" x 5/64" (11.1 x 25.4 x 1.9 MM)

1шт.

10

131-52

NUT,3/8"-16, GC

NUT - lock, 3/8" NC hex

1шт.

11

A75386

LINKAGE

PIVOT - upper, control cable

1шт.

12

132-26

COTTER PIN

Pin, Split (Cotter), 3/32" x 3/4"

1шт.

13

A152510

GROMMET

- cable

1шт.

14

A145334

CABLE

- throttle control

1шт.

15

129-37

NUT,#10-32

2шт.

16

A63014

PIVOT

- lower, control cable

1шт.

17

132-7

COTTER PIN,1/16" x 3/4"

Pin, Split (Cotter), 1/16" x 3/4"

1шт.

18

95-4

WASHER,1/4"

- 5/16" x 3/4" x 1/16" (7.9 x 19 x 1.6 MM)

1шт.

19

193-1000

NUT,Keps, w/LW,#10-32

- #10-32 hex Keps

1шт.

20

A138833

BRACKET

- control mounting

1шт.

21

113-219

BOLT,Hex, 3/8" - 16 x 2", Gr 5

- 3/8" x 1-1/2" NC hex (Throttle stop)

1шт.

22

113-209

BOLT,Hex, 3/8" - 16 x 1-1/2", Gr 5

- 3/8" x 1-1/4" NC hex (Throttle stop)

1шт.

23

25-146

JAM NUT,Jam, 3/8"-16, G5

- jam, 3/8" NC hex

3шт.

25

REF

INSTRUCTION

PUMP ASSEMBLY - fuel injection (See page 3-56)

1шт.

30

A149720

CABLE

ASSEMBLY - fuel shut-off (Replaces A149721), Includes: Ref. 31 and 32

1шт.

31

92-7

LOCK WASHER,7/16"

1шт.

32

129-164

JAM NUT,Hex, 7/16" - 20, Gr 5

Jam, 7/16"- 20, G5

1шт.

33

A160611

BRACKET

- control cables

1шт.

34

113-206

BOLT,Hex, 3/8" - 16 x 3/4", Gr 5, Full Thd

2шт.

35

192-21

LOCK WASHER,3/8"

WASHER, LOCK, 3/8"

2шт.

38

B51765

CLIP

- shut-off cable

1шт.

39

173-274

SCREW,Sl Rnd Hd, #8 - 32 x 1/2"

- #10-24 x 1/2" round head

1шт.

40

A160612

SPACER

- clamp, throttle cable

1шт.

41

A75815

CLAMP

- throttle cable

1шт.

42

182-544

SCREW,Slotted Pan Hd, #10-24 x 1 1/4"

- #10-24 x 1-1/4" round head

1шт.

43

129-17

NUT,Hex, #10 - 24

NUT - hex #10-24

1шт.

44

192-18

LOCK WASHER,Helical Spring, #10, 0.196" ID, CST, ZND

WASHER, LOCK, #10

1шт.

Выбрано товаров: 0