Запчасти Case IH 4694 (8-346) - REMOTE VALVE BODY ASSEMBLY, TWO CIRCUIT & ADD ON FOR THIRD & FOURTH CIRCUIT, W/O LOAD CHECK (CONTD) (08) - HYDRAULICS

Схема запчастей Case IH 4694 - (8-346) - REMOTE VALVE BODY ASSEMBLY, TWO CIRCUIT & ADD ON FOR THIRD & FOURTH CIRCUIT, W/O LOAD CHECK (CONTD) (08) - HYDRAULICS
75
65
62
76
67
74
70
41
72
53
55
73
40
40
42
59
43
51
61
63
69
66
58
66
68
45
54
60
52
71
49
48
50
FIT
1:1
100%

Артикул

Название

Примечание

Количество

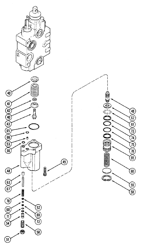
A169029

VALVE

BODY ASSEMBLY - remote valve, Includes: Ref. 40 - 76 in this figure and Ref. 2 - 36 on Figure 8-344

1шт.

40

A47197

RETAINER

- spring

2шт.

41

A47177

SPRING

- centering

1шт.

42

A47199

BUSHING

SPACER - detent

1шт.

43

A47193

COUPLING, BREAK AWAY

COUPLER - detent

1шт.

A48940

KIT

HOUSING KIT - detent, Includes: Ref. 48 - 76

1шт.

48

NSS

NOT SOLD SEPARAT

HOUSING ASSEMBLY - detent (Order A48940 kit), Includes: Ref. 49 - 76

1шт.

49

A52409

SHAFT

- detent (Order A48940 kit)

1шт.

50

A47173

SCREW,3/8" - 24 x 0.96"

- adjusting

1шт.

51

86585245

SPECIAL NUT,JAM, 5/8" - 18

- hex jam, 3/8 inch NF

1шт.

52

A48935

WASHER

- poppet

1шт.

53

A47658

PLUG

- orifice

1шт.

54

A48936

GOVERNOR

PISTON - regulator

1шт.

55

A48932

PISTON

- kickout

1шт.

58

A30975

SNAP RING,1.188", Int, #118

1шт.

59

A48933

RING

- retainer, detent

1шт.

60

A48934

SPRING

- detent

1шт.

61

211-6

BALL,7/32" Dia

BEARING - ball, 7/32 inch (6 mm) diameter

8шт.

62

A48931

WASHER

- guide

1шт.

63

A46924

SEAT

- pilot

1шт.

A48942

KIT

SEAL KIT - detent

1шт.

65

A59066

O-RING,1.239" ID x 1.379" OD

- housing

1шт.

66

D31411

O-RING,0.07" Thk x 0.239" ID, -10, Cl 6, 90 Duro

-010, 90 Duro, .239" ID x .070" Thk, detent

2шт.

67

NSS

NOT SOLD SEPARAT

POPPET - detent

1шт.

68

238-5006

O-RING,0.07" Thk x 0.114" ID, -6, Cl 5, 75 Duro

-006, 70 Duro, .114" ID x .070" Thk, Poppet (Replaces A48967 and T30271)

1шт.

69

A52378

RING,Split, 3.56mm ID x 6.3mm OD x 1.32mm Thk

- backup

1шт.

70

NSS

NOT SOLD SEPARAT

SPRING - relief

1шт.

71

A27880

O-RING,0.07" Thk x 0.18" ID, -8, Cl 5, 75 Duro

- piston

1шт.

72

D71056

RING,Split, 4.47mm ID x 7.21mm OD x 1.32mm Thk

- backup

1шт.

73

L35295

SEALING RING,Split, 24.38mm ID x 27.13mm OD x 1.32mm Thk

RING - backup

1шт.

74

A62239

O-RING,0.07" Thk x 0.926" ID, -21, Cl 5, 75 Duro

- piston

1шт.

75

R15365

O-RING,0.989" ID x 1.129" OD x 0.07"

- piston

1шт.

76

A52208

SEAL,25.98mm ID x 28.73mm OD x 1.32mm Thk

RING - backup (Replaces C14656)

1шт.

Выбрано товаров: 33