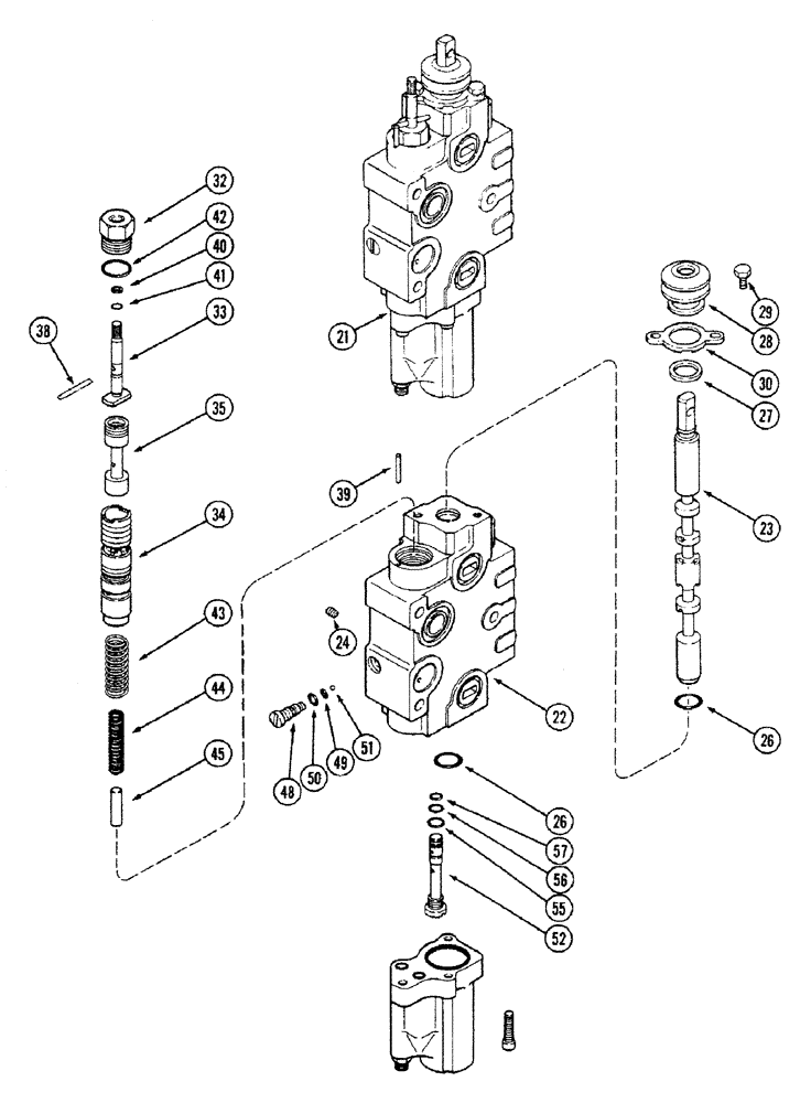
Запчасти Case IH 4694 (8-350) - REMOTE CONTROL VALVE, ADD ON FOR THIRD CIRCUIT, WITH LOAD CHECK (CONTD) (08) - HYDRAULICS

Схема запчастей Case IH 4694 - (8-350) - REMOTE CONTROL VALVE, ADD ON FOR THIRD CIRCUIT, WITH LOAD CHECK (CONTD) (08) - HYDRAULICS
45
28
55
43
35
39
33
44
26
38
27
40
51
57
26
52
32
34
24
29
48
41
49
21
50
30
23
42
22
56
FIT
1:1
100%

Артикул

Название

Примечание

Количество

A169456

VALVE

ASSEMBLY - remote control, Includes: Ref. 21 - 57 in this figure and parts in Figure 8-348 and 8-352

1шт.

21

A48945

HOUSING

BODY ASSEMBLY - remote valve, Includes: Ref. 22 - 57 and parts in Figure 8-352

1шт.

22

NSS

NOT SOLD SEPARAT

BODY - valve (Order A48945)

1шт.

23

NSS

NOT SOLD SEPARAT

SPOOL - valve (Order A48945)

1шт.

24

A47105

PLUG

- expansion

1шт.

26

A27365

O-RING,0.103" Thk x 0.75" ID, -116, Cl 5, 75 Duro

- body

2шт.

A48938

KIT

FILTER KIT - body and spool, Includes: Ref. 27 - 30

1шт.

27

A47205

SEAL,22.61mm ID x 32.13mm OD x 2.67mm Thk

FILTER - spool

1шт.

28

A47188

COVER

- dust

1шт.

29

86019274

SCREW,Hex, 1/4"-20 x 1/2", G5

- retainer

2шт.

30

A47196

RETAINER

- filter

1шт.

32

A48925

PLUG

HOUSING - flow control

1шт.

33

A48929

SHAFT

- adjusting

1шт.

34

A48956

TUBE

- flow control

1шт.

35

A48957

SPOOL

- flow control

1шт.

A48941

SEAL

KIT - flow control, Includes: Ref. 38 - 44

1шт.

38

138-63

LOCK PIN,1/8" x 1 1/4", Slotted

PIN, 1/8" x 1 1/4", Slotted

1шт.

39

138-305

LOCK PIN,1/8" x 1", Slotted, Stainless

Pin, 1/8" x 1, Slotted, Stainless

1шт.

40

D71056

RING,Split, 4.47mm ID x 7.21mm OD x 1.32mm Thk

- backup

1шт.

41

A27880

O-RING,0.07" Thk x 0.18" ID, -8, Cl 5, 75 Duro

- shaft

1шт.

42

237-6010

O-RING,0.097" Thk x 0.755" ID, -910, Cl 6, 90 Duro

- 3/4 x 61/64 x 3/32 inch (19 x 24 x 2 MM)

1шт.

43

A48963

SPRING

- outer

1шт.

44

A48964

SPRING

- inner

1шт.

45

A48937

PIN

- guide, spring

1шт.

A47210

PLUG

ASSEMBLY - shuttle, secondary, Includes: Ref. 48 - 50

1шт.

48

A47204

PLUG

- shuttle

1шт.

A48939

KIT

SEAL KIT - shuttle, Includes: Ref. 49 and 50

1шт.

49

A47101

O-RING,0.07" Thk x 0.176" ID, -8, Cl 6, 90 Duro

-008, 90 Duro, .176" ID x .070" Thk, shuttle

1шт.

50

218-5002

O-RING,0.064" Thk x 0.301" ID, -903, Cl 6, 90 Duro

3-1, .301" ID x .064" Thk, shuttle

1шт.

51

211-255

BALL,3/16 Dia

(5 mm), chrome steel 3/16 Dia

1шт.

52

A47209

SPOOL

SHUTTLE ASSEMBLY - primary, Includes: shuttle seal kit and Ref. 55 - 57

1шт.

N6632

SEAL KIT

SEAL KIT - shuttle, Includes: Ref. 55 - 57

1шт.

55

218-5003

O-RING,0.072" Thk x 0.351" ID, -904, Cl 6, 90 Duro

- 11/32 x 1/2 x 5/64 inch (9 x 13 x 2 MM)

1шт.

56

D31411

O-RING,0.07" Thk x 0.239" ID, -10, Cl 6, 90 Duro

-010, 90 Duro, .239" ID x .070" Thk (6 mm ID), shuttle

1шт.

57

A47223

O-RING,0.07" Thk x 0.208" ID, -9, Cl 6, 90 Duro

- shuttle, 7/32 inch (6 MM) ID

1шт.

Выбрано товаров: 35