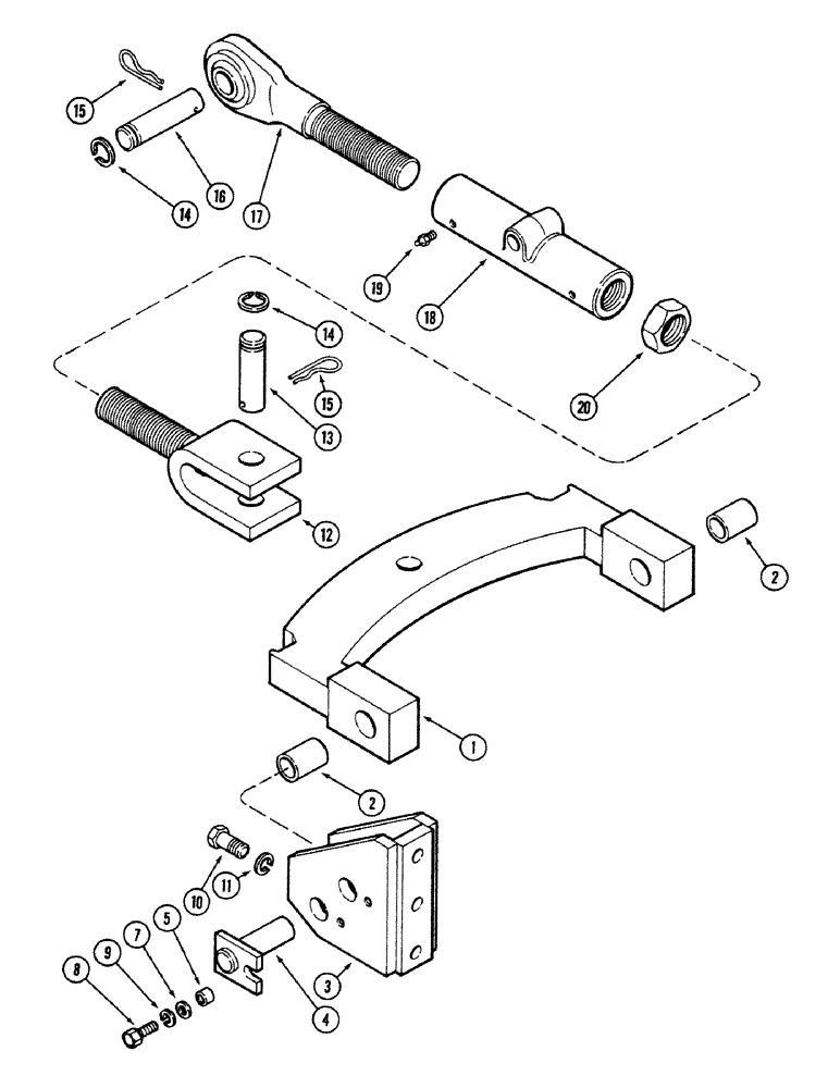
Запчасти Case IH 4694 (9-384) - THREE POINT HITCH, ADJUSTING TURNBUCKLE (09) - CHASSIS/ATTACHMENTS

Схема запчастей Case IH 4694 - (9-384) - THREE POINT HITCH, ADJUSTING TURNBUCKLE (09) - CHASSIS/ATTACHMENTS
14
1
20
11
19
15
4
2
15
8
3
14
16
5
10
18
7
13
12
2
9
17
FIT
1:1
100%

Артикул

Название

Примечание

Количество

1

A162318

PLATE

ASSEMBLY - pivot, third link, Includes: Ref. 2

1шт.

2

A24633

BUSHING,31.7mm ID x 38.18mm OD x 51.16mm L

- pivot, plate

2шт.

3

A146714

BRACKET

- pivot

2шт.

4

A138905

PIN

- pivot, third link

2шт.

5

A148908

SPACER

- pivot locking

2шт.

7

L30674

WASHER

- pivot bracket bolt

2шт.

8

113-481

BOLT,Locking, 1/2" - 13 x 1-1/4", Gr 5, Full Thd

- hex nylock, 1/2 NC x 1-1/4 inch

2шт.

9

92-8

LOCK WASHER,1/2"

2шт.

10

113-709

BOLT,Hex, 3/4" - 10 x 1-1/2", Gr 5

6шт.

11

192-27

LOCK WASHER,3/4"

WASHER, LOCK, 3/4"

6шт.

12

A167093

CLEVIS

- third link

1шт.

13

A76283

PIN

- clevis link

1шт.

14

17406

RING

- snap

2шт.

15

A56393

PIN

- cotter

2шт.

16

A76285

PIN

- third point, coupler

1шт.

17

A167090

ROD

ASSEMBLY - third link (Left thread)

1шт.

18

A167092

TURNBUCKLE

- third link

1шт.

19

219-1

LUBE NIPPLE,1/8" - 27 NPTF

FITTING - lube, straight 1/8 inch

2шт.

20

A167108

NUT

- hex

1шт.

Выбрано товаров: 19