Запчасти Case IH 4694 (9-456) - CAB, HEADLINER AND LOUVERS (09) - CHASSIS/ATTACHMENTS

Схема запчастей Case IH 4694 - (9-456) - CAB, HEADLINER AND LOUVERS (09) - CHASSIS/ATTACHMENTS
22
23
24
11
10
10
8
25
35
33
34
12
7
26
16
29
32
30
5
9
1
15
FIT
1:1
100%

Артикул

Название

Примечание

Количество

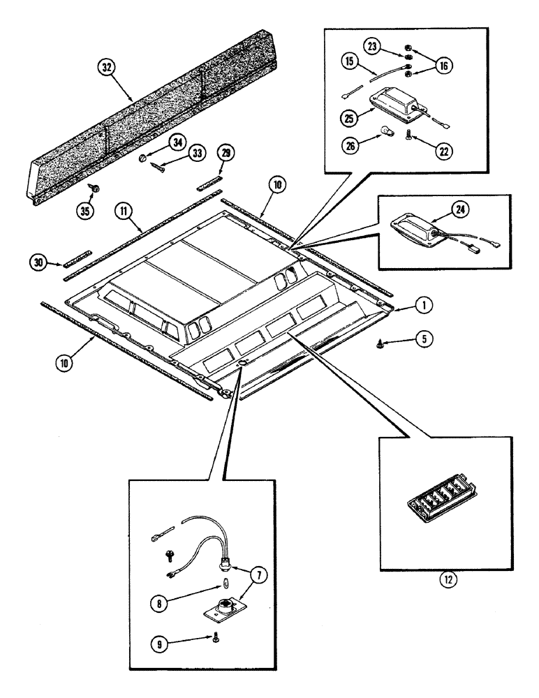
1

F64785

LINING

HEADLINER - cab (With radio)

1шт.

5

F64519

SELF-TAP SCREW,Cross Wash Hd, #10-16 x 3/4"

SCREW - Phillips special, no. 10-16 x 3/4 inch

12шт.

7

F98279

INTERIOR LIGHT

LAMP ASSEMBLY - courtesy, Includes: Ref. 8

1шт.

8

W10478

LAMP

BULB - lamp, no. 194

1шт.

9

187-1921

SELF-TAP SCREW,Cross Oval Hd, #10 x 3/4"

SCREW - oval head, no. 10-16 x 3/4 inch

2шт.

10

NSS

NOT SOLD SEPARAT

SEAL - headliner, side (Order F64119)

2шт.

11

NSS

NOT SOLD SEPARAT

SEAL - headliner, rear (Order F64119)

1шт.

12

L109555

GUARD

LOUVER - air deflection

6шт.

15

F64731

CABLE PULLING GRIP

WIRE - dome light (If equipped)

1шт.

16

129-16

NUT,#8-32

5шт.

22

171-238

SCREW,Sl Flat Hd, #8 - 32 x 5/8"

- flat head slotted, no. 8-32 x 5/8 inch

4шт.

23

193-17

LOCK WASHER,Ext Tooth, 1"

WASHER - external Shakeproof, no. 12

1шт.

24

R54198

COURTESY LIGHT

LAMP ASSEMBLY - dome, Includes: Ref. 26

1шт.

25

F89772

LAMP

ASSEMBLY - dome (Order R54198), Includes: Ref. 26

1шт.

26

B50217

BULB

- lamp, GE no. 93 or guide lamp 142454

1шт.

29

F64854

SEAL - foam, 6 inch (152 MM) (Order D70611)

1шт.

30

F64855

SEAL - foam, 7 inch (178 MM) (Order D70611)

4шт.

F64119

SEALING STRIP

SEAL - headliner, 100 foot roll (33 M) (Cut to desired length)

1шт.

A181672

GRILLE KIT - speaker (Order components), Includes: Ref. 32 - 35

1шт.

32

A180980

GRILLE

- speaker

1шт.

33

187-1924

SELF-TAP SCREW,Cross Oval Hd, #10 x 1 1/2"

SCREW - oval head Phillips, no. 10 x 1-1/2 inch

3шт.

34

F64315

WASHER

- trim

3шт.

35

F64519

SELF-TAP SCREW,Cross Wash Hd, #10-16 x 3/4"

SCREW - retainer

7шт.

Выбрано товаров: 23