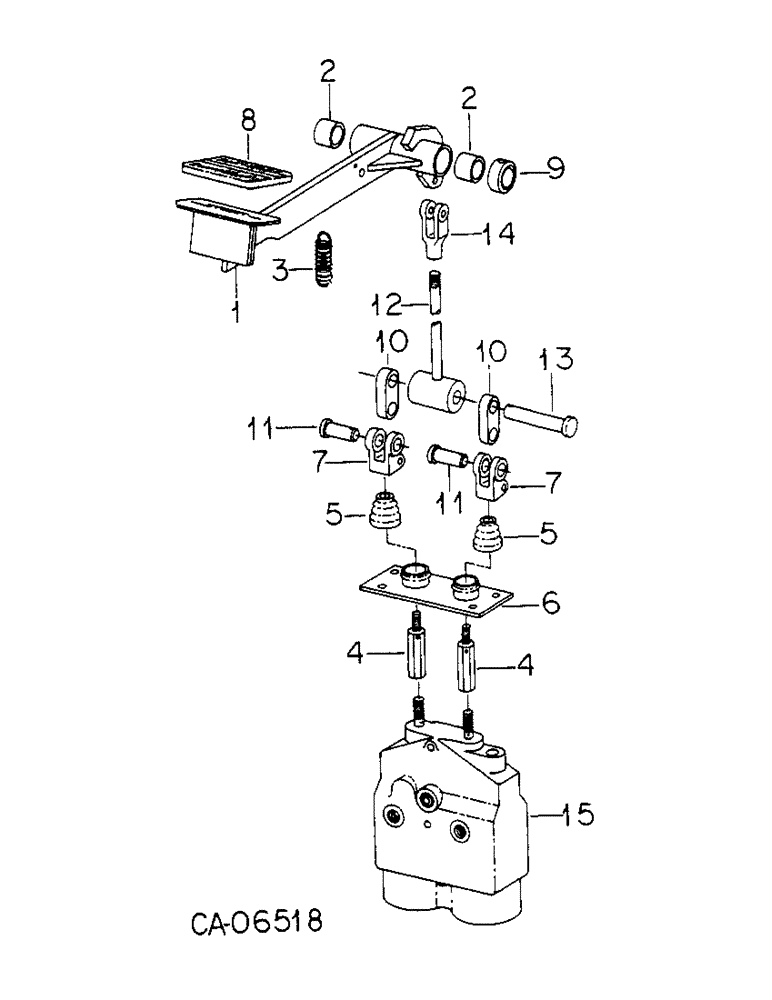
Запчасти Case IH 4786 (04-2) - BRAKES, MASTER BRAKE CONTROLS (5.1) - BRAKES

Схема запчастей Case IH 4786 - (04-2) - BRAKES, MASTER BRAKE CONTROLS (5.1) - BRAKES
4
12
14
4
7
9
3
7
5
10
15
2
11
5
2
1
8
11
13
10
6
FIT
1:1
100%

Артикул

Название

Примечание

Количество

1

134577C91

PEDAL ASSY.

PEDAL ASSY, brake w/BRG, Includes ref no.

2шт.

2

124658C1

BUSHING

brake pedal

2шт.

3

134581C1

SPRING

pedal return

1шт.

4

134572C1

BOLT,Extension, Hex, 7/16" - 20

7/16-20 hex, extension

2шт.

425-157

JAM NUT,Jam, 7/16"-20, G5

2шт.

NLS

NO LONGER SERVICED

.469 x .922 x .051

2шт.

5

393071R2

BELLOWS

BOOT, brake valve

2шт.

6

134867C1

PLATE

ASSY, brake linkage boot

1шт.

180042

BOLT,Hex, 1/4" - 20 x 1 3/4", Gr 5

BOLT, 1/4 x 1-3/4 type 5

4шт.

120392

WASHER,1/4", SAE

.281 x .625 x .051

4шт.

7

384083R2

YOKE

YOKE, brake operation

2шт.

395-11053

WASHER,0.53" ID x 1.06" OD x 0.1" Thk

.531 x 1.062 x .074 PLN

2шт.

179819

BOLT,Hex, 5/16" - 18 x 1 1/8", Gr 5

2шт.

80681

LOCK WASHER,5/16"

WASHER, LOCK, 5/16"

2шт.

8

109656C1

BRAKE PAD

PAD, pedal

1шт.

9

610513R1

COLLAR

COLLAR

1шт.

115321

SET SCREW,Hex Skt, 5/16"-18 x 5/16"

SCREW, 5/16 x 5/16 PLN c/pt hdl/hs set

1шт.

10

384082R1

LINK

brake operating

2шт.

11

21263R1

CLEVIS PIN,1/2" x 1 11/16'"

PIN, 1/2 x 1.688 clevis

2шт.

103384

COTTER PIN,1/8" x 3/4"

Pin, Split (Cotter), 1/8" x 3/4"

2шт.

12

134570C1

ROD

ASSY, brake control

1шт.

13

21994R1

HEADED PIN,1/2" x 3 1/4"

PIN, 1/2 X 3.250 HD type 1

1шт.

432-1216

COTTER PIN,3/16" x 1"

Pin, Split (Cotter), 3/16" x 1"

1шт.

14

144243

CLEVIS

3/8-24 znd adj rod end

1шт.

120369

NUT,3/8"-24, G5

1шт.

138084

SPLIT PIN/SAFETY PIN

PIN, 3/8 x 1.060 clevis

1шт.

103373

COTTER PIN,3/32" x 3/4"

Pin, Split (Cotter), 3/32" x 3/4"

1шт.

15

72807C93

VALVE

PACKAGE, power brake valve, Also order orifice plate, 384501R1, For list of serviceable parts see hyd power brake valve group 10

1шт.

384501R1

PLATE

orifice

1шт.

Выбрано товаров: 29