Запчасти Case IH 4786 (12-7) - POWER, AUXILIARY ENGINE OIL FILTER PARTS ACCESSORY Power

Схема запчастей Case IH 4786 - (12-7) - POWER, AUXILIARY ENGINE OIL FILTER PARTS ACCESSORY Power
14
11
4
8
1
3
5
12
7
9
2
1
12
8
12
15
9
10
15
11
6
13
11
13
11
12
7
FIT
1:1
100%

Артикул

Название

Примечание

Количество

1257900C91

FILTER CARTRIDGE

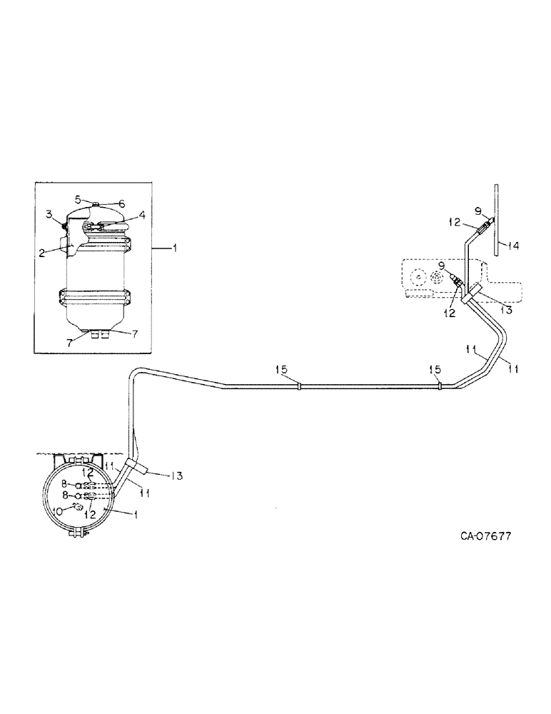
PARTS ACCESSORY, aux. engine oil filter, Consists of ref. nos. 1 thru 15 plus

1шт.

115240

ADAPTER,3/4" NPT Male x 1/4" NPT Fem

1шт.

401275R1

CLIP

1шт.

PRODUCT GRAPHIC (NSS)

1шт.

INSTRUCTIONS (NSS)

1шт.

180116

BOLT,Hex, 3/8" - 16 x 1/2", Gr 5

3/8 x 1/2 type 5

1шт.

120394

WASHER,3/8", SAE

WASHER, .406 x .812 x .051

1шт.

1

1250340C91

FILTER ASSY, aux. engine oil, Consists of ref. nos. 2 thru 7

1шт.

172451

SELF-TAP SCREW,Hex Hd, 5/16" x 5/8"

SCREW, 5/16 x 5/8 h/hd tap

4шт.

2

457460C1

ELEMENT

1шт.

3

478668C1

GASKET

cover

1шт.

4

291794C1

BOLT, cover clamp

2шт.

5

982308R1

PLUG, vent

1шт.

6

982309R1

GASKET, plug

1шт.

7

973793R1

COPPER WASHER

GASKET, fitting

2шт.

8

28420H

ELBOW

1/4 pln 45D flared tube 90D

2шт.

9

431606R1

ELBOW, 1/4 pln 45D flared tube 45D

2шт.

10

148344

VALVE

type C shut-off cock

1шт.

11

HOSE, aux. engine oil filter, Furnish 200.0 in. from bulk roll marked 375051C1

1шт.

12

375014C2

FITTING

7/16-20 reusable

4шт.

13

362666R1

CLIP

aux filter hose

2шт.

413-412

BOLT,Hex, 1/4" - 20 x 3/4", Gr 5

1шт.

120392

WASHER,1/4", SAE

.281 x .625 x .051

1шт.

492-11025

LOCK WASHER,1/4"

WASHER, LOCK, 1/4"

1шт.

120375

NUT,Hex, 1/4" - 20, Gr 5

1шт.

14

671964C1

GASKET

front plate rear

1шт.

15

289862C1

CABLE TIE,3/16" x 7"

STRAP, tie

4шт.

Выбрано товаров: 27