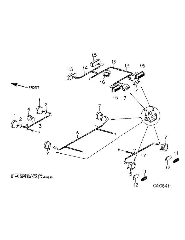
Запчасти Case IH 4786 (08-07) - ELECTRICAL, TRACTOR LIGHTING CONNECTIONS AND MOUNTING (06) - ELECTRICAL

Схема запчастей Case IH 4786 - (08-07) - ELECTRICAL, TRACTOR LIGHTING CONNECTIONS AND MOUNTING (06) - ELECTRICAL
7
11
11
1
14
6
18
12
17
7
2
4
7
15
1
13
15
12
7
5
10
2
9
3
8
15
7
16
15
FIT
1:1
100%

Артикул

Название

Примечание

Количество

1

388945R91

HEADLIGHT

LIGHT ASSY, shockproof head, Only serviceable items are

2шт.

373662R91

LAMP

type C-6 trade #4411 or

1шт.

131508C1

LAMP BASE

LAMP, replacement GE-#H7610

1шт.

676078R1

RETAINER

RING, shockproof light retainer

1шт.

2

388947R1

RETAINER

head lamp

2шт.

120238

JAM NUT,Jam, 1/2"-13, G5

1/2 jam type 5

2шт.

3

121999C1

HARNESS

ASSY, vehicle front

1шт.

4

HORN ASSY, electric, Refer to chassis wiring

1шт.

5

387729R92

LIGHT ASSY.

LIGHT ASSY, shockproof combination rear and tail, Only serviceable items are

1шт.

371461R92

LAMP

sealed beam

1шт.

455490

BULB,C-6, #1003, 12V, .94W

LAMP, type C-6 trade #1003

1шт.

676078R1

RETAINER

RING, light retainer, For JW Hobbs light

1шт.

1252609C1

RETAINER

RING, light retainer, For Midwest Mfg light

1шт.

493-41052

LOCK WASHER,Ext Tooth, 1/2"

1/2 ext lock

1шт.

120378

NUT,Hex, 1/2" - 13, Gr 5

NUT, 1/2"-13, G5

1шт.

377105R1

CONNECTOR, ELEC

CONNECTOR, body

1шт.

6

130703C1

ASSEMBLY

HARNESS ASSY, intermediate

1шт.

For service on this harness refer to electrical harness service kits under P/N 461832C1.

1шт.

7

391005R91

HEADLIGHT

LIGHT ASSY, shockproof flood working, Only serviceable items are

5шт.

373662R91

LAMP

type C-6 trade #4411 or

1шт.

131508C1

LAMP BASE

LAMP, replacement GE-#H7610

1шт.

676078R1

RETAINER

RING, light retainer, For JW Hobbs light

1шт.

1252609C1

RETAINER

RING, light retainer, For Midwest Mfg light

1шт.

530029R91

CONNECTOR, ELEC

CONNECTOR ASSY, headlight, For JW Hobbs light

1шт.

120378

NUT,Hex, 1/2" - 13, Gr 5

NUT, 1/2"-13, G5

5шт.

135629

GATHERING CHAIN

1/2 ext lock

5шт.

387311R1

ROD, CONNECTING

CONNECTOR, body

5шт.

8

390310R11

SUPPORT

ASSY, working light

6шт.

180122

BOLT,Hex, 3/8" - 16 x 1", Gr 5

3/8 x 1 type 5

12шт.

138489

LOCK WASHER,Ext Tooth, 3/8"

WASHER, LOCK, Ext Tooth, 3/8"

12шт.

102635

NUT,3/8"-16, G5

12шт.

9

365503R1

SPACER

working light support

6шт.

10

350920R1

CLAMP

working light support

6шт.

11

533092R1

REFLECTOR

red rear

2шт.

24377R1

SELF-TAP SCREW,Cross Pan Hd, #8 x 1/2"

SCREW, no. 8-18 x 1/2 p/hdcr tap

4шт.

12

69776C1

BRACKET

reflector mounting

2шт.

180122

BOLT,Hex, 3/8" - 16 x 1", Gr 5

3/8 x 1 type 5

3шт.

120394

WASHER,3/8", SAE

WASHER, .406 x .812 x .051

3шт.

9411655

LOCK NUT,3/8"-16, GB

NUT, 3/8 cad p/t lock type 5

3шт.

13

121831C1

HARNESS

ASSY, cab lighting rear

1шт.

14

121944C1

HARNESS ASSY, front warning light

1шт.

15

130882C91

LAMP

LIGHT ASSY, combination flash/turn signal, only serviceable items are

4шт.

130883C1

LENS

combination flash/turn signal

1шт.

9417866

BULB,C6, #1156, 12.8V

LAMP, type C-6 trade #1156

1шт.

27619R1

SELF-TAP SCREW,Cross Pan Hd, #10 x 2 1/2"

SCREW, #10-16 x 2-1/2 phc p/hdcr tap

8шт.

16

70138C92

LIGHT

ASSY, dome

1шт.

132655C1

SPACER

dome light mtg

3шт.

436670

SCREW,Slotted Pan Hd, #6-32 x 1 1/4"

no. 6 x 1-1/4 znp p/hds mach

3шт.

134530

NUT,Hex, #6 - 32

Machine screw #6-32

3шт.

17

122000C1

HARNESS

ASSY, vehicle rear

1шт.

18

121827C1

HARNESS

ASSY, console

1шт.

Выбрано товаров: 51