Запчасти Case IH 4786 (08-12[B]) - ELECTRICAL, WINDSHIELD WIPER MOTOR ASSY AND CONNECTIONS (06) - ELECTRICAL

Схема запчастей Case IH 4786 - (08-12[B]) - ELECTRICAL, WINDSHIELD WIPER MOTOR ASSY AND CONNECTIONS (06) - ELECTRICAL
1
8
2
5
4
9
7
10
6
3
6
FIT
1:1
100%

Артикул

Название

Примечание

Количество

1

CAB ASSY, Refer to group 13

1шт.

2

121827C1

HARNESS

ASSY, console

1шт.

3

109268C2

SWITCH

thermostat

1шт.

109311H

JAM NUT

7/16-28 hex. face

1шт.

4

111282C1

KNOB

thermostat switch

1шт.

5

69452C1

CABLE ASSY.

CABLE ASSY, blower, Serial Range: switch-thermostat

1шт.

6

437882C1

RELAY

A/C lockout

1шт.

7

132564C1

BRACKET

A/C lockout relay mtg

1шт.

120217

LOCK WASHER,#10

WASHER, LOCK, #10

2шт.

120361

NUT,Hex Mach Screw, #10 - 24

2шт.

159920

SCREW,Cross Pan Hd, #10 - 24 x 1/2"

2шт.

8

109369C91

LIGHT ASSY.

LIGHT ASSY, A/C indicator, Only serviceable items

1шт.

71652C1

LENS

1шт.

200557H1

BULB,C2V, #1815, 14V

LAMP, type C-ZV trade #1815

1шт.

9

168822C2

SWITCH

ASSY, pressurizer blower

1шт.

109311H

JAM NUT

7/16-28 hex. face

1шт.

10

111282C1

KNOB

blower switch

1шт.

461835C91

KIT

cable connector, Receptacle, For servicing harness assy, 130971C1, Consists of

1шт.

459330C1

LOCK WASHER

WASHER, lock

1шт.

459329C1

NUT

panel

1шт.

453132C1

PLUG

#8 sealing

1шт.

453133C1

PLUG

#12 sealing

1шт.

447590C1

ROD, CONNECTING

CONTACT, #4 pin

1шт.

447592C1

CONTACT

#8 pin

2шт.

447594C1

CONTACT

#12 pin

6шт.

461827C1

TOOL

extraction

1шт.

461828C1

TOOL

extraction

1шт.

461829C1

TOOL

extraction

1шт.

461832C91

KIT, cable connector, Socket, For servicing harness assy, 130703C1, Consists of

1шт.

453132C1

PLUG

#8 sealing

1шт.

453133C1

PLUG

#12 sealing

1шт.

447593C1

CONTACT

#8 socket

2шт.

447595C1

CONTACT

#12 socket

6шт.

447591C1

ROD, CONNECTING

CONTACT, #14 socket

1шт.

461827C1

TOOL

extraction

1шт.

461828C1

TOOL

extraction

1шт.

461829C1

TOOL

extraction

1шт.

131500C91

KIT

cable connector, 24 pin receptacle, For servicing harness assy, 130970C1, Consists of

1шт.

131497C1

ANCHOR

CONNECTOR, 24 pin receptacle

1шт.

131499C1

CLAMP

ASSY, cable

1шт.

131493C1

CONTACT

18 ga. pin

20шт.

131494C1

CONTACT

16 ga. pin

2шт.

131503C1

TOOL

extraction

1шт.

131501C91

KIT

cable connector, 24 socket plug, For servicing harness assy, 131014C1, Consists of

1шт.

131498C1

ELEC CONNECTOR

CONNECTOR, 24 pin plug

1шт.

131499C1

CLAMP

ASSY, cable

1шт.

131495C1

CONTACT

18 ga. socket

20шт.

131496C1

CONTACT

16 ga. socket

2шт.

131503C1

TOOL

extractor

1шт.

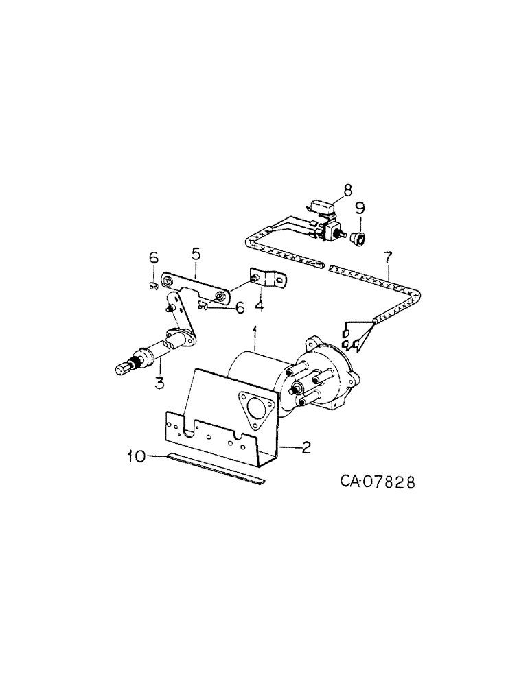
1267548C91

WIPER MOTOR

MOTOR ASSY, windshield wiper, Replaces motor assy, 109223C91, motor, 143417C1, and mtg bracket 923480C1

1шт.

1

MOTOR, windshield wiper, Not serviced separately, Order motor assy, 1267548C91

1шт.

2

BRACKET, mounting, Not serviced separately, Order motor assy, 1267548C91

1шт.

923479C1

BOLT

SCREW

3шт.

118125C1

NUT

lock

1шт.

148074R1

WASHER

2шт.

118129C1

SCREW

W/LOCK WASHER

2шт.

3

SHAFT AND PIVOT ASSY, (Not serviced separately, Order linkage kit, 1267542C91)

1шт.

1267556C1

BUTTON

NUT, knurled driver, Replaces 3016057R1

1шт.

27987R1

SCREW, 1/4NF x 1/2 znp p/hds mach

1шт.

4

ARM ASSY, drive, (Not serviced separately, Order linkage kit, 1267542C91)

1шт.

5

LINK ASSY, connecting, (Not serviced separately, Order linkage kit, 1267542C91)

1шт.

6

739487C1

CLIP

spring

2шт.

7

143340C1

HARNESS

ASSY, windshield wiper

1шт.

8

109222C1

SWITCH

W/CIRCUIT BREAKER, windshield wiper

1шт.

109311H

JAM NUT

7/16-28 hex. face

1шт.

9

111282C1

KNOB

wiper control

1шт.

10

NOT USED IN THIS APPLICATION

1шт.

239805R1

TERMINAL CONNECTOR

TERMINAL, locking, For motor assy, 109223C91

2шт.

239808R1

CONNECTOR, ELEC

CONNECTOR, for motor assy, 109223C91

1шт.

1267542C91

PACKAGE

KIT, wiper linkage service, Consists of ref nos 3 thru 6

1шт.

Выбрано товаров: 70