Запчасти Case IH 4786 (10-06) - HYDRAULICS, HYDRAULIC POWER STEERING (07) - HYDRAULICS

Схема запчастей Case IH 4786 - (10-06) - HYDRAULICS, HYDRAULIC POWER STEERING (07) - HYDRAULICS
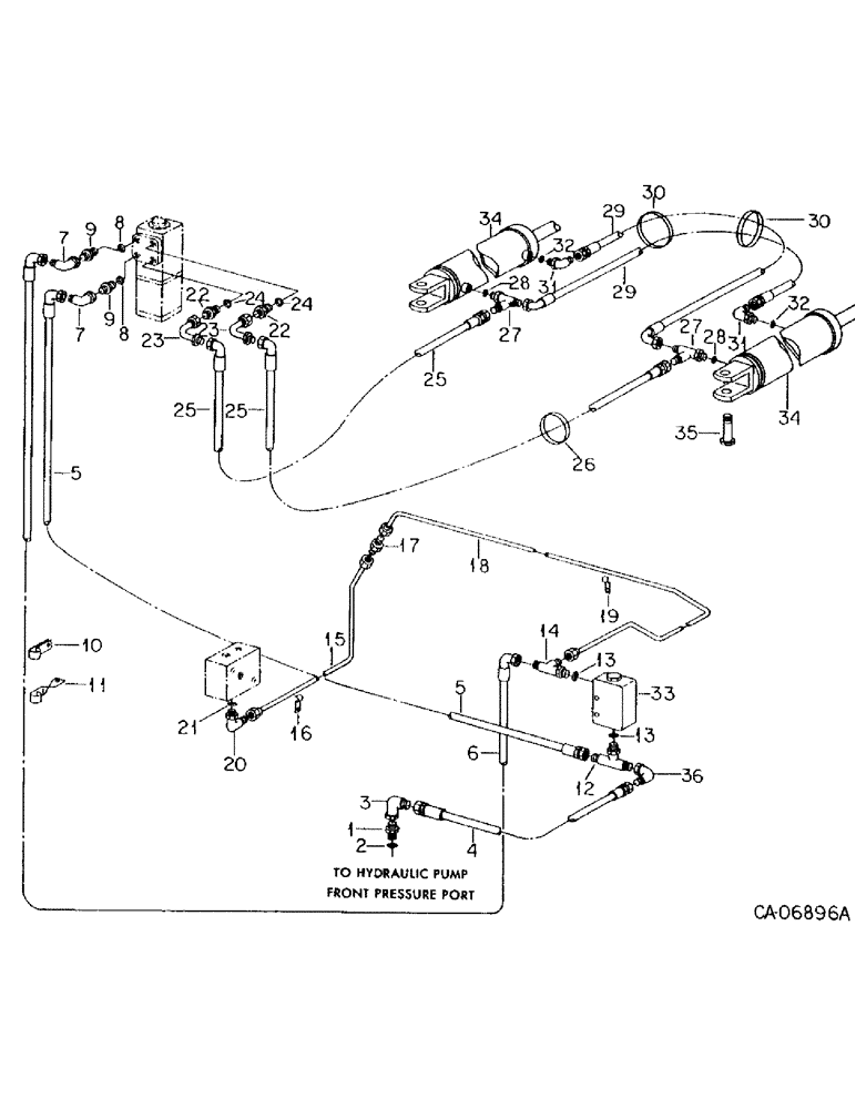
1
3
9
25
27
30
15
32
26
28
34
20
25
25
5
9
14
8
23
35
5
29
29
32
11
27
4
7
36
16
10
30
8
19
31
7
31
12
33
34
23
24
28
13
21
18
13
22
22
17
6
24
2
FIT
1:1
100%

Артикул

Название

Примечание

Количество

1

222648H1

HYD CONNECTOR,7/8"-14, 37 Degree x 1 5/16"-12, O-Ring

CONNECTOR, 7/8-14 37 deg hyd flared tube short reducer pump frt port

1шт.

2

296247R1

O-RING,16-1, 90 Duro, 1.171" ID x .116" Thk

1.0 OD tube

1шт.

3

9410282

ELBOW,90 Degree, 7/8"-14, 37 Degree x 7/8"-14, 37 Degree Fem Sw

7/8-14 37 deg hyd flared tube 90 deg swivel pump front port

1шт.

4

116666C1

HOSE ASSY.

HOSE ASSY, pump to steering relief valve

1шт.

5

116666C1

HOSE ASSY.

HOSE ASSY, steering relief, Serial Range: valve-Orbitrol

1шт.

6

123336C1

HOSE ASSY.

HOSE ASSY, steering pump to valve, Serial Range: -944

1шт.

6

142154C1

HOSE

ASSY, steering pump to valve, Serial Range: 945-2500

1шт.

6

147166C1

HOSE ASSY.

HOSE ASSY, hand pump to brake regulator valve, Start Serial: 2501

1шт.

7

9410282

ELBOW,90 Degree, 7/8"-14, 37 Degree x 7/8"-14, 37 Degree Fem Sw

7/8-14 37 deg hyd flared tube, Swivel RH-Orbitrol, In & out ports, Serial Range: -2500

2шт.

8

570828R1

O-RING,0.087" Thk x 0.644" ID, -908, Cl 6, 90 Duro

1/2 OD tube

2шт.

9

384539R1

HYD CONNECTOR,7/8"-14, 37 Degree x 3/4"-16, O-Ring

CONNECTOR, 7/8-14 37 deg hyd, flared tube short reducer

2шт.

10

127342C1

CLAMP

hand pump to steering relief valve hose, Serial Range: -944

1шт.

120394

WASHER,3/8", SAE

WASHER, .406 x .812 x .051

1шт.

11

127342C1

CLAMP

hand pump to steering relief valve hose

1шт.

131016

WASHER

.656 x 1.312 x .074

1шт.

12

9411119

TEE,7/8"-14, 37 Degree x 7/8"-14, O-Ring Br

7/8-14 deg hyd flared tube adj str thd strg relief valve primary bottom

1шт.

13

364885R1

O-RING,0.097" Thk x 0.755" ID, -910, Cl 6, 90 Duro

5/8 OD tube

2шт.

14

9411132

TEE,7/8"-14, 37 Degree x 7/8"-14, O-Ring Run

7/8-14 37 deg hyd flared tube adj str thd 90 deg strg relief valve, Primary side, Serial Range: -944

1шт.

14

9401978

ELBOW, 7/8-14 37 deg hyd flrd tube adj str thd 90 deg strg relief valve primary side, Start Serial: 945

1шт.

15

134773C1

TUBE

ASSY, steering relief valve supply bottom

1шт.

16

470453R1

CLIP

steering relief tube bottom

2шт.

231-4144

NUT,1/4"-20, GB

NUT, 1/4 cad p/t lock type 5

2шт.

17

9402788

UNION,7/8"-14, 37 Degree x 7/8"-14, 37 Degree

steering relief tube

1шт.

18

134772C2

TUBE

ASSY, strg relief valve supply top

1шт.

19

470453R1

CLIP

strg relief tube top

2шт.

231-4144

NUT,1/4"-20, GB

NUT, 1/4 cad p/t lock type 5

2шт.

20

9410978

ELBOW,90 Degree, 7/8"-14, 37 Degree x 7/8"-14, O-Ring

7/8-14, Serial Range: -944

1шт.

20

9411132

TEE,7/8"-14, 37 Degree x 7/8"-14, O-Ring Run

brake regulator, Start Serial: 945

1шт.

21

364885R1

O-RING,0.097" Thk x 0.755" ID, -910, Cl 6, 90 Duro

5/8 OD tube

2шт.

22

9410203

HYD CONNECTOR,3/4"-16, 37 Degree x 3/4"-16, O-Ring

CONNECTOR, 3/4-16 37 deg hyd flared, Tube short swivel Orbitrol L & R ports

2шт.

23

142178C1

ADAPTER, 3/4-16 90 deg tube, Orbitrol port LH & RH ports

2шт.

24

570828R1

O-RING,0.087" Thk x 0.644" ID, -908, Cl 6, 90 Duro

1/2 OD tube

2шт.

25

109941C1

HOSE

ASSY, strg pump to cyl tee

2шт.

26

289862C1

CABLE TIE,3/16" x 7"

STRAP, tie

1шт.

27

9411131

TEE,3/4"-16, 37 Degree x 3/4"-18, O-Ring Run

3/4-16 37 deg hyd flared tube, adj str thd 90 deg strg cyl front port

2шт.

28

570828R1

O-RING,0.087" Thk x 0.644" ID, -908, Cl 6, 90 Duro

1/2 OD tube

2шт.

29

124948C1

HYDRAULIC HOSE

HOSE ASSY, Serial Range: cyl-cyl

2шт.

30

289862C1

CABLE TIE,3/16" x 7"

STRAP, tie

4шт.

31

9410977

ELBOW,90 Degree, 3/4"-16, 37 Degree x 3/4"-16, O-Ring

3/4-16 37 deg hyd flared tube adj str-thd 90 deg strg cyl rear port

2шт.

32

570828R1

O-RING,0.087" Thk x 0.644" ID, -908, Cl 6, 90 Duro

1/2 OD tube steering cyl rear port

2шт.

33

60053C91

VALVE ASSY, steering relief, Refer to steering relief valve block assy, For list of components

1шт.

180138

BOLT,Hex, 3/8" - 16 x 3", Gr 5

3/8 x 3 type 5

2шт.

120382

LOCK WASHER,Helical Spring, 3/8"

WASHER, LOCK, 3/8"

2шт.

120377

NUT,3/8" - 16, Gr 5

2шт.

34

113837C91

CYLINDER

ASSY, steering, For components, See list of parts detailed of steering cylinders

1шт.

35

127335C1

BOLT,Hex, 1 1/8" - 12 x 4", Drilled

BOLT, steering cylinder

4шт.

425-1918

SLOTTED NUT,1 1/8"-12, G5, Thk

NUT, 1-1/8-12 slt

4шт.

432-1240

COTTER PIN,3/16" x 2 1/2"

Pin, Split (Cotter), 3/16" x 2 1/2"

4шт.

21716R1

WASHER

1.156 x 1.750 x .054

4шт.

36

9410282

ELBOW,90 Degree, 7/8"-14, 37 Degree x 7/8"-14, 37 Degree Fem Sw

7/8-14 37 deg hyd flared tube

1шт.

Выбрано товаров: 50