Запчасти Case IH 4890 (6-170) - RANGE SHIFT LINKAGE (06) - POWER TRAIN

Схема запчастей Case IH 4890 - (6-170) - RANGE SHIFT LINKAGE (06) - POWER TRAIN
28
3
16
10
3
27
18
5
19
6
2
25
4
19
10
16
4
14
15
29
5
18
26
9
8
12
11
24
7
10
26
11
24
25
17
23
4
1
FIT
1:1
100%

Артикул

Название

Примечание

Количество

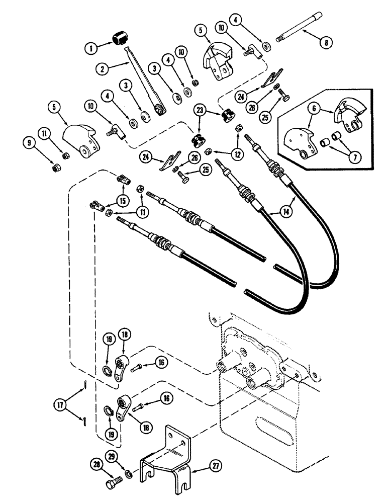
1

A137806

KNOB

- hand lever

1шт.

2

A137857

LEVER

- control

1шт.

3

A59662

WASHER

- beveled

2шт.

4

A60367

SPACER

- quadrant

3шт.

5

A143835

QUADRANT

- range shift (Replaces A61862)

2шт.

6

A61862

QUADRANT

ASSEMBLY - range shift (Order A143835)

2шт.

7

A59429

BUSHING,15.95mm ID x 19.13mm OD x 12.83mm L

- pivot (Used with ref 6)

1шт.

8

A75377

SHAFT

- control lever and quadrant

1шт.

9

131-10

NUT,1/2"-13, GB

NUT, LOCK, 1/2"-13, GB

1шт.

10

D38296

JOINT

- ball, Serial Range: cable-quadrant

2шт.

11

131-5

LOCK NUT,3/8"-16, GB

NUT - lock, 3/8" NC

2шт.

12

86585245

SPECIAL NUT,JAM, 5/8" - 18

- 3/8" NF hex. jam

4шт.

14

A145335

CABLE

- range control

2шт.

15

T40057

YOKE

- control, Serial Range: cable-lever

2шт.

16

141-54

CLEVIS PIN,3/8" x 1 1/16"

2шт.

17

132-26

COTTER PIN

Pin, Split (Cotter), 3/32" x 3/4"

2шт.

18

A153022

LEVER

- outer, shift lever shaft

2шт.

19

B18208

SNAP RING,#100, Ext

shift lever #100, Ext

2шт.

23

A152513

GROMMET

- firewall, control cable

2шт.

24

A152516

BRACKET

- grommet clamp

2шт.

25

113-209

BOLT,Hex, 3/8" - 16 x 1-1/2", Gr 5

2шт.

26

192-21

LOCK WASHER,3/8"

WASHER, LOCK, 3/8"

2шт.

27

A161220

BRACKET

BULKHEAD - control cable

1шт.

28

13-1028

BOLT,Hex, 5/8" - 11 x 1-3/4", Gr 5, Full Thd

2шт.

29

92-10

LOCK WASHER,5/8"

WASHER, LOCK, 5/8"

2шт.

Выбрано товаров: 25