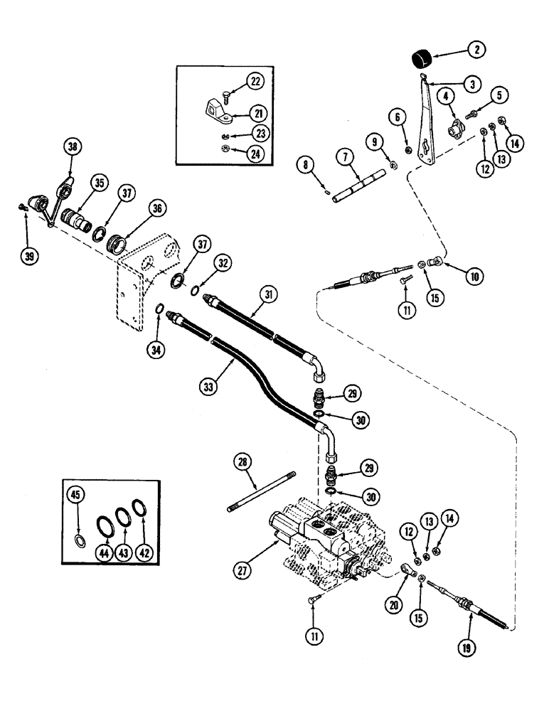
Запчасти Case IH 4890 (8-298) - REMOTE HYDRAULIC ATTACHMENT, THIRD CIRCUIT, P.I.N. 8860450 & AFTER (08) - HYDRAULICS

Схема запчастей Case IH 4890 - (8-298) - REMOTE HYDRAULIC ATTACHMENT, THIRD CIRCUIT, P.I.N. 8860450 & AFTER (08) - HYDRAULICS
30
27
37
38
22
7
9
13
14
11
12
23
3
39
12
43
29
15
30
35
32
15
10
37
44
36
2
21
19
31
29
28
20
6
5
34
4
42
24
8
33
13
14
11
45
FIT
1:1
100%

Артикул

Название

Примечание

Количество

A77389

ATTACHMENT - remote hydraulics (Machinery item), Includes: Ref. 2 - 45

1шт.

2

A137806

KNOB

- hand lever

1шт.

3

A162361

LEVER

- third remote circuit, inner rear

1шт.

4

A162299

BEARING,15.95mm ID

- lever pivot

1шт.

5

113-3

BOLT,Hex, 1/4" - 20 x 3/4", Gr 5

2шт.

6

131-1180

LOCK NUT,1/4"-20, GA

NUT, LOCK, 1/4"-20, GA

2шт.

7

A162325

SHAFT

-, Serial Range: lever-console

1шт.

8

178-24

SET SCREW,Hex Soc, 1/4"-20 x 1/4"

SCREW - 1/4 x 1/4" NC headless set

1шт.

9

A27785

CIRCLIP,#62, .480" Dia, E-Type

Ring, Retaining, #62, .480" Dia, E-Type

2шт.

10

A10329

BALL JOINT,1/4" - 28 x 1"

-, Serial Range: cable-lever

1шт.

11

A148510

BOLT

- 1/4" NC shoulder

2шт.

12

195-518

WASHER,1/4", SAE

- 9/32 x 5/8 x 5/64" (7.14 x 15.87 x 1.98 mm)

2шт.

13

192-19

LOCK WASHER,Helical Spring, 0.256" ID, CST, ZND

WASHER, LOCK, 1/4"

2шт.

14

7770

NUT,Hex, 1/4 - 20, Cl 5

1/4"-20, G5

2шт.

15

425-154

JAM NUT,Jam, 1/4"-28, G5

2шт.

19

A152757

CABLE

ASSEMBLY - control

1шт.

20

A146456

BALL

JOINT - cable to valve spool

1шт.

21

A141542

LEVER

TAB - lever, float position

1шт.

22

113-66

BOLT,Hex, 1/4" - 20 x 3/4", Gr 5, Full Thd

1шт.

23

192-19

LOCK WASHER,Helical Spring, 0.256" ID, CST, ZND

WASHER, LOCK, (Replaces A160353) 1/4"

1шт.

24

131-1180

LOCK NUT,1/4"-20, GA

NUT, LOCK, 1/4"-20, GA

1шт.

27

REF

INSTRUCTION

BODY ASSEMBLY - remote valve (See Figure 8-306)

1шт.

28

A147507

STUD

- valve body, 3/8" NC x 9-7/8"

3шт.

29

218-5062

HYD CONNECTOR,7/8"-14, 37 Degree x 7/8"-14, O-Ring

CONNECTOR ASSEMBLY - straight, Includes: Ref. 30

2шт.

30

237-6010

O-RING,0.097" Thk x 0.755" ID, -910, Cl 6, 90 Duro

- 3/4 x 3/32" (19.05 x 2.38 MM)

1шт.

31

A162486

HOSE

ASSEMBLY - valve to coupling, 2-1/2" long (520.7 MM), Includes: Ref. 32

1шт.

32

237-6010

O-RING,0.097" Thk x 0.755" ID, -910, Cl 6, 90 Duro

- 3/4 x 3/32" (19.05 x 2.38 MM)

1шт.

33

A162487

HOSE

ASSEMBLY - valve to coupling, 23" (584.2 MM), Includes: Ref. 34

1шт.

34

237-6010

O-RING,0.097" Thk x 0.755" ID, -910, Cl 6, 90 Duro

- 3/4 x 3/32" (19.05 x 2.38 MM)

1шт.

35

A147741

COUPLING, BREAK AWAY

COUPLING ASSEMBLY - breakaway

2шт.

36

A149221

RETAINER

-, Serial Range: coupling-plate

2шт.

37

A137976

SNAP RING,#150, 1.408", Ext

RING - retaining snap

4шт.

38

A145468

PLUG

- coupler dust

1шт.

39

A162364

FASTENER

- dust plug

1шт.

42

A47696

O-RING,0.139" Thk x 0.734" ID, -210, Cl 6, 90 Duro

- 3/4 x 1/8" (19.05 x 3.17 MM)

5шт.

43

A58602

O-RING,0.103" Thk x 0.924" ID, -119, Cl 5, 75 Duro

- 15/16 x 3/32" (23.81 x 2.38 MM)

10шт.

44

A47226

O-RING,0.139" Thk x 0.984" ID, -214, Cl 6, 90 Duro

- 1 x 1/8" (25.4 x 3.17 MM)

5шт.

45

D77566

SHIM,.0030" Thk

1/2" ID x 3/4" OD (12.7 x 19.05 x 0.008 mm) .0030" Thk

5шт.

Выбрано товаров: 38