Запчасти Case IH 4890 (8-308) - REMOTE VALVE BODY ASSEMBLY, ADD ON FOR THIRD OR FOURTH CIRCUIT (08) - HYDRAULICS

Схема запчастей Case IH 4890 - (8-308) - REMOTE VALVE BODY ASSEMBLY, ADD ON FOR THIRD OR FOURTH CIRCUIT (08) - HYDRAULICS
57
68
45
54
37
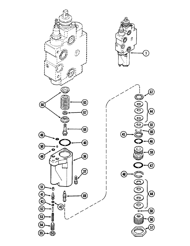
1
60
46
66
40
44
47
61
62
69
58
51
59
49
52
56
41
36
50
65
43
42
44
53
49
55
67
48
FIT
1:1
100%

Артикул

Название

Примечание

Количество

1

A162213

HOUSING

BODY ASSEMBLY - remote hydraulic control valve (Replaces A143991) (Continued from Figure 8-306), Includes: Ref. 36 - 69 and 2 - 36 on Figure 8-306

1шт.

36

A47655

HOUSING

ASSEMBLY - detent

1шт.

37

61-416

HEX SOC SCREW,1/4"-20 x 1"

SCREW - cap, 1/4 x 1" NC socket head

3шт.

A47572

KIT

- seal, detent housing, Includes: Ref. 40 - 49

1шт.

40

A59066

O-RING,1.239" ID x 1.379" OD

- 1-1/4 x 1-3/8 x 1/16" (31.75 x 35.05 x 1.52 MM)

1шт.

41

A47192

SPOOL

POPPET - pilot

1шт.

42

A51274

O-RING,0.145" ID x 0.285" OD

- 5/32 x 9/32 x 1/16" (4.06 x 7.4 x 1.52 MM)

1шт.

43

D54860

RING

- back up

1шт.

44

D78437

WASHER

- dished

7шт.

45

A47100

RING

- backup

1шт.

46

R15366

O-RING,7/8" ID x 1" OD x 1/16"

- 7/8 x 1 x 1/16" (22.35 x 25.4 x 1.52 MM)

1шт.

47

R15365

O-RING,0.989" ID x 1.129" OD x 0.07"

- 1 x 1-1/8 x 1/16" (25.4 x 28.21 x 1.52 MM)

1шт.

48

C14656

RING

- backup

1шт.

49

A138385

O-RING,0.07" Thk x 0.301" ID, -11, Cl 6, 90 Duro

- 5/16 x 7/16 x 1/16" (7.87 x 11.18 x 1.52 MM)

2шт.

50

NSS

NOT SOLD SEPARAT

PLUG - orifice

1шт.

51

A47201

SEAT

- pilot

1шт.

52

A47104

PIN

- spring guide

1шт.

53

D78468

SPRING

- pilot

1шт.

54

A47173

SCREW,3/8" - 24 x 0.96"

- adjusting, 3/8 x 31/32" NF

1шт.

55

129-528

NUT

- 3/8" NF hex.

1шт.

56

A47211

PLUG

- detent adjusting

1шт.

57

A47175

LOCK NUT

NUT - lock

1шт.

58

A47206

FILTER

- float

1шт.

59

A47207

PISTON

- float

1шт.

60

211-256

BALL

- chrome steel, 7/32" diameter (5.56 MM)

7шт.

61

A47198

RETAINER

- ball

1шт.

62

D78438

WASHER

- detent, spring washer

1шт.

A47573

KIT

- detent centering spring, Includes: Ref. 65 - 69

1шт.

65

A47177

SPRING

- detent, 1" OD x 2-1/2" free length (25.4 x 63.5 MM)

1шт.

66

A47197

RETAINER

- spring

2шт.

67

A47199

BUSHING

SPACER - detent

1шт.

68

A47193

COUPLING, BREAK AWAY

COUPLER - detent

1шт.

69

A47190

SHAFT

- pivot, detent

1шт.

Выбрано товаров: 0